摘 要:本发明公开了一种纺织生产用亚麻纤维油剂养生装置,包括:纤维养生室、纤维输送系统、油剂喷洒系统和油剂回收系统;纤维输送系统设置于纤维养生室外部,并与纤维养生室的入口对应设置;油剂喷洒系统包括油剂储存罐、输油管、高压泵和多组高压雾化喷嘴;油剂储存罐设置于纤维养生室外部;多组高压雾化喷嘴设置于纤维养生室内部入口处;高压雾化喷嘴通过输油管和高压泵与油剂储存罐相连通。本发明通过输送带将亚麻纤维运送至密闭的纤维养生室中,并通过高压雾化喷嘴将油剂均匀喷洒至亚麻纤维上,不仅可以提高工作效率,而且可以确保油剂均匀分布,并通过油剂回收系统对滴落的油剂进行回收,可以节约资源,降低生产成本。
权利要求书
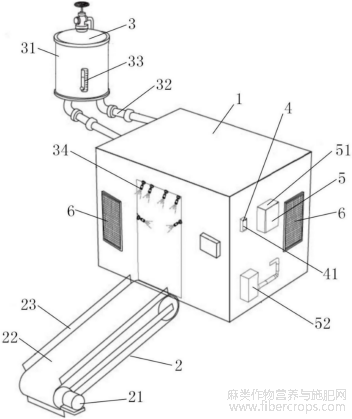
1.一种纺织生产用亚麻纤维油剂养生装置,其特征在于,包括:纤维养生室(1)、纤维输送系统(2)、油剂喷洒系统(3)和油剂回收系统(4);所述纤维输送系统(2)设置于所述纤维养生室(1)外部,并与所述纤维养生室(1)的入口对应设置;
所述油剂喷洒系统(3)包括油剂储存罐(31)、输油管(32)、高压泵和多组高压雾化喷嘴(34);所述油剂储存罐(31)设置于所述纤维养生室(1)外部;多组所述高压雾化喷嘴(34)设置于所述纤维养生室(1)内部入口处;所述高压雾化喷嘴(34)通过所述输油管(32)和所述高压泵与所述油剂储存罐(31)相连通。
2.根据权利要求1所述的一种纺织生产用亚麻纤维油剂养生装置,其特征在于,所述高压雾化喷嘴(34)通过旋转支架安装于纤维养生室(1)内部入口处,用以调节所述高压雾化喷嘴(34)的喷射角度。
3.根据权利要求1所述的一种纺织生产用亚麻纤维油剂养生装置,其特征在于,所述油剂储存罐(31)上设有液位计(33),用于实时监测油剂的液压高度。
4.根据权利要求1所述的一种纺织生产用亚麻纤维油剂养生装置,其特征在于,所述油剂储存罐(31)内部设有搅拌装置;所述搅拌装置包括搅拌电机、搅拌轴和搅拌桨;所述搅拌电机设置于所述油剂储存罐(31)顶部;所述搅拌轴设置于所述油剂储存罐(31)内部;所述搅拌轴的一端与所述搅拌电机的输出端相连;所述搅拌桨设置于所述搅拌轴上。
5.根据权利要求1所述的一种纺织生产用亚麻纤维油剂养生装置,其特征在于,还包括温湿度调节系统(5);所述温湿度调节系统(5)包括温度传感器、湿度传感器、加热器(51)和加湿器(52);所述温度传感器和所述湿度传感器设置于所述纤维养生室(1)内部;所述加热器(51)和所述加湿器(52)设置于所述纤维养生室(1)上。
6.根据权利要求1所述的一种纺织生产用亚麻纤维油剂养生装置,其特征在于,所述纤维输送系统(2)包括主动辊、从动辊、驱动电机(21)、输送带(22)和机架;所述主动辊和所述从动辊分别转动连接于所述机架两侧;所述输送带(22)套设于所述主动辊和所述从动辊外侧;所述驱动电机(21)设置于所述机架上;所述主动辊的一端与所述驱动电机(21)的输出端相连接。
7.根据权利要求6所述的一种纺织生产用亚麻纤维油剂养生装置,其特征在于,所述输送带(22)两侧设有多个导向辊(23);所述导向辊(23)的轴线与所述输送带(22)的运行方向垂直。
8.根据权利要求1所述的一种纺织生产用亚麻纤维油剂养生装置,其特征在于,所述油剂回收系统(4)包括集油槽、导流板和回收泵(41);所述导流板设置于所述纤维养生室(1)内部;所述导流板位于所述高压雾化喷嘴(34)下方;所述集油槽设置于所述导流板下方;所述回收泵(41)通过回收管道与所述集油槽连通。
9.根据权利要求1所述的一种纺织生产用亚麻纤维油剂养生装置,其特征在于,所述纤维养生室(1)侧面设有通风口;所述通风口上设有空气过滤网(6)。
技术领域
本发明涉及纺织纤维预处理技术领域,更具体地说是涉及一种纺织生产用亚麻纤维油剂养生装置。
背景技术
亚麻纤维是一种天然纤维,被誉为“天然纤维中的纤维皇后”,具有吸湿性、透气性好的优点,广泛用于纺织领域。亚麻纤维中纤维素含量为60%~70%,半纤维素含量为15%~18%,其他物质主要为果胶、木质素、脂蜡质和灰分等。而木质素和半纤维素的存在会影响纤维的可纺性。因此亚麻纤维在纺织加工过程中需要对其进行脱胶、养生处理,以改善纤维的可纺性。
亚麻纤维在纺织加工过程中,需要进行养生处理,可以提高纤维的强力、伸长率,改善纤维表面粗糙度,进而消除纤维的内应力,提高亚麻纤维的可纺性。传统的养生方式多为人工喷洒液体或简单浸泡,效率低且不均匀,容易导致纤维受损或性能不一致。
发明内容
有鉴于此,本发明提供了一种纺织生产用亚麻纤维油剂养生装置,目的就是为了解决现有技术中存在的问题。
为解决上述技术问题,本发明采取了如下技术方案:
一种纺织生产用亚麻纤维油剂养生装置,包括:纤维养生室、纤维输送系统、油剂喷洒系统和油剂回收系统;所述纤维输送系统设置于所述纤维养生室外部,并与所述纤维养生室的入口对应设置;所述油剂喷洒系统包括油剂储存罐、输油管、高压泵和多组高压雾化喷嘴;所述油剂储存罐设置于所述纤维养生室外部;多组所述高压雾化喷嘴设置于所述纤维养生室内部入口处;所述高压雾化喷嘴通过所述输油管和所述高压泵与所述油剂储存罐相连通。
优选地,所述高压雾化喷嘴通过旋转支架安装于纤维养生室内部入口处,用以调节所述高压雾化喷嘴的喷射角度。
优选地,所述油剂储存罐上设有液位计,用于实时监测油剂的液压高度。
优选地,所述油剂储存罐内部设有搅拌装置;所述搅拌装置包括搅拌电机、搅拌轴和搅拌桨;所述搅拌电机设置于所述油剂储存罐顶部;所述搅拌轴设置于所述油剂储存罐内部;所述搅拌轴的一端与所述搅拌电机的输出端相连;所述搅拌桨设置于所述搅拌轴上。
优选地,还包括温湿度调节系统;所述温湿度调节系统包括温度传感器、湿度传感器、加热器和加湿器;所述温度传感器和所述湿度传感器设置于所述纤维养生室内部;所述加热器和所述加湿器设置于所述纤维养生室上。
优选地,所述纤维输送系统包括主动辊、从动辊、驱动电机、输送带和机架;所述主动辊和所述从动辊分别转动连接于所述机架两侧;所述输送带套设于所述主动辊和所述从动辊外侧;所述驱动电机设置于所述机架上;所述主动辊的一端与所述驱动电机的输出端相连接。
优选地,所述输送带两侧设有多个导向辊;所述导向辊的轴线与所述输送带的运行方向垂直。
优选地,所述油剂回收系统包括集油槽、导流板和回收泵;所述导流板设置于所述纤维养生室内部;所述导流板位于所述高压雾化喷嘴下方;所述集油槽设置于所述导流板下方;所述回收泵通过回收管道与所述集油槽连通。
优选地,所述纤维养生室侧面设有通风口;所述通风口上设有空气过滤网。
本发明相对于现有技术取得了以下技术效果:
1)本发明通过输送带将亚麻纤维运送至密闭的纤维养生室中,并通过高压雾化喷嘴将油剂均匀喷洒至亚麻纤维上,不仅可以提高工作效率,而且可以确保油剂均匀分布。
2)本发明在养生过程中通过温湿度调节系统调节养生环境,可以确保养生过程中的湿度和温度稳定,缩短养生时间,达到更好的养生效果。
3)本发明通过导流板将滴落的油剂引入集油槽中,并经过过滤后通过回收泵将油剂输送至油剂储存罐,实现油剂的回收利用,可以节约资源,降低生产成本。
附图说明
图1为本发明一种纺织生产用亚麻纤维油剂养生装置的结构示意图;
图中:1、纤维养生室;2、纤维输送系统;21、驱动电机;22、输送带;23、导向辊;3、油剂喷洒系统;31、油剂储存罐;32、输油管;33、液位计;34、高压雾化喷嘴;4、油剂回收系统;
41、回收泵;5、温湿度调节系统;51、加热器;52、加湿器;6、空气过滤网。
具体实施方式
下面将结合本发明实施例中的附图,对本发明实施例中的技术方案进行清楚、完整地描述,显然,所描述的实施例仅仅是本发明一部分实施例,而不是全部的实施例。基于本发明中的实施例,本领域普通技术人员在没有做出创造性劳动前提下所获得的所有其他实施例,都属于本发明保护的范围。
实施例
参照图1所示,本发明公开了一种纺织生产用亚麻纤维油剂养生装置,包括:纤维养生室1、纤维输送系统2、油剂喷洒系统3和油剂回收系统4;纤维输送系统2设置于纤维养生室1外部,并与纤维养生室1的入口对应设置;油剂喷洒系统3包括油剂储存罐31、输油管
32、高压泵和多组高压雾化喷嘴34;油剂储存罐31设置于纤维养生室1外部;多组高压雾化喷嘴34设置于纤维养生室1内部入口处;高压雾化喷嘴34通过输油管32和高压泵与油剂储存罐31相连通;在使用时,首先通过纤维输送系统2将待处理的亚麻纤维输送至纤维养生室1内,在输送过程中,高压泵将油剂储存罐31中的油剂抽入输油管32并通过高压雾化喷嘴34均匀地喷洒在亚麻纤维表面,多余的油剂则通过油剂回收系统进行回收利用。
在本实施例中,纤维养生室1内部入口处安装有旋转支架;高压雾化喷嘴34安装于旋转支架上,可以实现倾角自动调节,从而适应不同厚度亚麻纤维。
在本实施例中,油剂储存罐31上设有液位计33,用于实时监测油剂的液压高度,以便工作人员及时补充油剂,确保油剂喷洒系统正常运行。
在本实施例中,油剂储存罐31内部设有搅拌装置;搅拌装置包括搅拌电机、搅拌轴和搅拌桨;搅拌电机设置于油剂储存罐31顶部;搅拌轴设置于油剂储存罐31内部;搅拌轴的一端与搅拌电机的输出端相连;搅拌桨设置于搅拌轴上;在使用时,通过搅拌电机带动搅拌轴和搅拌桨对油剂储存罐31内的油剂进行搅拌,防止油剂中的有效成分沉淀或分层。
在本实施例中,还包括温湿度调节系统5;温湿度调节系统5包括温度传感器、湿度传感器、加热器51和加湿器52;温度传感器和湿度传感器设置于纤维养生室1内部,用于实时监测纤维养生室1内的温度和湿度;加热器51和加湿器52设置于纤维养生室1上,用于调节纤维养生室1内部的温度和湿度;在使用时,加热器51和加湿器5根据温度传感器和湿度传感器的反馈信号,自动调节纤维养生室1内的温度和湿度,确保养生环境的稳定性。
在本实施例中,纤维输送系统2包括主动辊、从动辊、驱动电机21、输送带22和机架;主动辊和从动辊分别转动连接于机架两侧;输送带22套设于主动辊和从动辊外侧;驱动电机21设置于机架上;主动辊的一端与驱动电机21的输出端相连接。
在本实施例中,输送带22两侧设有多个导向辊23;导向辊23的轴线与输送带22的运行方向垂直;导向辊23的表面光滑,转动灵活,采用轴承结构,用以减少摩擦和磨损。
在本实施例中,油剂回收系统4包括集油槽、导流板和回收泵41;导流板设置于纤维养生室1内部;导流板位于高压雾化喷嘴34下方;集油槽设置于导流板下方;回收泵41通过回收管道与集油槽底部的出油口连通;在使用时,通过导料板引导滴落的油剂流入集油槽,并通过回收泵41和回收管道抽出进行回收利用。
在本实施例中,导流板倾斜设置于纤维养生室1内,倾斜角度为5°_10°。
在本实施例中,纤维养生室1侧面设有通风口;通风口上设有空气过滤网6,不仅有利于纤维养生室1内空气流通,而且可以防止灰尘等杂质进入纤维养生室1内而对亚麻纤维和油剂造成污染。
在本实施例中,纤维养生室1由双层舱体组成,外层舱体为不锈钢框架,内层舱体覆盖有聚氨酯保温层,舱门采用气密式设计,减少热量散失。
在本实施例中,驱动电机21采用变频电机,以便能够根据生产需求调节输送速度。
在另外一些实施例中,主动辊和从动辊的表面设有柔性橡胶层;机架上设有张力调节装置,用于调节输送带张紧力。
在另外一些实施例中,高压雾化喷嘴34的喷幅宽度可调。
本发明的纺织生产用亚麻纤维油剂养生装置工作原理:
首先将待处理的亚麻纤维放置在纤维输送系统2的输送带22上,输送带22在驱动电机21的驱动下将亚麻纤维以恒定的速度输送至纤维养生室1内,在输送过程中,油剂喷洒系统3的高压雾化喷嘴34按照预设的喷洒程序和时间间隔,将油剂均匀地喷洒在亚麻纤维的表面,然后养生室内的温湿度调节系统协同作用,使油剂能够充分渗透到亚麻纤维内部,在养生处理过程中,从亚麻纤维表面滴落的多余油剂通过集油槽收集,并经过过滤后由回收泵41输送回油剂储存罐31中,实现油剂的循环利用,经过养生处理后的亚麻纤维从纤维养生室1的出料端输出,完成整个养生处理过程。
以上所述,仅是本发明较佳实施例而已,并非对本发明的技术范围作任何限制,故凡是依据本发明的技术实质对以上实施例所作的任何细微修改、等同变化与修饰,均仍属于本发明技术方案的范围内。
文章摘自国家发明专利,一种纺织生产用亚麻纤维油剂养生装置,发明人:倪颖,王珂,邓小楠,吴娟,孙卉完,玲中,叶泗洪,申请号:202511870997.0,申请日:2025.12.12

