摘 要:本发明涉及工业大麻割捆技术领域,具体为一种工业大麻割捆机,解决了工业大麻的收割仍为传统的人工收割,需要由人工捆扎或者再用捆扎机进行捆扎,效率低,且工业大麻在输送过程中容易纠缠而卡住的情况问题,包括阶梯底架,所述阶梯底架的后侧通过螺栓连接有车架,所述阶梯底架的顶端设有两个运输机构,所述运输机构的前侧设有多个调节机构。本发明通过上运输链条转动时带动拨动块将切割后的工业大麻运输至两个安装台之间的位置,此时工业大麻会通过两个安装台之间的位置与分料台的表面解除,从而使工业大麻被分为两份分别向两个储料腔的内部移动,提高工业大麻的打捆效率的同时,还避免了工业大麻相互纠缠而导致卡死的情况。
技术要点
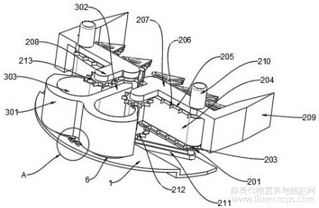
1.一种工业大麻割捆机,包括阶梯底架(1),所述阶梯底架(1)的后侧通过螺栓连接有车架,其特征在于:所述阶梯底架(1)的顶端设有两个运输机构(2),所述运输机构(2)的前侧设有多个调节机构(4),所述运输机构(2)的后侧设有储藏机构(3);
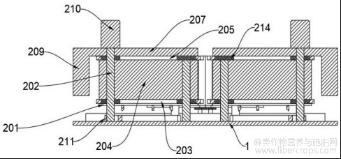
所述运输机构(2)包括支撑底板(201),两个支撑底板(201)活动安装在阶梯底架(1)的顶端,支撑底板(201)的顶端均活动安装有下运输链条(203),下运输链条(203)的顶端均活动安装有安装台(204),安装台(204)的顶端均活动安装有上运输链条(205),下运输链条(203)和上运输链条(205)内侧的两端均啮合连接有传动链轮(214),上运输链条(205)的顶端活动安装有安装顶板(207),安装顶板(207)的顶端均固定安装有伺服电机(210),伺服电机(210)的输出端均通过联轴器连接有转轴(202),转轴(202)均活动贯穿安装顶板(207)和安装台(204)的内部,传动链轮(214)均与转轴(202)固定连接,安装顶板(207)前侧的外端均固定安装有固定板(209)。
2.根据权利要求1所述的一种工业大麻割捆机,其特征在于:所述运输机构(2)还包括拨动块(206)、连接板(208)、传动链条(211)、下内压轮(212)和上内压轮(213),所述下运输链条(203)和上运输链条(205)的外表面均固定安装有多个拨动块(206),所述安装顶板(207)的后侧表面均固定安装有连接板(208),所述连接板(208)的底端均转动安装有轴杆,所述轴杆的顶端固定安装有上内压轮(213),所述轴杆的底端固定安装有下内压轮(212),所述转轴(202)的底端均与阶梯底架(1)顶端表面转动连接,所述转轴(202)靠底端的外表面通过链轮啮合连接有传动链条(211),所述轴杆与传动链条(211)通过链轮啮合连接。
3.根据权利要求2所述的一种工业大麻割捆机,其特征在于:所述储藏机构(3)包括储料台(301)、分料台(302)、储料腔(303)、转动板(304)和铰接板(305),所述阶梯底架(1)顶端靠后侧的位置固定安装有两个储料台(301),两个所述储料台(301)之间的前侧固定连接有分料台(302),所述储料台(301)的内侧均设有储料腔(303),所述储料台(301)的底端均活动安装有转动板(304),所述转动板(304)的外表面均固定连接有铰接板(305)。
4.根据权利要求3所述的一种工业大麻割捆机,其特征在于:所述储藏机构(3)还包括连接齿轮(306)、传动齿轮(307)和转动杆(308),其中一个所述铰接板(305)的底端固定安装有连接齿轮(306),另一个所述铰接板(305)的底端固定安装有传动齿轮(307),所述连接齿轮(306)和传动齿轮(307)之间啮合连接,所述连接齿轮(306)和传动齿轮(307)的底端均固定安装有转动杆(308),所述转动杆(308)的底端与阶梯底架(1)转动连接。
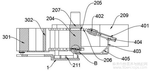
5.根据权利要求4所述的一种工业大麻割捆机,其特征在于:所述调节机构(4)包括调节板(401)、拨动轮(402)、支撑连杆(403)和螺纹插销(404),所述调节板(401)的内部均转动安装有拨动轮(402),所述调节板(401)的底端均活动安装有支撑连杆(403),所述支撑连杆(403)靠近调节板(401)的一端均固定安装有螺纹插销(404),所述螺纹插销(404)均与调节板(401)螺纹连接。
6.根据权利要求5所述的一种工业大麻割捆机,其特征在于:所述调节机构(4)还包括斜撑(405)、限位孔(406)、安装块(407)、推拉式电磁铁(408)、插接孔(409)、压缩弹簧(410)、推拉杆(411)和斜面(412),所述支撑底板(201)的底端表面设有多个插接孔(409),所述支撑连杆(403)均活动卡入其中一个插接孔(409)的内部,所述支撑底板(201)与安装台(204)之间均设有多个安装块(407),所述安装块(407)的内部均设有推拉式电磁铁(408),所述推拉式电磁铁(408)的输出端固定连接有推拉杆(411),所述推拉杆(411)与推拉式电磁铁(408)内部之间均活动安装有压缩弹簧(410),所述支撑连杆(403)靠近推拉杆(411)的一端表面均设有两个限位孔(406),所述推拉杆(411)的底端均设有斜面(412),所述推拉杆(411)均活动卡入限位孔(406)的内部,所述支撑连杆(403)的表面均固定安装有斜撑(405)。
7.根据权利要求6所述的一种工业大麻割捆机,其特征在于:位于中间的两个所述调节板(401)之间活动安装有中心分料板(5),所述中心分料板(5)的底端固定安装有支撑架,所述支撑架的末端均活动卡入插接孔(409)的内部。
8.根据权利要求4所述的一种工业大麻割捆机,其特征在于:所述储料台(301)的内部均设有捆绳机构(7),所述阶梯底架(1)顶端表面靠近储料台(301)的位置均设有漏料口(6)。
9.根据权利要求6所述的一种工业大麻割捆机,其特征在于:所述拨动轮(402)均与拨动块(206)啮合连接。
10.根据权利要求4所述的一种工业大麻割捆机,其特征在于:所述储料台(301)的前侧均固定安装有阻挡板(309),所述下内压轮(212)和上内压轮(213)均与阻挡板(309)的表面贴合。
技术领域
本发明涉及工业大麻割捆技术领域,具体为一种工业大麻割捆机。
背景技术
工业大麻是指毒品活性成分四氢大麻酚(HTC)小于0.3%的大麻属一年生草本植物,因其毒品活性成分低,不具备毒品利用价值,而纤维具有高韧性、吸湿、透气、抗茵、防辐射等特质,深受世人青眯,在纺织、造纸、环保材料、军需装备等领域应用广泛。工业大麻在我国又被称为汉麻、火麻、线麻等。
现有的工业大麻的收割仍为传统的人工收割,需要由人工捆扎或者再用捆扎机进行捆扎,效率低,且工业大麻在输送过程中容易纠缠而卡住的情况;因此,不满足现有的需求,对此我们提出了一种工业大麻割捆机。
发明内容
本发明的目的在于提供一种工业大麻割捆机,以解决上述背景技术中提出的工业大麻的收割仍为传统的人工收割,需要由人工捆扎或者再用捆扎机进行捆扎,效率低,且工业大麻在输送过程中容易纠缠而卡住的情况等问题。
为实现上述目的,本发明提供如下技术方案:一种工业大麻割捆机,包括阶梯底架,所述阶梯底架的后侧通过螺栓连接有车架,所述阶梯底架的顶端设有两个运输机构,所述运输机构的前侧设有多个调节机构,所述运输机构的后侧设有储藏机构;
所述运输机构包括支撑底板、转轴、下运输链条、安装台、上运输链条、安装顶板、固定板、伺服电机和传动链轮,所述阶梯底架的顶端活动安装有两个支撑底板,所述支撑底板的顶端均活动安装有下运输链条,所述下运输链条的顶端均活动安装有安装台,所述安装台的顶端均活动安装有上运输链条,所述下运输链条和上运输链条内侧的两端均啮合连接有传动链轮,所述上运输链条的顶端活动安装有安装顶板,所述安装顶板的顶端均固定安装有伺服电机,所述伺服电机的输出端均通过联轴器连接有转轴,所述转轴均活动贯穿安装顶板和安装台的内部,所述传动链轮均与转轴固定连接,所述安装顶板前侧的外端均固定安装有固定板。
优选的,所述运输机构还包括拨动块、连接板、传动链条、下内压轮和上内压轮,所述下运输链条和上运输链条的外表面均固定安装有多个拨动块,所述安装顶板的后侧表面均固定安装有连接板,所述连接板的底端均转动安装有轴杆,所述轴杆的顶端固定安装有上内压轮,所述轴杆的底端固定安装有下内压轮,所述转轴的底端均与阶梯底架顶端表面转动连接,所述转轴靠底端的外表面通过链轮啮合连接有传动链条,所述轴杆与传动链条通过链轮啮合连接。
优选的,所述储藏机构包括储料台、分料台、储料腔、转动板和铰接板,所述阶梯底架顶端靠后侧的位置固定安装有两个储料台,两个所述储料台之间的前侧固定连接有分料台,所述储料台的内侧均设有储料腔,所述储料台的底端均活动安装有转动板,所述转动板的外表面均固定连接有铰接板。
优选的,所述储藏机构还包括连接齿轮、传动齿轮和转动杆,其中一个所述铰接板的底端固定安装有连接齿轮,另一个所述铰接板的底端固定安装有传动齿轮,所述连接齿轮和传动齿轮之间啮合连接,所述连接齿轮和传动齿轮的底端均固定安装有转动杆,所述转动杆的底端与阶梯底架转动连接。
优选的,所述调节机构包括调节板、拨动轮、支撑连杆和螺纹插销,所述调节板的内部均转动安装有拨动轮,所述调节板的底端均活动安装有支撑连杆,所述支撑连杆靠近调节板的一端均固定安装有螺纹插销,所述螺纹插销均与调节板螺纹连接。
优选的,所述调节机构还包括斜撑、限位孔、安装块、推拉式电磁铁、插接孔、压缩弹簧、推拉杆和斜面,所述支撑底板的底端表面设有多个插接孔,所述支撑连杆均活动卡入其中一个插接孔的内部,所述支撑底板与安装台之间均设有多个安装块,所述安装块的内部均设有推拉式电磁铁,所述推拉式电磁铁的输出端固定连接有推拉杆,所述推拉杆与推拉式电磁铁内部之间均活动安装有压缩弹簧,所述支撑连杆靠近推拉杆的一端表面均设有两个限位孔,所述推拉杆的底端均设有斜面,所述推拉杆均活动卡入限位孔的内部,所述支撑连杆的表面均固定安装有斜撑。
优选的,位于中间的两个所述调节板之间活动安装有中心分料板,所述中心分料板的底端固定安装有支撑架,所述支撑架的末端均活动卡入插接孔的内部。
优选的,所述储料台的内部均设有捆绳机构,所述阶梯底架顶端表面靠近储料台的位置均设有漏料口。
优选的,所述拨动轮均与拨动块啮合连接。
优选的,所述储料台的前侧均固定安装有阻挡板,所述下内压轮和上内压轮均与阻挡板的表面贴合。
与现有技术相比,本发明的有益效果是:
1、本发明通过分料台和两个上运输链条的配合,使装置在使用时,可通过上运输链条转动时带动拨动块将切割后的工业大麻运输至两个安装台之间的位置,此时工业大麻会通过两个安装台之间的位置与分料台的表面解除,从而使工业大麻被分为两份分别向两个储料腔的内部移动,提高工业大麻的打捆效率的同时,还避免了工业大麻相互纠缠而导致卡死的情况;
2、本发明通过支撑连杆和插接孔的配合,使装置在使用时,可根据工业大麻种植地的情况,并根据种植的工业大麻自身尺寸的状态,将支撑连杆安装在不同的插接孔的内部,从而调节调节板之间的间距,以适配不同状态的工业大麻进行使用。
附图说明
图1为本发明整体的结构示意图;
图1
图2为本发明整体后侧的结构示意图;
图2
图3为本发明整体的剖面正视图;
图3
图4为本发明整体的剖面俯视图;
图4
图5为本发明整体的剖面侧视图;
图5
图6为本发明图2中A部分的局部结构示意图;
图6
图7为本发明图5中B部分的局部结构示意图。
图7
图中:1、阶梯底架;2、运输机构;201、支撑底板;202、转轴;203、下运输链条;204、安装台;205、上运输链条;206、拨动块;207、安装顶板;208、连接板;209、固定板;210、伺服电机;211、传动链条;212、下内压轮;213、上内压轮;214、传动链轮;3、储藏机构;301、储料台;302、分料台;303、储料腔;304、转动板;305、铰接板;306、连接齿轮;307、传动齿轮;308、转动杆;309、阻挡板;4、调节机构;401、调节板;402、拨动轮;403、支撑连杆;404、螺纹插销;405、斜撑;406、限位孔;407、安装块;408、推拉式电磁铁;409、插接孔;410、压缩弹簧;411、推拉杆;412、斜面;5、中心分料板;6、漏料口;7、捆绳机构;8、切割刀。
具体实施方式
下面将结合本发明实施例中的附图,对本发明实施例中的技术方案进行清楚、完整地描述,显然,所描述的实施例仅仅是本发明一部分实施例,而不是全部的实施例。
请参阅图1至图6,本发明提供的一种实施例:一种工业大麻割捆机,包括阶梯底架1,阶梯底架1的后侧通过螺栓连接有车架,阶梯底架1的顶端设有两个运输机构2,运输机构2的前侧设有多个调节机构4,运输机构2的后侧设有储藏机构3;运输机构2包括支撑底板201、转轴202、下运输链条203、安装台204、上运输链条205、安装顶板207、固定板209、伺服电机210和传动链轮214,阶梯底架1的顶端活动安装有两个支撑底板201,支撑底板201的顶端均活动安装有下运输链条203,下运输链条203的顶端均活动安装有安装台204,安装台204的顶端均活动安装有上运输链条205,下运输链条203和上运输链条205内侧的两端均啮合连接有传动链轮214,上运输链条205的顶端活动安装有安装顶板207,安装顶板207的顶端均固定安装有伺服电机210,伺服电机210的输出端均通过联轴器连接有转轴202,转轴202均活动贯穿安装顶板207和安装台204的内部,传动链轮214均与转轴202固定连接,安装顶板207前侧的外端均固定安装有固定板209。
通过分料台302和两个上运输链条205的配合,使装置在使用时,可通过上运输链条205转动时带动拨动块206将切割后的工业大麻运输至两个安装台204之间的位置,此时工业大麻会通过两个安装台204之间的位置与分料台302的表面解除,从而使工业大麻被分为两份分别向两个储料腔303的内部移动,提高工业大麻的打捆效率的同时,还避免了工业大麻相互纠缠而导致卡死的情况。
运输机构2还包括拨动块206、连接板208、传动链条211、下内压轮212和上内压轮213,下运输链条203和上运输链条205的外表面均固定安装有多个拨动块206,安装顶板207的后侧表面均固定安装有连接板208,连接板208的底端均转动安装有轴杆,轴杆的顶端固定安装有上内压轮213,轴杆的底端固定安装有下内压轮212,转轴202的底端均与阶梯底架1顶端表面转动连接,转轴202靠底端的外表面通过链轮啮合连接有传动链条211,轴杆与传动链条211通过链轮啮合连接。
储藏机构3包括储料台301、分料台302、储料腔303、转动板304和铰接板305,阶梯底架1顶端靠后侧的位置固定安装有两个储料台301,两个储料台301之间的前侧固定连接有分料台302,储料台301的内侧均设有储料腔303,储料台301的底端均活动安装有转动板304,转动板304的外表面均固定连接有铰接板305。
储藏机构3还包括连接齿轮306、传动齿轮307和转动杆308,其中一个铰接板305的底端固定安装有连接齿轮306,另一个铰接板305的底端固定安装有传动齿轮307,连接齿轮306和传动齿轮307之间啮合连接,连接齿轮306和传动齿轮307的底端均固定安装有转动杆308,转动杆308的底端与阶梯底架1转动连接。
调节机构4包括调节板401、拨动轮402、支撑连杆403和螺纹插销404,调节板401的内部均转动安装有拨动轮402,调节板401的底端均活动安装有支撑连杆403,支撑连杆403靠近调节板401的一端均固定安装有螺纹插销404,螺纹插销404均与调节板401螺纹连接。
调节机构4还包括斜撑405、限位孔406、安装块407、推拉式电磁铁408、插接孔409、压缩弹簧410、推拉杆411和斜面412,支撑底板201的底端表面设有多个插接孔409,支撑连杆403均活动卡入其中一个插接孔409的内部,支撑底板201与安装台204之间均设有多个安装块407,安装块407的内部均设有推拉式电磁铁408,推拉式电磁铁408的输出端固定连接有推拉杆411,推拉杆411与推拉式电磁铁408内部之间均活动安装有压缩弹簧410,支撑连杆403靠近推拉杆411的一端表面均设有两个限位孔406,推拉杆411的底端均设有斜面412,推拉杆411均活动卡入限位孔406的内部,支撑连杆403的表面均固定安装有斜撑405。
通过支撑连杆403和插接孔409的配合,使装置在使用时,可根据工业大麻种植地的情况,并根据种植的工业大麻自身尺寸的状态,将支撑连杆403安装在不同的插接孔409的内部,从而调节调节板401之间的间距,以适配不同状态的工业大麻进行使用。
位于中间的两个调节板401之间活动安装有中心分料板5,中心分料板5的底端固定安装有支撑架,支撑架的末端均活动卡入插接孔409的内部。
储料台301的内部均设有捆绳机构7,阶梯底架1顶端表面靠近储料台301的位置均设有漏料口6。
其中捆绳机构7为现有技术,在此不再赘述。其动力源由电机及如丝杆、齿轮、传动带等传动部件组成。
通过捆绳机构7和转动板304的配合,使装置在使用时,当工业大麻进入储料腔303的内部后,此时可通过捆绳机构7对工业大麻进行打捆操作,并通过捆绳机构7的齿轮和传动带驱动转动杆308转动,从而带动连接齿轮306转动,使储料台301底部的转动板304受到铰接板305的转动打开,从而使打捆完成的工业大麻直接从漏料口6中落在阶梯底架1的下方,从而避免工业大麻堆积在一起难以分离的情况,且去除了人工对工业大麻打捆的步骤,方便使用。
拨动轮402均与拨动块206啮合连接。
储料台301的前侧均固定安装有阻挡板309,下内压轮212和上内压轮213均与阻挡板309的表面贴合该工业大麻割捆机在使用时,可通过上运输链条205转动时带动拨动块206将切割后的工业大麻运输至两个安装台204之间的位置,此时工业大麻会通过两个安装台204之间的位置与分料台302的表面解除,从而使工业大麻被分为两份分别向两个储料腔303的内部移动,提高工业大麻的打捆效率的同时,还避免了工业大麻相互纠缠而导致卡死的情况可根据工业大麻种植地的情况,并根据种植的工业大麻自身尺寸的状态,将支撑连杆403安装在不同的插接孔409的内部,从而调节调节板401之间的间距,以适配不同状态的工业大麻进行使用当工业大麻进入储料腔303的内部后,此时可通过捆绳机构7对工业大麻进行打捆操作,并通过捆绳机构7的齿轮和传动带驱动转动杆308转动,从而带动连接齿轮306转动,使储料台301底部的转动板304受到铰接板305的转动打开,从而使打捆完成的工业大麻直接从漏料口6中落在阶梯底架1的下方,从而避免工业大麻堆积在一起难以分离的情况,且去除了人工对工业大麻打捆的步骤,方便使用。
对于本领域技术人员而言,显然本发明不限于上述示范性实施例的细节,而且在不背离本发明的精神或基本特征的情况下,能够以其他的具体形式实现本发明。因此,无论从哪一点来看,均应将实施例看作是示范性的,而且是非限制性的,本发明的范围由所附权利要求而不是上述说明限定,因此旨在将落在权利要求的等同要件的含义和范围内的所有变化囊括在本发明内。不应将权利要求中的任何附图标记视为限制所涉及的权利要求。
文章摘自国家发明专利,一种工业大麻割捆机,发明人:王孝波,谢洪昌,杨楠,曹海峰,王德明,高勇,赵世宏,申请号:202511016986.6,申请日:2025.07.23







