摘 要:本发明公开了一种乘坐履带式苎麻收割打捆机的主动入料机构,其若干组分禾机构之间间隔设置形成第一输送通道,分禾机构和链条式输送机构之间间隔形成第二输送通道;分禾机构包括三角板和拨杆齿轮;位于一侧的一组拨杆齿轮作为主动旋转轮,主动旋转轮对外连接有驱动其进行主动旋转的动力源,其他组拨杆齿轮作为被动旋转轮,被动旋转轮在其三角板处连接有传动齿轮进行联动;主动旋转轮在旋转时其齿结构拨动其相邻的传动齿轮进行旋转,进而带动对应的被动旋转轮旋转;被动旋转轮在旋转时其齿结构拨动其相邻的传动齿轮进行旋转,进而依次传递动力令后序的被动旋转轮旋转。本发明在极大的控制成本的前提下实现苎麻的主动带动入料,提高输送效率。
权利要求书
1.一种乘坐履带式苎麻收割打捆机的主动入料机构,包括机架(0),所述机架(0)前部设置链条式输送机构(1),所述链条式输送机构(1)前方设置用于对苎麻进行分散并向后输送的分禾机构(2),所述链条式输送机构(1)的输出端设置有打捆机构(3);所述分禾机构(2)沿着链条式输送机构(1)的输送方向进行布置若干组,若干组分禾机构(2)之间间隔设置形成供苎麻进入的第一输送通道(01),分禾机构(2)和链条式输送机构(1)之间间隔形成苎麻输送的第二输送通道(02);所述分禾机构(2)包括三角板(21)和设置于其后部的拨杆齿轮(22);
其特征在于:位于一侧的一组拨杆齿轮(22)作为主动旋转轮(221),主动旋转轮(221)对外连接有驱动其进行主动旋转的动力源,其他组拨杆齿轮(22)作为被动旋转轮(222),被动旋转轮(222)在其三角板(21)处连接有传动齿轮(23)进行联动;主动旋转轮(221)在旋转时其齿结构拨动其相邻的传动齿轮(23)进行旋转,进而带动对应的被动旋转轮(222)旋转;被动旋转轮(222)在旋转时其齿结构拨动其相邻的传动齿轮(23)进行旋转,进而依次传递动力令后序的被动旋转轮(222)旋转。
2.根据权利要求1所述的一种乘坐履带式苎麻收割打捆机的主动入料机构,其特征在于:所述被动旋转轮(222)同轴设置有第一齿轮(231),所述传动齿轮(23)同轴设置有第二齿轮(232),所述第一齿轮(231)和第二齿轮(232)相啮合,进而令被动旋转轮(222)和传动齿轮(23)进行联动。
3.根据权利要求1所述的一种乘坐履带式苎麻收割打捆机的主动入料机构,其特征在于:所述主动旋转轮(221)、被动旋转轮(222)、传动齿轮(23)的齿结构数量相同,所述主动旋转轮(221)和被动旋转轮(222)的齿结构具有弧形端(223),所述主动旋转轮(221)和被动旋转轮(222)的弧形端(223)在旋转进入传动齿轮(23)的齿结构之间后前部抵触传动齿轮(23)的齿结构进行旋转。
4.根据权利要求1或2或3所述的一种乘坐履带式苎麻收割打捆机的主动入料机构,其特征在于:所述动力源为设置于主动旋转轮(221)所在的三角板(21)处的电机。
5.根据权利要求1或2或3所述的一种乘坐履带式苎麻收割打捆机的主动入料机构,其特征在于:所述链条式输送机构(1)包括输送链(11)、用于绕设输送链(11)的链轮(12)、以及连接至链轮(12)处进行动力驱动的伺服电机(13),所述伺服电机(13)通过传动机构(14)连接至主动旋转轮(221),令伺服电机(13)作为主动旋转轮(221)旋转的动力源,进而令输送链(11)和拨杆齿轮(22)进行同步驱动。
6.根据权利要求5所述的一种乘坐履带式苎麻收割打捆机的主动入料机构,其特征在于:所述传动机构(14)包括分别与伺服电机(13)、主动旋转轮(221)连接联动的传动轮(141)、以及于传动轮(141)进行啮合联动的传动链(142)。
7.根据权利要求5所述的一种乘坐履带式苎麻收割打捆机的主动入料机构,其特征在于:所述输送链(11)上均匀设置有送料齿(iii),所述送料齿(iii)和拨杆齿轮(22)的齿结构在运行时形成间隔进而在第二输送通道(02)中交替输送苎麻。
技术领域
本发明涉及一种农业机械设备,更具体的说是一种乘坐履带式苎麻收割打捆机的主动入料机构。
背景技术
苎麻收割打捆机的切割输送机构设置在前部,切割输送机构由上至下依次设置链条式输送机构和切割机构,链条式输送机构和切割机构的前方设置用于引导苎麻的分禾机构,苎麻被引导至切割机构处从根部切断,然后被切断的苎麻被链条式输送机构输送向侧边,由出口端设置的打捆机构进行打捆然后输出。其中的分禾机构具有多个苎麻输送空间,输送空间的后方侧边设置拨动齿轮,在苎麻到达时进行顺势旋转进行苎麻的向后带动,令苎麻在被下方切割机构切断后倚靠在后方的链条式输送机构处进行向侧边的输送;在实际使用过程中,由于拨动齿轮没有动力,其完全由到达的苎麻提供动力旋转,所以在碰到苎麻种植疏密不一的特殊情况,苎麻与拨动齿轮的联动状态就会不理想,进而令苎麻的输送效率较差,使不同输送空间的苎麻呈现不同的倾斜状态,最终在到达打捆机构处时所完成打捆的苎麻就会较为零乱,不利用后序的储存和运输。通过对拨动齿轮增设电机可以提供动力进行主动的旋转带动苎麻,但是多个苎麻输送空间的拨动齿轮分别配置电机将大大提高设备成本。
发明内容
针对现有技术存在的不足,本发明的目的为提供一种乘坐履带式苎麻收割打捆机的主动入料机构,通过使用单个的动力源并配合结构间的联动实现对多个拨动齿轮的主动带动,在极大的控制成本的前提下实现苎麻的主动带动入料,提高输送效率。
为实现上述目的,本发明提供了如下技术方案:一种乘坐履带式苎麻收割打捆机的主动入料机构,包括机架,机架前部设置链条式输送机构,链条式输送机构前方设置用于对苎麻进行分散并向后输送的分禾机构,链条式输送机构的输出端设置有打捆机构;分禾机构沿着链条式输送机构的输送方向进行布置若干组,若干组分禾机构之间间隔设置形成供苎麻进入的第一输送通道,分禾机构和链条式输送机构之间间隔形成苎麻输送的第二输送通道;分禾机构包括三角板和设置于其后部的拨杆齿轮;位于一侧的一组拨杆齿轮作为主动旋转轮,主动旋转轮对外连接有驱动其进行主动旋转的动力源,其他组拨杆齿轮作为被动旋转轮,被动旋转轮在其三角板处连接有传动齿轮进行联动;主动旋转轮在旋转时其齿结构拨动其相邻的传动齿轮进行旋转,进而带动对应的被动旋转轮旋转;被动旋转轮在旋转时其齿结构拨动其相邻的传动齿轮进行旋转,进而依次传递动力令后序的被动旋转轮旋转。
作为一种改进,被动旋转轮同轴设置有第一齿轮,传动齿轮同轴设置有第二齿轮,第一齿轮和第二齿轮相啮合,进而令被动旋转轮和传动齿轮进行联动。
作为一种改进,主动旋转轮、被动旋转轮、传动齿轮的齿结构数量相同,主动旋转轮和被动旋转轮的齿结构具有弧形端,主动旋转轮和被动旋转轮的弧形端在旋转进入传动齿轮的齿结构之间后前部抵触传动齿轮的齿结构进行旋转。
作为一种改进,动力源为设置于主动旋转轮所在的三角板处的电机。
作为一种改进,链条式输送机构包括输送链、用于绕设输送链的链轮、以及连接至链轮处进行动力驱动的伺服电机,伺服电机通过传动机构连接至主动旋转轮,令伺服电机作为主动旋转轮旋转的动力源,进而令输送链和拨杆齿轮进行同步驱动。
作为一种改进,传动机构包括分别与伺服电机、主动旋转轮连接联动的传动轮、以及于传动轮进行啮合联动的传动链。
作为一种改进,输送链上均匀设置有送料齿,送料齿和拨杆齿轮的齿结构在运行时形成间隔进而在第二输送通道中交替输送苎麻。
本发明的有益效果:通过设置主动入料机构,可以提高对苎麻的主动带动效果,令苎麻更有序的均匀从第一输送通道进入第二输送通道,保证整个第二输送通道均匀有序的输送定量的苎麻,并避免因苎麻稀疏所带来的倾斜状态,有利于最终打捆的苎麻整齐有序;本身乘坐履带式苎麻收割打捆机的机械化向前稳定行进配合主动入料的稳定输入,可以保证苎麻的有序输送并打捆,保证最终的收割打捆质量;在合理设置传动结构后可在传统分禾机构的大致结构下采用单一动力源,极大的控制了部件改进的成本以及动力源使用的成本,做到成本的有效控制。
附图说明
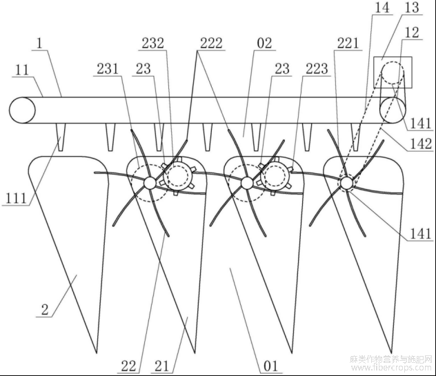
图1为本发明的主动入料机构处的俯视方向结构透视示意图。
图1
图2为本发明的主动入料机构处的正视方向结构示意图。
图2
图3为本发明的现有乘坐履带式苎麻收割打捆机的立体结构示意图。
图3
图4为本发明的现有乘坐履带式苎麻收割打捆机的俯视方向结构示意图。
图4
图中:0:机架;01:第一输送通道;02:第二输送通道;1:链条式输送机构;11:输送链;111:送料齿;12:链轮;13:伺服电机;14:传动机构;141:传动轮;142:传动链;2:分禾机构;21:三角板;22:拨杆齿轮;221:主动旋转轮;222:被动旋转轮;223:弧形端;23:传动齿轮;231:第一齿轮;232:第二齿轮;3:打捆机构。
具体实施方式
以下结合附图对本发明的具体实施例做详细说明。
如图1、2、3、4所示,为本发明乘坐履带式苎麻收割打捆机的主动入料机构的具体实施例,其包括机架0,机架0前部设置链条式输送机构1,链条式输送机构1前方设置用于对苎麻进行分散并向后输送的分禾机构2,链条式输送机构1的输出端设置有打捆机构3;分禾机构2沿着链条式输送机构1的输送方向进行布置若干组,若干组分禾机构2之间间隔设置形成供苎麻进入的第一输送通道01,分禾机构2和链条式输送机构1之间间隔形成苎麻输送的第二输送通道02;分禾机构2包括三角板21和设置于其后部的拨杆齿轮22;位于一侧的一组拨杆齿轮22作为主动旋转轮221,主动旋转轮221对外连接有驱动其进行主动旋转的动力源,其他组拨杆齿轮22作为被动旋转轮222,被动旋转轮222在其三角板21处连接有传动齿轮23进行联动;主动旋转轮221在旋转时其齿结构拨动其相邻的传动齿轮23进行旋转,进而带动对应的被动旋转轮222旋转;被动旋转轮222在旋转时其齿结构拨动其相邻的传动齿轮23进行旋转,进而依次传递动力令后序的被动旋转轮222旋转。
本发明在使用时,其应用于乘坐履带式苎麻收割打捆机,该种苎麻收割打捆机具有机械动力,由使用者乘坐于驾驶操控位A,可以控制机器的行进以及各部件的开启工作;采用履带轮B作为苎麻收割打捆机的行进机构,对苎麻收割打捆机整体具有良好的支撑功能。在驾驶者操控苎麻收割打捆机使用时,将苎麻收割打捆机车头对应到待收割的苎麻丛,然后驾驶苎麻收割打捆机驶向苎麻丛;苎麻进入分禾机构2,由若干三角板21分隔分别进入各条第一输送通道01,在到达拨杆齿轮22处时,旋转的拨杆齿轮22主动带动苎麻向第一输送通道01的输出端行进,该主动的带动力良好的抵触了苎麻的后方,在苎麻到达链条式输送机构1下方的切刀机构(图中未示出,参考现有技术)时,该主动的抵触带动力令苎麻根部更好的被切刀机构完成切割;切割完成的苎麻进入第二输送通道02,被第二输送通道02带动向输出端输送,进而最终进入打捆机构3,在苎麻数量到达额定标准后由打捆机构3完成苎麻茎秆的打结,打捆好的苎麻向苎麻收割打捆机侧边输出掉落,进而完成了整体的苎麻收割打捆工序。作为本发明的创新,通过结构的创新性设计进而采用了动力源来进行一组拨杆齿轮22的带动旋转,其作为主动旋转轮221,再依靠旋转时拨动相邻的传动齿轮23,进而带动相邻的被动旋转轮222,即以如图1中三个第一输送通道01为例,主动旋转轮221、传动齿轮23、被动旋转轮222、传动齿轮23、被动旋转轮222依次进行动力的传递,实现了所有拨杆齿轮22的主动带动功能,从而令苎麻向第一输送通道01输出端输送的效果更好更稳定,有利于切刀机构稳定的切割苎麻根部,被切割后的苎麻依靠拨杆齿轮22的主动抵触扶持输送,能够避免因苎麻稀疏所带来的倾斜状态,进入第二输送通道02的苎麻较为整齐有序,有利于最终打捆的苎麻整齐有序,保证输送和打捆质量。
本发明良好的控制了部件的成本,仅需提供一个动力源,就能带动多组拨杆齿轮22的主动运行。具体实施时,主动旋转轮221可选择靠近第二输送通道02输出端即打捆机构3所在的一侧,适应拨杆齿轮22原先的旋转方向,进而依次带动相邻拨杆齿轮22的旋转,各拨杆齿轮22的旋转良好的主动抵触苎麻完成从第一输送通道01到第二输送通道02的输送,配合链条式输送机构1在后侧提供的输送动力良好稳定的输送苎麻。拨杆齿轮22在第二输送通道02中的旋转良好的推送苎麻,结构上其旋转回所在三角板21之中,不会进入相邻的第一输送通道01干扰苎麻输送。拨杆齿轮22的旋转速度可根据苎麻收割打捆机本身的行进速度进行调整,进而令拨杆齿轮22的旋转速度适应苎麻的到达速度,进而保证苎麻和拨杆齿轮22同频率行进。在苎麻收割打捆机运行过程中,苎麻是持续到达拨杆齿轮22处,若被动旋转轮222由苎麻抵触令被动旋转轮222、传动齿轮23产生了向前的旋转,主动旋转轮221也可以在持续主动运行的过程中追赶上传动齿轮23进而同步对传动齿轮23以及后序的被动旋转轮222进行带动。
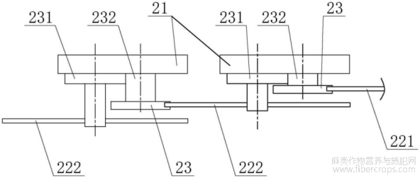
作为一种改进的具体实施方式,被动旋转轮222同轴设置有第一齿轮231,传动齿轮23同轴设置有第二齿轮232,第一齿轮231和第二齿轮232相啮合,进而令被动旋转轮222和传动齿轮23进行联动。
如图1、2所示,第一齿轮23和第二齿轮232通过轴结构可旋转的设置在三角板21上,两者啮合实现被动旋转轮222和传动齿轮23的联动,被动旋转轮222的齿结构本身较长,因此在结构设计时将其在高度方向上与传动齿轮23错开,即如图2所示,主动旋转轮221与左侧相邻第一传动齿轮23同高度进行配合传动,第一传动齿轮23和相啮合联动的第一被动旋转轮222所处不同高度,第一被动旋转轮222靠下设置,旋转时不与第一传动齿轮23干涉;而第一被动旋转轮222与左侧相邻第二传动齿轮23同高度进行配合传动,第二传动齿轮23和相啮合联动的第二被动旋转轮222所处不同高度,第二被动旋转轮222靠下设置,旋转时不与第二传动齿轮23干涉。
作为一种改进的具体实施方式,主动旋转轮221、被动旋转轮222、传动齿轮23的齿结构数量相同,主动旋转轮221和被动旋转轮222的齿结构具有弧形端223,主动旋转轮221和被动旋转轮222的弧形端223在旋转进入传动齿轮23的齿结构之间后前部抵触传动齿轮23的齿结构进行旋转。
如图1所示,主动旋转轮221、被动旋转轮222、传动齿轮23的齿结构数量均设置为6个,主动旋转轮221的单个齿结构在旋转时带动被动旋转轮222、传动齿轮23旋转大概60度。主动旋转轮221和被动旋转轮222的齿结构设置弧形端223,依靠弧形端223柔和的接触传动齿轮23的齿结构,弧形端223在旋转时不会产生尖角,减少弧形端223与传动齿轮23在接触以及活动时的硬性磕碰,提高运行稳定性,减少磨损。
作为一种改进的具体实施方式,动力源为设置于主动旋转轮221所在的三角板21处的电机。
该实施方式在图中未示出,具体实施时,在三角板21下部设置独立的电机,进而可以独立的控制电机转速,进而灵活进行拨杆齿轮22速度的调整,满足特定情况下苎麻的主动推送需求。
作为一种改进的具体实施方式,链条式输送机构1包括输送链11、用于绕设输送链11的链轮12、以及连接至链轮12处进行动力驱动的伺服电机13,伺服电机13通过传动机构14连接至主动旋转轮221,令伺服电机13作为主动旋转轮221旋转的动力源,进而令输送链11和拨杆齿轮22进行同步驱动。
如图1所示,输送链11为基础的第二输送通道02输送带动结构,在整个宽幅方向布置,进行基础的苎麻稳定输送工作,输送链11绕设于链轮12上,并通过轴结构和传动结构连接至伺服电机13提供动力。作为本发明的创新,选择伺服电机13作为主动旋转轮221的动力源,进而令输送链11和各拨杆齿轮22同步运行,进而可以更好的保证输送链11和拨杆齿轮22在运行时保持高度的速度一致性,令苎麻的持续输送状态稳定。并且通过传动机构14对接了伺服电机13的动力至主动旋转轮221后,就无需设置额外的电机供给拨杆齿轮22的主动运行,进一步控制了设备成本,并提高了部件运行的同步性。
作为一种改进的具体实施方式,传动机构14包括分别与伺服电机13、主动旋转轮221连接联动的传动轮141、以及于传动轮141进行啮合联动的传动链142。
如图1所示,在具体实施时,传动轮141和传动链142在机架0的下部布置并连接,外部套设外壳避免杂物进入干扰;该位置位于结构的侧边,避让开了切刀机构,并可通过优化与相邻的打捆机构3共同进行布置,便于设备部件的整合布局。
作为一种改进的具体实施方式,输送链11上均匀设置有送料齿111,送料齿111和拨杆齿轮22的齿结构在运行时形成间隔进而在第二输送通道02中交替输送苎麻。
如图1所示,间隔设置的送料齿111可以在输送链11运行时有序的带动苎麻在第二输送通道02中稳定向前输送,在送料齿111和拨杆齿轮22由伺服电机13同步带动的前提下,将送料齿111和拨杆齿轮22的运行状态设置为间隔状态(大致为如图1所表达的间隔运行状态),可以保证送料齿111和拨杆齿轮22的齿结构在运行时形成苎麻容纳的间隔空间,苎麻能够被良好的限位并在运行时被有序的向输出端输送。
以上仅是本发明的优选实施方式,本发明的保护范围并不仅局限于上述实施例,凡属于本发明思路下的技术方案均属于本发明的保护范围。应当指出,对于本技术领域的普通技术人员来说,在不脱离本发明原理前提下的若干改进和润饰,这些改进和润饰也应视为本发明的保护范围。
文章摘自国家发明专利,一种乘坐履带式苎麻收割打捆机的主动入料机构,发明人:卢凡静,班燕冬,罗明凯等,申请号:202510908900.4,申请日:2025.07.02。




