摘 要:本发明公开了无纺布加工技术领域的一种利用水刺原理的苎麻分梳成带机,包括前安装架和后安装架,前安装架和后安装架平行设置且其上均安装有水刺单元,前安装架和后安装架之间设置有牵拉组件,水刺单元上设置水循环组件,水循环组件包括:纤维回收组件,纤维回收组件包括过滤筛网和积水槽盖,积水槽盖固定安装在前安装架和后安装架的下表面,过滤筛网覆盖在积水槽盖的上方且两端通过振荡单元与积水槽盖滑动连接,振荡单元能够通过振动使过滤筛网抖动集中阻隔纤维;泵吸组件,泵吸组件由抽吸泵、抽吸嘴和导液管组组成,本发明能够更全面的对循环水体中的纤维杂质进行清理收集,降低循环系统堵塞的可能,提高加工效率。
权利要求书
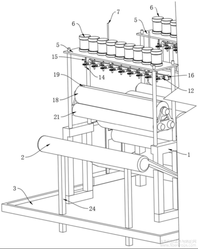
1.一种利用水刺原理的苎麻分梳成带机,包括前安装架(1)和后安装架(4),其特征在于:所述前安装架(1)和后安装架(4)平行设置且其上均安装有水刺单元,所述前安装架(1)和后安装架(4)之间设置有牵拉组件,所述水刺单元上设置水循环组件,所述水循环组件包括:
纤维回收组件,所述纤维回收组件包括过滤筛网(2)和积水槽盖(3),所述积水槽盖(3)固定安装在前安装架(1)和后安装架(4)的下表面,所述过滤筛网(2)覆盖在所述积水槽盖(3)的上方且两端通过振荡单元与所述积水槽盖(3)滑动连接,所述振荡单元能够通过振动使过滤筛网(2)抖动集中阻隔纤维;
泵吸组件,所述泵吸组件由抽吸泵、抽吸嘴和导液管组组成,所述抽吸嘴和抽吸泵处于所述积水槽盖(3)的下方,所述导液管组处于所述积水槽盖(3)的上方且下端与所述抽吸嘴固定连接。
2.根据权利要求1所述的一种利用水刺原理的苎麻分梳成带机,其特征在于:所述水刺单元包括上支撑架(5),所述上支撑架(5)上平行设置有喷淋组件和导料组件,所述导料组件包括转动辊(21)和定位辊(18),所述转动辊(21)设置有两组且平行转动连接在所述上支撑架(5)的下端,两组所述转动辊(21)的中间位置固定安装有定位辊(18),所述定位辊(18)的中间位置竖向开设有水刺槽(19),苎麻纤维在转动辊(21)的带动下移动,经过定位辊(18)时,喷淋组件喷出的水流通过水刺槽(19)对苎麻纤维进行分梳处理。
3.根据权利要求2所述的一种利用水刺原理的苎麻分梳成带机,其特征在于:所述喷淋组件包括喷淋罐(6)和侧安装箱(16),所述喷淋罐(6)设置有多组且等距安装在所述上支撑架(5)的上表面,所述上支撑架(5)的下端固定连接有软管(15),所述软管(15)的下端固定安装有喷淋嘴(14),所述侧安装箱(16)设置在所述喷淋嘴(14)的一侧,所述侧安装箱(16)上转动安装有多组转动块(12),所述转动块(12)上固定安装有连接板(13),所述喷淋嘴(14)与所述连接板(13)固定连接且下端延伸到其下方。
4.根据权利要求3所述的一种利用水刺原理的苎麻分梳成带机,其特征在于:所述侧安装箱(16)的上表面固定安装有连接块(20),所述连接块(20)的上端固定安装有螺纹杆(7),相邻所述螺纹杆(7)之间设置有传动件(8),所述传动件(8)由两组传动轮和传动带组成,所述传动轮转动连接在所述上支撑架(5)的上表面而传动带套接在所述传动轮外侧,所述传动轮与所述螺纹杆(7)螺纹连接,所述上支撑架(5)上均固定安装有齿轮箱(22),所述齿轮箱(22)内设置有转动电机和两组相互啮合的传动齿轮,所述转动电机的输出端与其中一组传动齿轮固定连接,另一组传动齿轮与传动轮固定连接。
5.根据权利要求1所述的一种利用水刺原理的苎麻分梳成带机,其特征在于:所述牵拉组件包括过渡架(10),所述过渡架(10)固定安装在所述前安装架(1)和后安装架(4)之间,所述过渡架(10)上转动安装有上压辊(9)和下压辊(11),所述上压辊(9)设置有两组且与下压辊(11)形成一个倒立的三角辊轮组。
6.根据权利要求1所述的一种利用水刺原理的苎麻分梳成带机,其特征在于:所述振荡单元包括压力传感器和气缸(17),所述过滤筛网(2)与过渡架(10)固定连接,所述积水槽盖(3)上均固定安装有气缸(17),所述气缸(17)的自由端与所述过滤筛网(2)的两端固定连接,所述压力传感器固定安装在所述气缸(17)的上端。
7.根据权利要求1所述的一种利用水刺原理的苎麻分梳成带机,其特征在于:所述积水槽盖(3)下表面固定连接有积水箱,所述积水槽盖(3)上密集设置有渗水槽,所述抽吸嘴和抽吸泵处于所述积水箱的底部。
8.根据权利要求7所述的一种利用水刺原理的苎麻分梳成带机,其特征在于:所述前安装架(1)、后安装架(4)和过渡架(10)的一侧均转动有伺服电机,所述伺服电机能够驱动多组下压辊(11)、上压辊(9)和转动辊(21)同步转动。
技术领域
本发明涉及无纺布加工技术领域,具体为一种利用水刺原理的苎麻分梳成带机。
背景技术
无纺布加工过程中常用的水刺原理进行,通过将高压微细水流喷射到一层或多层纤维网上,使纤维相互缠结在一起,从而使纤网得以加固而具备一定强力,得到的织物即为水刺无纺布。
水刺无纺布加工中需要用到大量水资源,因此常见水刺无纺布加工为了节约水资源一般是循环水进行加工,水体在喷淋到苎麻纤维上后,被底部的积水箱收集后循环回到喷淋设备上,但由于纤维本身杂乱细长的特点,回收的水体中常常含有纤维杂质,日积月累过程中这些纤维杂质会堵塞水体的循环系统,干扰设备的持续运行,需要人工进行清理,影响无纺布的加工效率。
基于此,本发明设计了一种利用水刺原理的苎麻分梳成带机,以解决上述问题。
发明内容
本发明的目的在于提供一种利用水刺原理的苎麻分梳成带机,以能够更全面的对循环水体中的纤维杂质进行清理收集,降低循环系统堵塞的可能,提高加工效率。
为实现上述目的,本发明提供如下技术方案:
一种利用水刺原理的苎麻分梳成带机,包括前安装架和后安装架,所述前安装架和后安装架平行设置且其上均安装有水刺单元,所述前安装架和后安装架之间设置有牵拉组件,所述水刺单元上设置水循环组件,所述水循环组件包括:
纤维回收组件,所述纤维回收组件包括过滤筛网和积水槽盖,所述积水槽盖固定安装在前安装架和后安装架的下表面,所述过滤筛网覆盖在所述积水槽盖的上方且两端通过振荡单元与所述积水槽盖滑动连接,所述振荡单元能够通过振动使过滤筛网抖动集中阻隔纤维;
泵吸组件,所述泵吸组件由抽吸泵、抽吸嘴和导液管组组成,所述抽吸嘴和抽吸泵处于所述积水槽盖的下方,所述导液管组处于所述积水槽盖的上方且下端与所述抽吸嘴固定连接。
优选的,所述水刺单元包括上支撑架,所述上支撑架上平行设置有喷淋组件和导料组件,所述导料组件包括转动辊和定位辊,所述转动辊设置有两组且平行转动连接在所述上支撑架的下端,两组所述转动辊的中间位置固定安装有定位辊,所述定位辊的中间位置竖向开设有水刺槽,苎麻纤维在转动辊的带动下移动,经过定位辊时,喷淋组件喷出的水流通过水刺槽对苎麻纤维进行分梳处理。
优选的,所述喷淋组件包括喷淋罐和侧安装箱,所述喷淋罐设置有多组且等距安装在所述上支撑架的上表面,所述上支撑架的下端固定连接有软管,所述软管的下端固定安装有喷淋嘴,所述侧安装箱设置在所述喷淋嘴的一侧,所述侧安装箱上转动安装有多组转动块,所述转动块上固定安装有连接板,所述喷淋嘴与所述连接板固定连接且下端延伸到其下方。
优选的,所述侧安装箱的上表面固定安装有连接块,所述连接块的上端固定安装有螺纹杆,相邻所述螺纹杆之间设置有传动件,所述传动件由两组传动轮和传动带组成,所述传动轮转动连接在所述上支撑架的上表面而传动带套接在所述传动轮外侧,所述传动轮与所述螺纹杆螺纹连接,所述上支撑架上均固定安装有齿轮箱,所述齿轮箱内设置有转动电机和两组相互啮合的传动齿轮,所述转动电机的输出端与其中一组传动齿轮固定连接,另一组传动齿轮与传动轮固定连接。
优选的,所述牵拉组件包括过渡架,所述过渡架固定安装在所述前安装架和后安装架之间,所述过渡架上转动安装有上压辊和下压辊,所述上压辊设置有两组且与下压辊形成一个倒立的三角辊轮组。
优选的,所述振荡单元包括压力传感器和气缸,所述过滤筛网与过渡架固定连接,所述积水槽盖上均固定安装有气缸,所述气缸的自由端与所述过滤筛网下表面固定连接有积水箱,所述积水槽盖上密集设置有渗水槽,所述抽吸嘴和抽吸泵处于所述积水箱的底部。
优选的,所述前安装架、后安装架和过渡架的一侧均转动有伺服电机,所述伺服电机能够驱动多组下压辊、上压辊和转动辊同步转动。
与现有技术相比,本发明的有益效果是:
本发明在水体循环过程中,由过滤筛网对随着水体下落的苎麻纤维残渣进行阻隔,大量减少苎麻纤维随着水体进入带循环水箱内,降低苎麻纤维堵塞水体循环系统的可能,且过滤筛网在阻隔苎麻纤维过程中,由振荡单元带动过滤筛网两端不断上下移动,使得过滤筛网上的苎麻纤维在震动作用下,从两侧下滑集中堆积在牵拉单元下方,方便工作人员对苎麻纤维进行收集,且也避免过滤筛网被逐渐堆积的苎麻纤维堵塞,而影响水体循环下落的速度。
附图说明
为了更清楚地说明本发明实施例的技术方案,下面将对实施例描述所需要使用的附图作简单地介绍,显而易见地,下面描述中的附图仅仅是本发明的一些实施例,对于本领域普通技术人员来讲,在不付出创造性劳动的前提下,还可以根据这些附图获得其他的附图。
图1为本发明前侧视角结构示意图;
图1
图2为本发明图1中A处的结构局部示意图;
图2
图3为本发明图1中B处的结构局部示意图;
图3
图4为本发明中水刺单元的结构示意图;
图4
图5为本发明的结构剖视图。
图5
附图中,各标号所代表的部件列表如下:
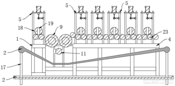
1、前安装架;2、过滤筛网;3、积水槽盖;4、后安装架;5、上支撑架;6、喷淋罐;7、螺纹杆;8、传动件;9、上压辊;10、过渡架;11、下压辊;12、转动块;13、连接板;14、喷淋嘴;15、软管;16、侧安装箱;17、气缸;18、定位辊;19、水刺槽;20、连接块;21、转动辊;22、齿轮箱。
具体实施方式
下面将结合本发明实施例中的附图,对本发明实施例中的技术方案进行清楚、完整地描述,显然,所描述的实施例仅仅是本发明一部分实施例,而不是全部的实施例。基于本发明中的实施例,本领域普通技术人员在没有作出创造性劳动前提下所获得的所有其它实施例,都属于本发明保护的范围。
请参阅图1-图5,本发明提供一种技术方案:
一种利用水刺原理的苎麻分梳成带机,包括前安装架1和后安装架4,其特征在于:前安装架1和后安装架4平行设置且其上均安装有水刺单元,前安装架1和后安装架4之间设置有牵拉组件,水刺单元上设置水循环组件,水循环组件包括:
纤维回收组件,纤维回收组件包括过滤筛网2和积水槽盖3,积水槽盖3固定安装在前安装架1和后安装架4的下表面,过滤筛网2覆盖在积水槽盖3的上方且两端通过振荡单元与积水槽盖3滑动连接,振荡单元能够通过振动使过滤筛网2抖动集中阻隔纤维;
泵吸组件,泵吸组件由抽吸泵、抽吸嘴和导液管组组成,抽吸嘴和抽吸泵处于积水槽盖3的下方,导液管组处于积水槽盖3的上方且下端与抽吸嘴固定连接。
本发明中苎麻纤维由前安装架向后安装架方向移动进行分梳处理,通水刺单元盘喷淋出的高压微细水流喷射到苎麻纤维网上,喷淋水体在重力作用下自然下落,通过过滤筛网和积水槽盖落入到底部收集,并在泵吸组件中抽吸泵的作用下,从抽吸嘴和导液管组回流到水刺单元内,从而实现水体的循环利用,在水体循环过程中,由过滤筛网对随着水体下落的苎麻纤维残渣进行阻隔,大量减少苎麻纤维随着水体进入带循环水箱内,降低苎麻纤维堵塞水体循环系统的可能,且过滤筛网在阻隔苎麻纤维过程中,由振荡单元带动过滤筛网两端不断上下移动,使得过滤筛网上的苎麻纤维在震动作用下,从两侧下滑集中堆积在牵拉单元下方,方便工作人员对苎麻纤维进行收集,且也避免过滤筛网被逐渐堆积的苎麻纤维堵塞,而影响水体循环下落的速度。
其中,水刺单元包括上支撑架5,上支撑架5上平行设置有喷淋组件和导料组件,导料组件包括转动辊21和定位辊18,转动辊21设置有两组且平行转动连接在上支撑架5的下端,两组转动辊21的中间位置固定安装有定位辊18,定位辊18的中间位置竖向开设有水刺槽19。本发明中苎麻纤维在转动辊21的带动下移动,经过定位辊18时,喷淋组件喷出的水流通过水刺槽19对苎麻纤维进行分梳处理。
其中,喷淋组件包括喷淋罐6和侧安装箱16,喷淋罐6设置有多组且等距安装在上支撑架5的上表面,上支撑架5的下端固定连接有软管15,软管15的下端固定安装有喷淋嘴
14,侧安装箱16设置在喷淋嘴14的一侧,侧安装箱16上转动安装有多组转动块12,转动块12上固定安装有连接板13,喷淋嘴14与连接板13固定连接且下端延伸到其下方。本发明中喷淋嘴14通过软管15与喷淋管6固定连接,软管15为可伸缩管,导液管组的上端与所述喷淋罐6的上端固定连接,循环水体通过导液管组进入到喷淋罐6内,再由喷淋罐6和软管15从喷淋嘴14输出。
其中,侧安装箱16的上表面固定安装有连接块20,连接块20的上端固定安装有螺纹杆7,相邻螺纹杆7之间设置有传动件8,传动件8由两组传动轮和传动带组成,传动轮转动连接在上支撑架5的上表面而传动带套接在传动轮外侧,传动轮与螺纹杆7螺纹连接,上支撑架5上均固定安装有齿轮箱22,齿轮箱22内设置有转动电机和两组相互啮合的传动齿轮,转动电机的输出端与其中一组传动齿轮固定连接,另一组传动齿轮与传动轮固定连接。本发明中通过侧安装箱16的移动可以调整喷淋嘴14的高度,转动电机驱动相互啮合的传动齿轮转动,进而带动传动轮转动,通过转动轮与螺纹杆7的相互作用,实现螺纹杆7的升降调节,以此调整侧安装箱16的高度,进而调整喷淋嘴14的高度,从而控制喷淋组件在苎麻纤维分梳过程中的冲压强度。
其中,牵拉组件包括过渡架10,过渡架10固定安装在前安装架1和后安装架4之间,过渡架10上转动安装有上压辊9和下压辊11,上压辊9设置有两组且与下压辊11形成一个倒立的三角辊轮组。本发明中在苎麻纤维分梳过程中,通过三角分布的上压辊9和下压辊11间的摩擦力和压力,实现对苎麻纤维的牵拉,使其平整有序地传输。
其中,振荡单元包括压力传感器和气缸17,过滤筛网2与过渡架10固定连接,积水槽盖3上均固定安装有气缸17,气缸17的自由端与过滤筛网2的两端固定连接,压力传感器固定安装在气缸17的上端。压力传感器处于气缸17上方,本发明能够通过压力传感器压力大小判断过滤筛网2上堆积纤维重量,气缸17伸缩带动过滤筛网2两端不断上下移动。
其中,积水槽盖3下表面固定连接有积水箱,积水槽盖3上密集设置有渗水槽,抽吸嘴和抽吸泵处于积水箱的底部。本发明中抽吸嘴下表面与积水箱底部留有微小空隙。
其中,前安装架1、后安装架4和过渡架10的一侧均转动有伺服电机,伺服电机能够驱动多组下压辊11、上压辊9和转动辊21同步转动。伺服电机驱动下压辊11和转动辊21同向转动,上压辊9与下压辊11反向转动。
文章摘自国家发明专利,一种利用水刺原理的苎麻分梳成带机,发明人:秦大祥,李革锋,谢世仁,申请号:202510699778.4,申请日:2025.05.28。





