摘 要:本发明属于纺织车间除尘技术领域,且公开了一种亚麻混纺纱纺织车间灰尘收集装置,包括收集箱、用于进气的进气管、用于对车间灰尘进行过滤的滤网和用于排出过滤后干净气体的出气管;滤网的一侧设置有清理盘,清理盘靠近滤网的一侧设置有清理球,清理盘远离滤网的一侧通过转动组件转动连接有移动座,移动座滑动安装在清理板内;在需要对滤网清理时,通过电机驱动清理板带动清理盘和清理球在滤网的一侧横向移动,同时清理盘和清理球纵向往复移动与转动,使清理球在滤网的表面转动将纠缠的纤维从滤网上“揉”下来,从根本上避免了刚性刮板带来的划伤和磨损,解决了目前脉冲喷吹清灰和机械刮板清灰方式的痛点,实现了高效且温和的清理效果。
权利说明书
1.一种亚麻混纺纱纺织车间灰尘收集装置,包括收集箱(1)、用于进气的进气管(2)、用于对车间灰尘进行过滤的滤网(4)和用于排出过滤后干净气体的出气管(3);
其特征在于:所述滤网(4)的一侧设置有清理盘(6),所述清理盘(6)靠近滤网(4)的一侧设置有清理球(7),所述清理盘(6)远离滤网(4)的一侧通过转动组件转动连接有移动座(11),所述移动座(11)滑动安装在清理板(5)内,所述清理板(5)滑动安装在收集箱(1)内;
所述移动座(11)的内壁螺纹连接有第二往复丝杆(10),所述第二往复丝杆(10)转动安装在清理板(5)内,所述第二往复丝杆(10)的顶端固定安装有第一齿轮(12),所述第一齿轮(12)的一侧啮合有第二齿轮(13),所述第二齿轮(13)远离第一齿轮(12)的一侧啮合有第一齿条板(14),所述第一齿条板(14)固定安装在收集箱(1)内;
所述清理板(5)的顶部螺纹连接有第一往复丝杆(8),所述第一往复丝杆(8)的一端安装有电机(9)。
2.根据权利要求1所述的一种亚麻混纺纱纺织车间灰尘收集装置,其特征在于:所述第一齿条板(14)滑动安装在清理板(5)的一侧。
3.根据权利要求1所述的一种亚麻混纺纱纺织车间灰尘收集装置,其特征在于:所述第二齿轮(13)的内壁直径是第一齿轮(12)内壁直径的十N倍,且N为正整数。
4.根据权利要求1所述的一种亚麻混纺纱纺织车间灰尘收集装置,其特征在于:所述转动组件包括固定安装在清理盘(6)一侧的传动轴(15),所述传动轴(15)的内部嵌入有第一转动轴(17),所述第一转动轴(17)的外壁固定安装有传动板(20),所述第一转动轴(17)的一端固定连接有第三齿轮(18),所述第三齿轮(18)转动安装在移动座(11)的内部,所述第三齿轮(18)的一侧啮合有第二齿条板(19),所述第二齿条板(19)固定安装在清理板(5)内。
5.根据权利要求4所述的一种亚麻混纺纱纺织车间灰尘收集装置,其特征在于:所述第一转动轴(17)远离第三齿轮(18)的一端转动连接有圆盘(21),所述圆盘(21)滑动安装在传动轴(15)的内部,所述圆盘(21)与传动轴(15)之间设置有第一弹簧(22)。
6.根据权利要求4所述的一种亚麻混纺纱纺织车间灰尘收集装置,其特征在于:所述传动轴(15)的外壁固定安装有导向圆台(16),所述导向圆台(16)底部的一侧设置有导向杆(38),所述导向杆(38)固定安装在容纳槽(37)内,所述容纳槽(37)开设在收集箱(1)内。
7.根据权利要求1所述的一种亚麻混纺纱纺织车间灰尘收集装置,其特征在于:所述清理盘(6)的内部转动安装有存放盘(23),所述存放盘(23)的内壁呈环形阵列均匀开设有存放槽(24),其中一个所述存放槽(24)的一侧设置有出料孔(34),所述出料孔(34)开设在清理盘(6)的一侧;
所述存放盘(23)的外壁固定连接有第二转动轴(25),所述第二转动轴(25)的外壁开设有斜槽(27)和直槽(26),所述直槽(26)和斜槽(27)呈环形阵列等距分布,所述直槽(26)和斜槽(27)内滑动连接有滑块(28),所述滑块(28)固定安装在活动板(29)的内壁,所述活动板(29)滑动安装在清理盘(6)内,所述活动板(29)与清理盘(6)之间设置有第二弹簧(36),所述活动板(29)的底端固定连接有活动杆(35),所述活动杆(35)端部的一侧设置有静止板(39),所述静止板(39)固定安装在收集箱(1)内。
8.根据权利要求7所述的一种亚麻混纺纱纺织车间灰尘收集装置,其特征在于:所述存放槽(24)向出料孔(34)的一侧倾斜设置。
9.根据权利要求7所述的一种亚麻混纺纱纺织车间灰尘收集装置,其特征在于:所述出料孔(34)的内部滑动安装有隔板(33),所述隔板(33)的顶部螺纹连接有第三往复丝杆(32),所述第三往复丝杆(32)转动安装在清理盘(6)内,所述第三往复丝杆(32)的底端固定连接有第四齿轮(31),所述第四齿轮(31)的一侧啮合有第三齿条板(30),所述第三齿条板(30)固定安装在活动板(29)的顶部。
技术领域
本发明属于纺织车间除尘技术领域,具体为一种亚麻混纺纱纺织车间灰尘收集装置。
背景技术
在亚麻混纺纱生产的开松、梳理和牵伸等前纺工序中,亚麻纤维含有的大量粉尘、短绒和麻粒会不断散发。这不仅使车间空气环境恶劣,危害员工健康,易引发呼吸系统疾病;还会使飞花和粉尘附着于半成品和设备上,导致纱疵增多、产品质量下降,威胁设备运行稳定性。所以,高效收集与处理车间粉尘是亚麻纺纱安全生产与品质控制的关键;
目前,纺织车间普遍采用集中式滤尘系统。其基本工作原理是:通过抽气风机在管道网络中产生负压,将含尘空气从各台设备吸出,并输送至集中的滤尘箱,利用过滤元件将粉尘截留,洁净空气则排出或循环使用;
然而,由于亚麻粉尘含大量絮状、纤维状短绒,这些纤维不易震落,会相互纠缠,致密覆盖在滤网表面,形成“絮状初粘层”。该层物质与滤网间不仅有范德华力,还有复杂机械钩挂作用,极易堵塞滤网孔隙,使系统风阻(压差)急剧上升;
目前,针对滤网表面粉尘层的清理,主流技术包括脉冲喷吹清灰和机械刮板清灰。但二者在处理亚麻“絮状初粘层”时,均存在严重的局限性:
脉冲喷吹清灰:依赖压缩空气逆向气流使滤袋抖动震落粉尘,但动能是面冲击,能量密度不足,无法克服纤维间力,清灰不彻底。反复清灰后“絮状初粘层”板结,导致滤网堵塞,使风机能耗增、吸尘效果降、滤网寿命短;
机械刮板清灰:用刚性刮板直接刮擦,力度大但会对滤网造成不可逆损伤,划伤功能性覆膜,使过滤精度下降、滤网提前报废;
综上所述,现有技术存在突出矛盾:脉冲喷吹等非接触式方法清灰力度不足,机械刮板等接触式方法损害滤网。这一矛盾制约了亚麻纺纱车间除尘效率与成本控制。
发明内容
本发明的目的在于提供一种亚麻混纺纱纺织车间灰尘收集装置,以解决上述背景技术中提出的问题。
为了实现上述目的,本发明提供如下技术方案:一种亚麻混纺纱纺织车间灰尘收集装置,包括收集箱、用于进气的进气管、用于对车间灰尘进行过滤的滤网和用于排出过滤后干净气体的出气管;
所述滤网的一侧设置有清理盘,所述清理盘靠近滤网的一侧设置有清理球,所述清理盘远离滤网的一侧通过转动组件转动连接有移动座,所述移动座滑动安装在清理板内,所述清理板滑动安装在收集箱内;
所述移动座的内壁螺纹连接有第二往复丝杆,所述第二往复丝杆转动安装在清理板内,所述第二往复丝杆的顶端固定安装有第一齿轮,所述第一齿轮的一侧啮合有第二齿轮,所述第二齿轮远离第一齿轮的一侧啮合有第一齿条板,所述第一齿条板固定安装在收集箱内;
所述清理板的顶部螺纹连接有第一往复丝杆,所述第一往复丝杆的一端安装有电机。
作为本发明进一步的技术方案,所述第一齿条板滑动安装在清理板的一侧。
作为本发明进一步的技术方案,所述第二齿轮的内壁直径是第一齿轮内壁直径的十N倍,且N为正整数。
作为本发明进一步的技术方案,所述转动组件包括固定安装在清理盘一侧的传动轴,所述传动轴的内部嵌入有第一转动轴,所述第一转动轴的外壁固定安装有传动板,所述第一转动轴的一端固定连接有第三齿轮,所述第三齿轮转动安装在移动座的内部,所述第三齿轮的一侧啮合有第二齿条板,所述第二齿条板固定安装在清理板内。
作为本发明进一步的技术方案,所述第一转动轴远离第三齿轮的一端转动连接有圆盘,所述圆盘滑动安装在传动轴的内部,所述圆盘与传动轴之间设置有第一弹簧。
作为本发明进一步的技术方案,所述传动轴的外壁固定安装有导向圆台,所述导向圆台底部的一侧设置有导向杆,所述导向杆固定安装在容纳槽内,所述容纳槽开设在收集箱内。
作为本发明进一步的技术方案,所述清理盘的内部转动安装有存放盘,所述存放盘的内壁呈环形阵列均匀开设有存放槽,其中一个所述存放槽的一侧设置有出料孔,所述出料孔开设在清理盘的一侧;
所述存放盘的外壁固定连接有第二转动轴,所述第二转动轴的外壁开设有斜槽和直槽,所述直槽和斜槽呈环形阵列等距分布,所述直槽和斜槽内滑动连接有滑块,所述滑块固定安装在活动板的内壁,所述活动板滑动安装在清理盘内,所述活动板与清理盘之间设置有第二弹簧,所述活动板的底端固定连接有活动杆,所述活动杆端部的一侧设置有静止板,所述静止板固定安装在收集箱内。
作为本发明进一步的技术方案,所述存放槽向出料孔的一侧倾斜设置。
作为本发明进一步的技术方案,所述出料孔的内部滑动安装有隔板,所述隔板的顶部螺纹连接有第三往复丝杆,所述第三往复丝杆转动安装在清理盘内,所述第三往复丝杆的底端固定连接有第四齿轮,所述第四齿轮的一侧啮合有第三齿条板,所述第三齿条板固定安装在活动板的顶部。
本发明的有益效果如下:
1、本发明通过清理球在滤网表面移动和滚动的方式对其清理,在需要对滤网清理时,首先通过电机驱动清理板在滤网的一侧移动,清理板移动时带动清理盘和清理球同时移动,使清理盘和清理球在滤网的一侧横向移动;清理板在移动的过程中通过移动座上下移动带动清理盘和清理球在滤网的一侧纵向移动;同时通过转动组件带动清理盘转动,清理盘转动时带动清理球在滤网的表面转动,将纠缠的纤维从滤网上“揉”下来,相比于传统刚性刮板的面接触,清理球对滤网表面的局部压强虽然更大,但由于其机构灵活,它能自适应地贴合滤网表面的微观起伏,不会产生硬性刮擦,从根本上避免了刚性刮板带来的划伤和磨损,不仅有助于提高滤网的使用寿命,还解决了目前脉冲喷吹清灰和机械刮板清灰方式的痛点,实现了高效且温和的清理效果,从而提高了整个亚麻混纺纱纺织车间灰尘收集处理系统的可靠性和经济性。
2、本发明通过转动组件的设置,当移动座在清理板内滑动时,第三齿轮与第二齿条板啮合发生转动,第三齿轮的转动带动第一转动轴的转动,第一转动轴的转动带动传动轴的转动,传动轴的转动带动清理盘的转动,清理盘带动清理球在滤网的表面滚动,从而将纠缠的纤维从滤网上“揉”下来,对“絮状初粘层”施加一个复杂的内应力,从各个方向松解纤维之间的纠缠,使其与滤网的接触方式从传统有害的“滑动刮擦”转变为相对温和的“滚动接触”,这能极大地减少对滤料表面的磨损,显著延长滤网的使用寿命。通过第一弹簧的弹性势能设置,确保了清理球对整个滤网表面都能施加一个相对恒定且有效的接触压力,实现了无死角、均匀的清理,极大地提升了清灰的彻底性。
3、本发明通过存放盘转动释放清理球的设置,当清理板继续移动至滤网的一侧时,活动杆与静止板分开后通过第二弹簧释放弹性势能从清理盘内滑出,同时活动板带动滑块在直槽的内壁滑动,经过直槽倾斜的导向使第二转动轴发生转动,第二转动轴的转动带动存放盘的转动,使清理球转动至出料孔的一侧,清理球可以从存放槽和出料孔的内壁滑出至清理盘进行使用,完成自动上料的操作,从而始终保持清理效率在最高水平,避免了因单个工具疲劳而导致的整体清灰效果下降。
附图说明
图1为本发明整体结构示意图;
图1
图2为本发明整体结构剖面示意图;
图2
图3为本发明图2中A处结构放大示意图;
图3
图4为本发明清理板和清理盘第一视角结构示意图;
图4
图5为本发明清理板和清理盘第二视角结构示意图;
图5
图6为本发明图5中B处结构放大示意图;
图6
图7为本发明清理盘第一视角结构剖面示意图;
图7
图8为本发明清理盘第二视角结构剖面示意图;
图8
图9为本发明清理盘第三视角结构剖面示意图;
图9
图10为本发明存放盘处结构示意图。
图10
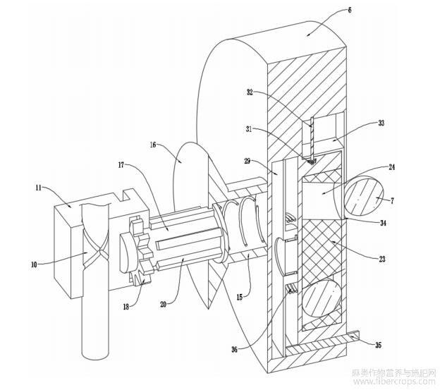
图中:1、收集箱;2、进气管;3、出气管;4、滤网;5、清理板;6、清理盘;7、清理球;8、第一往复丝杆;9、电机;10、第二往复丝杆;11、移动座;12、第一齿轮;13、第二齿轮;14、第一齿条板;15、传动轴;16、导向圆台;17、第一转动轴;18、第三齿轮;19、第二齿条板;20、传动板;21、圆盘;22、第一弹簧;23、存放盘;24、存放槽;25、第二转动轴;26、直槽;27、斜槽;28、滑块;29、活动板;30、第三齿条板;31、第四齿轮;32、第三往复丝杆;33、隔板;34、出料孔;35、活动杆;36、第二弹簧;37、容纳槽;38、导向杆;39、静止板。
具体实施方式
下面将结合本发明实施例中的附图,对本发明实施例中的技术方案进行清楚、完整地描述,显然,所描述的实施例仅仅是本发明一部分实施例,而不是全部的实施例。基于本发明中的实施例,本领域普通技术人员在没有做出创造性劳动前提下所获得的所有其他实施例,都属于本发明保护的范围。
如图1至图10所示,本发明实施例中,一种亚麻混纺纱纺织车间灰尘收集装置,包括收集箱1、用于进气的进气管2、用于对车间灰尘进行过滤的滤网4和用于排出过滤后干净气体的出气管3;
滤网4的一侧设置有清理盘6,清理盘6靠近滤网4的一侧设置有清理球7,清理盘6远离滤网4的一侧通过转动组件转动连接有移动座11,移动座11滑动安装在清理板5内,清理板5滑动安装在收集箱1内;
移动座11的内壁螺纹连接有第二往复丝杆10,第二往复丝杆10转动安装在清理板5内,第二往复丝杆10的顶端固定安装有第一齿轮12,第一齿轮12的一侧啮合有第二齿轮13,第二齿轮13远离第一齿轮12的一侧啮合有第一齿条板14,第一齿条板14固定安装在收集箱1内;
清理板5的顶部螺纹连接有第一往复丝杆8,第一往复丝杆8的一端安装有电机9。
出气管3远离收集箱1的一端安装有负压泵,通过负压泵工作将亚麻混纺纱纺织车间的灰尘收集至收集箱1内处理;
清理球7材质可为聚氨酯,聚氨酯具有一定的摩擦系数和柔韧性。当清理球7在滤网4表面滚动和按压时,其微变形表面可以“钩住”或“夹住”暴露在“絮状初粘层”外部的纤维。随着清理球7的滚动,被钩住的纤维会被持续拉扯。这个持续的力会瓦解整个纤维网络的机械结构,将纠缠在一起的纤维一根一根地或一丛一丛地从主体上分离下来。
在需要对滤网4清理时,首先需要确保本收集装置是处于停机状态,然后再通过电机9驱动第一往复丝杆8转动,第一往复丝杆8转动时带动清理板5在滤网4的一侧移动,清理板5移动时带动清理盘6和清理球7同时移动,使清理盘6和清理球7在滤网4的一侧横向移动;
清理板5在移动的过程中第二齿轮13与第一齿条板14啮合发生转动,第二齿轮13的转动转动第一齿轮12的转动,第一齿轮12的转动带动第二往复丝杆10的转动,第二往复丝杆10的转动带动移动座11往复上下移动,移动座11上下移动时带动清理盘6和清理球7在滤网4的一侧纵向移动;
同时,移动座11在移动的过程中通过转动组件带动清理盘6转动,清理盘6转动时带动清理球7在滤网4的表面转动,将纠缠的纤维从滤网4上“揉”下来,相比于传统刚性刮板的面接触,清理球7对滤网4表面的局部压强虽然更大,但由于其机构灵活,它能自适应地贴合滤网4表面的微观起伏,不会产生硬性刮擦,从根本上避免了刚性刮板带来的划伤和磨损,不仅有助于提高滤网4的使用寿命,还解决了目前脉冲喷吹清灰和机械刮板清灰方式的痛点,实现了高效且温和的清理效果,从而提高了整个亚麻混纺纱纺织车间灰尘收集处理系统的可靠性和经济性。
如图4和图5所示,第一齿条板14滑动安装在清理板5的一侧。
如图5和图6所示,第二齿轮13的内壁直径是第一齿轮12内壁直径的十N倍,且N为正整数。
通过第二齿轮13与第一齿轮12之间的齿轮传动比,使清理板5在慢速横向移动的同时清理盘6快速上下移动,从而实现更全面的覆盖,减少清理死角。
如图4至图9所示,转动组件包括固定安装在清理盘6一侧的传动轴15,传动轴15的内部嵌入有第一转动轴17,第一转动轴17的外壁固定安装有传动板20,第一转动轴17的一端固定连接有第三齿轮18,第三齿轮18转动安装在移动座11的内部,第三齿轮18的一侧啮合有第二齿条板19,第二齿条板19固定安装在清理板5内。
移动座11的一侧开设有供第二齿条板19滑动的开口;
当移动座11在清理板5内滑动时,第三齿轮18与第二齿条板19啮合发生转动,第三
齿轮18的转动带动第一转动轴17的转动,第一转动轴17的转动带动传动轴15的转动,传动轴15的转动带动清理盘6的转动,清理盘6带动清理球7在滤网4的表面滚动,从而将纠缠的纤维从滤网4上“揉”下来,对“絮状初粘层”施加一个复杂的内应力,从各个方向松解纤维之间的纠缠,使其与滤网4的接触方式从传统有害的“滑动刮擦”转变为相对温和的“滚动接触”,这能极大地减少对滤料表面的磨损,显著延长滤网4的使用寿命。通过第一弹簧22的弹性势能设置,确保了清理球7对整个滤网4表面都能施加一个相对恒定且有效的接触压力,实现了无死角、均匀的清理,极大地提升了清灰的彻底性。
如图7、图8和图9所示,第一转动轴17远离第三齿轮18的一端转动连接有圆盘21,圆盘21滑动安装在传动轴15的内部,圆盘21与传动轴15之间设置有第一弹簧22。
通过第一弹簧22弹性势能,确保了清理球7对整个滤网4表面都能施加一个相对恒定且有效的接触压力,实现了无死角、均匀的清理,极大地提升了清灰的彻底性;
且当清理球7外壁有缠绕的纤维使其整体体积增大时,给清理盘6提供了一个可伸缩的自由度,使清理球7自适应贴合滤网4的表面。
如图2至图9所示,传动轴15的外壁固定安装有导向圆台16,导向圆台16底部的一侧设置有导向杆38,导向杆38固定安装在容纳槽37内,容纳槽37开设在收集箱1内。
静止板39位于滤网4的一侧,当清理板5未工作时清理板5位于静止板39的一侧,防 止影响滤网4过滤灰尘;
通过导向杆38迫使导向圆台16移动使清理盘6释放清理球7将其松开,当清理板5运动一次复位时,清理板5向静止板39的一侧移动,由于此时清理球7的外壁裹挟了一定量的纤维,所以导向圆台16是向移动座11的一侧靠近的;
当导向圆台16移动至静止板39一侧时导向杆38的端部与导向圆台16外壁斜面接触,迫使将导向圆台16向移动座11的一侧挤压移动,从而使清理盘6向远离清理球7的一侧移动,清理球7不再受力掉入容纳槽37内,便于后期对使用后的清理球7进行统一维护或清理。
如图2、图3、图7至图10所示,清理盘6的内部转动安装有存放盘23,存放盘23的内 壁呈环形阵列均匀开设有存放槽24,其中一个存放槽24的一侧设置有出料孔34,出料孔34开设在清理盘6的一侧;
存放盘23的外壁固定连接有第二转动轴25,第二转动轴25的外壁开设有斜槽27和直槽26,直槽26和斜槽27呈环形阵列等距分布,直槽26和斜槽27内滑动连接有滑块28,滑块28固定安装在活动板29的内壁,活动板29滑动安装在清理盘6内,活动板29与清理盘6之间设置有第二弹簧36,活动板29的底端固定连接有活动杆35,活动杆35端部的一侧设置有静止板39,静止板39固定安装在收集箱1内。
直槽26和斜槽27的数量与存放槽24的数量一致;
每个存放槽24的内壁都预先放置有清理球7;
当清理板5工作时,清理板5向远离静止板39的一侧移动,导向圆台16先与导向杆38分开,此时通过第一弹簧22释放弹性势能带动清理盘6向靠近静止板39的一侧移动,清理盘6的移动带动活动杆35移动,活动杆35与静止板39接触后受力滑入清理盘6内;
同时活动杆35的移动带动活动板29的移动,活动板29移动时第二弹簧36形变储存弹性势能;
同时活动板29的移动滑块28在斜槽27内滑动,第二转动轴25不转动。
当清理板5继续移动至滤网4的一侧时,活动杆35与静止板39分开后通过第二弹簧36释放弹性势能从清理盘6内滑出,同时活动板29带动滑块28在直槽26的内壁滑动,经过直槽26倾斜的导向使第二转动轴25发生转动,第二转动轴25的转动带动存放盘23的转动,使清理球7转动至出料孔34的一侧,清理球7可以从存放槽24和出料孔34的内壁滑出至清理盘6进行使用,完成自动上料的操作,从而始终保持清理效率在最高水平,避免了因单个工具疲劳而导致的整体清灰效果下降。
如图1至图10所示,存放槽24向出料孔34的一侧倾斜设置。
使清理球7始终具有向出料孔34一侧滑动的趋势,便于顺利清理球7滑出。
如图1至图10所示,出料孔34的内部滑动安装有隔板33,隔板33的顶部螺纹连接有
第三往复丝杆32,第三往复丝杆32转动安装在清理盘6内,第三往复丝杆32的底端固定连接有第四齿轮31,第四齿轮31的一侧啮合有第三齿条板30,第三齿条板30固定安装在活动板29的顶部。
通过隔板33将存放槽24与出料孔34隔开设置,工作时,当清理板5继续移动至滤网4的一侧时,活动杆35与静止板39分开后通过第二弹簧36释放弹性势能从清理盘6内滑出,同时活动板29带动第三齿条板30移动,第三齿条板30的移动带动第四齿轮31转动,第四齿轮31的转动带动第三往复丝杆32转动,第三往复丝杆32的转动带动隔板33往复移动一次,使隔板33先上移将出料孔34打开,清理球7从存放槽24和出料孔34滑出后,隔板33再下移复位将存放槽24与出料孔34隔开,减少了外部纤维缠绕在清理盘6上的风险,使得整个清理机构的运行更加稳定可靠。
当活动杆35与静止板39接触后受力滑入清理盘6内活动板29移动带动第三齿条板30移动时,由于出料孔34一侧的存放槽24内没有清理球7,所以隔板33移动将存放槽24和出料孔34打开也不影响。
工作原理及使用流程:
在需要对滤网4清理时,首先需要确保本收集装置是处于停机状态,然后再通过电机9驱动第一往复丝杆8转动,第一往复丝杆8转动时带动清理板5在滤网4的一侧移动,清理板5移动时带动清理盘6和清理球7同时移动,使清理盘6和清理球7在滤网4的一侧横向移动;
清理板5在移动的过程中第二齿轮13与第一齿条板14啮合发生转动,第二齿轮13的转动转动第一齿轮12的转动,第一齿轮12的转动带动第二往复丝杆10的转动,第二往复丝杆10的转动带动移动座11往复上下移动,移动座11上下移动时带动清理盘6和清理球7在滤网4的一侧纵向移动;
同时,移动座11在移动的过程中第三齿轮18与第二齿条板19啮合发生转动,第三齿轮18的转动带动第一转动轴17的转动,第一转动轴17的转动带动传动轴15的转动,传动轴15的转动带动清理盘6的转动,清理盘6带动清理球7在滤网4的表面滚动,从而将纠缠的纤维从滤网4上“揉”下来;
当清理板5运动一次复位时,清理板5向静止板39的一侧移动,清理板5的移动带动清理盘6的移动,清理盘6的移动带动导向圆台16的移动,当导向圆台16移动至静止板39一侧时导向杆38的端部与导向圆台16外壁斜面接触,迫使将导向圆台16向移动座11的一侧挤压移动,从而使清理盘6向远离清理球7的一侧移动,清理球7不再受力掉入容纳槽37内,便于后期对使用后的清理球7进行统一维护或清理。
清理板5再次工作时,清理板5向远离静止板39的一侧移动,导向圆台16先与导向杆38分开,此时通过第一弹簧22释放弹性势能带动清理盘6向靠近静止板39的一侧移动,清理盘6的移动带动活动杆35移动,活动杆35与静止板39接触后受力滑入清理盘6内;
当清理板5继续移动至滤网4的一侧时,活动杆35与静止板39分开后通过第二弹簧36释放弹性势能从清理盘6内滑出,同时活动板29带动滑块28在直槽26的内壁滑动,经过直槽26倾斜的导向使第二转动轴25发生转动,第二转动轴25的转动带动存放盘23的转动,使清理球7转动至出料孔34的一侧,清理球7可以从存放槽24和出料孔34的内壁滑出至清理盘6进行使用,完成自动上料的操作;
同时活动板29的移动带动第三齿条板30移动,第三齿条板30的移动带动第四齿轮31转动,第四齿轮31的转动带动第三往复丝杆32转动,第三往复丝杆32的转动带动隔板33往复移动一次,使隔板33先上移将出料孔34打开,清理球7从存放槽24和出料孔34滑出后,隔板33再下移复位将存放槽24与出料孔34隔开,减少了外部纤维缠绕在清理盘6上的风险,使得整个清理机构的运行更加稳定可靠。
尽管已经示出和描述了本发明的实施例,对于本领域的普通技术人员而言,可以理解在不脱离本发明的原理和精神的情况下可以对这些实施例进行多种变化、修改、替换和变型,本发明的范围由所附权利要求及其等同物限定。
文章摘自国家发明专利,一种亚麻混纺纱纺织车间灰尘收集装置,发明人:张多丽,王炳锁,赵松松,欧元,申请号:202511706152.8,申请日:2025.11.2。










