摘 要:本发明公开了一种火麻种子收集器,涉及采收装置技术领域,包括有架设安装在待采收植株前方的收集行车机构,以及安装在收集行车机构上的筛分除杂机构和振动采收机构,振动采收机构通过作用件作用在植株的主茎上,通过振动采收机构输出振动,再通过作用件将振动传递至植株的主茎上,使得植株摇晃,从而驱使植株上成熟的种子脱落,作用件上设有用于接收并输送种子至筛分除杂机构处的收种输料机构,收种输料机构环套在植株的主茎上,用以接收振落的种子并输送到筛分除杂机构处,该装置不仅能够对植株上不同时间成熟的种子进行全面收集、而且可以防止鸟对成熟种子的啄食,同时还能在采收的过程中筛除掺杂在种子中的杂物以利于火麻科研工作的开展。
权力要求书
1.一种火麻种子收集器,其特征在于,包括:
收集行车机构(100),其架设安装在待采收植株的前方;
筛分除杂机构(200),其安装在所述收集行车机构(100)上;
振动采收机构(300),其安装在所述收集行车机构(100)上,并通过作用件(310)作用在 植株的主茎上;
收种输料机构(400),其安装在所述作用件(310)上,并环套在植株的主茎上,用以接收振落的种子并输送到所述筛分除杂机构(200)处。
2.根据权利要求1所述的一种火麻种子收集器,其特征在于,所述收集行车机构(100)包括有收集安装主体(110)、万向行进轮(120)、推动把手(130)和控制部,所述万向行进轮
(120)安装在所述收集安装主体(110)底部,所述推动把手(130)安装在所述收集安装主体(110)上,所述控制部安装在所述收集安装主体(110)上。
3.根据权利要求2所述的一种火麻种子收集器,其特征在于,所述收集安装主体(110)内形成收集腔体,所述筛分除杂机构(200)包括有驱动电机(210)、转轴(220)、筛分滚笼(230)、接料敞口(240)和二次筛分网板(250),所述驱动电机(210)安装在所述收集安装主体(110)上,所述转轴(220)转动安装在所述收集腔体内,所述驱动电机(210)的输出端与所述转轴(220)连接,所述筛分滚笼(230)安装在所述转轴(220)上,所述接料敞口(240)安装在所述收集腔体的进料端口处,所述筛分滚笼(230)的局部高出所述收集腔体的进料端端面,所述收集腔体的底部贯穿,所述二次筛分网板(250)倾斜式安装在所述筛分滚笼(230)的下方,所述驱动电机(210)与所述控制部电性连接。
4.根据权利要求3所述的一种火麻种子收集器,其特征在于,所述二次筛分网板(250) 的漏料通孔尺寸小于所述筛分滚笼(230)的漏料通孔尺寸。
5.根据权利要求3所述的一种火麻种子收集器,其特征在于,所述收集安装主体(110)的侧面上还设置有种子收集盒(111),所述种子收集盒(111)位于所述二次筛分网板(250)倾斜端的最低位点处,且所述种子收集盒(111)与所述收集腔体连通。
6.根据权利要求3所述的一种火麻种子收集器,其特征在于,所述收集安装主体(110)的上端面还设有枯叶去除机构(140),所述枯叶去除机构(140)包括有安装支架(141)和风扇(142),所述安装支架(141)安装在所述收集安装主体(110)的上端面,所述风扇(142)安装在所述安装支架(141)上,所述风扇(142)与所述控制部电性连接,所述风扇(142)的输出端斜切于所述筛分滚笼(230)的周面。
7.根据权利要求2所述的一种火麻种子收集器,其特征在于,所述振动采收机构(300)还包括有微型振动电机(320)、输出安装板(330)、安装底座(340)和可伸缩输出杆(350),所述微型振动电机(320)通过所述安装底座(340)安装在所述收集安装主体(110)上,所述输出安装板(330)安装在所述微型振动电机(320)的输出端上,所述微型振动电机(320)与所述控制部电性连接,所述输出安装板(330)上转动设有若干根所述可伸缩输出杆(350),所述作用件(310)安装在所述可伸缩输出杆(350)的上伸出端。
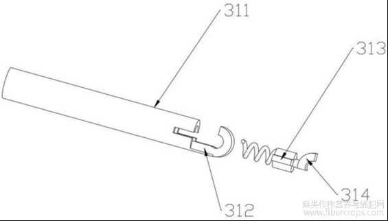
8.根据权利要求7所述的一种火麻种子收集器,其特征在于,所述作用件(310)包括有安装杆(311)、卡持钩(312)、弹簧、拨动块(313)和弹性抵块(314),所述安装杆(311)转动设于所述可伸缩输出杆(350)的端部,所述卡持钩(312)安装在所述安装杆(311)的端部,所述安装杆(311)的端部上设有滑槽,所述安装杆(311)上沿其径向设有安装槽,所述弹簧一端连接至所述安装槽的槽底,另一端与所述弹性抵块(314)连接,所述弹性抵块(314)滑动设于所述安装槽中,所述拨动块(313)设于所述弹性抵块(314)上,所述拨动块(313)滑动设于所述滑槽中,通过所述卡持钩(312)与所述弹性抵块(314)的共同作用以夹持柱植株的主茎。
9.根据权利要求8所述的一种火麻种子收集器,其特征在于,所述收种输料机构(400)包括有安装转套(410)、固土插杆(420)、安装座板(430)、第一半网筒(440)、第二半网筒(450)和柔性输送道(460),所述安装转套(410)套设在所述安装杆(311)上,所述安装转套(410)的相对两端上均设有延伸块,所述延伸块上贯穿设有插孔,所述固土插杆(420)穿过所述插孔插设于土壤中,所述安装座板(430)安装在所述固土插杆(420)的上端面,所述第一半网筒(440)与所述第二半网筒(450)转动安装在所述安装座板(430)上,所述第一半网筒(440)与所述第二半网筒(450)的任一上设有插槽,另一上设有插块,通过所述插槽与所述插块的配合,以使所述第一半网筒(440)与所述第二半网筒(450)组成一个完整的网筒并环套于植株的主茎上,所述第一半网筒(440)与所述第二半网筒(450)的内周端面处均设有弹性半圆膜(470),当网筒环套于植株的主茎上时,所述弹性半圆膜(470)抵接至植株的主茎以封闭主茎与网筒内周的间隙,防止种子从所述网筒中漏出,所述网筒上设有一衔接缺口,所述柔性输送道(460)安装在所述衔接缺口上,所述柔性输送道(460)的另一端拉至所述筛分除杂机构(200)上方,并固定于所述收集安装主体(110)上。
10.根据权利要求9所述的一种火麻种子收集器,其特征在于,所述柔性输送道(460)的输送道面为光面式。
技术领域
本发明涉及采收装置技术领域,尤其涉及一种火麻种子收集器。
背景技术
火麻,尤其是巴马火麻,属一年生雌雄异株草本植物,春播秋收,生长期为8个月,主要植于石山区土壤。巴马火麻高达1 .5~2米,每年3-4月种植,11月下旬成熟,收获后晒干保存,一般无虫害。火麻籽为卵圆形,长4~5毫米,表面光滑呈棕色或黑色花纹。巴马火麻壳硬而脆,去壳后得到火麻仁。火麻仁为药食同源,具有较高的营养价值,深受人们喜爱。
成熟后的火麻落粒性较强,尤其是巴马火麻落粒率达50%,轻微摇晃植株或触碰果穗,即可驱使籽粒脱落,甚至部分籽粒还会出现自动落粒的现象。由于火麻种子富含脂肪,鸟类极其喜欢,成熟期时常常被啄食,甚至在个别区域种子出现全部被鸟吃完的现象。在常规的种植生产中,种子的最佳采收时机是当大部分(约70%-80%)种子达到成熟状态时就进行收割打种,但是该种采收方式会导致部分未成熟的种子被一块采收,而如果等植株上的种子全部成熟后再进行采收则会导致先成熟的种子脱离苞片后掉落无法收集,造成减产。上述现象均会影响火麻种子的收集及产量统计,影响火麻杂交种子的收集、珍贵种质的扩繁、杂交后代选择、群体单株产量测定、种质资源鉴定、遗传研究等试验的结果,不利于科研工作的开展。
常规火麻种子采集方式为整株砍倒,使用工具锤打使种子脱落,但是叶片也会脱落,未成熟的部分种子也会脱落,造成种子杂质和嫩种较多,种子成熟度不一致,影响发芽率,不利于直接利用。
发明内容
针对以上不足,本发明提供一种火麻种子收集器,不仅能够对植株上不同时间成熟的种子进行全面收集、而且可以防止鸟对成熟种子的啄食,同时还能在采收的过程中筛除掺杂在种子中的杂物以利于火麻科研工作的开展,具体技术方案如下:
一种火麻种子收集器,包括:
收集行车机构,其架设安装在待采收植株的前方;
筛分除杂机构,其安装在所述收集行车机构上;
振动采收机构,其安装在所述收集行车机构上,并通过作用件作用在植株的主茎上;
收种输料机构,其安装在所述作用件上,并环套在植株的主茎上,用以接收振落的种子并输送到所述筛分除杂机构处。
优选的,所述收集行车机构包括有收集安装主体、万向行进轮、推动把手和控制部,所述万向行进轮安装在所述收集安装主体底部,所述推动把手安装在所述收集安装主体上,所述控制部安装在所述收集安装主体上。
优选的,所述收集安装主体内形成收集腔体,所述筛分除杂机构包括有驱动电机、转轴、筛分滚笼、接料敞口和二次筛分网板,所述驱动电机安装在所述收集安装主体上,所述转轴转动安装在所述收集腔体内,所述驱动电机的输出端与所述转轴连接,所述筛分滚笼安装在所述转轴上,所述接料敞口安装在所述收集腔体的进料端口处,所述筛分滚笼的局部高出所述收集腔体的进料端端面,所述收集腔体的底部贯穿,所述二次筛分网板倾斜式安装在所述筛分滚笼的下方,所述驱动电机与所述控制部电性连接。
优选的,所述二次筛分网板的漏料通孔尺寸小于所述筛分滚笼的漏料通孔尺寸。
优选的,所述收集安装主体的侧面上还设置有种子收集盒,所述种子收集盒位于所述二次筛分网板倾斜端的最低位点处,且所述种子收集盒与所述收集腔体连通。
优选的,所述收集安装主体的上端面还设有枯叶去除机构,所述枯叶去除机构包括有安装支架和风扇,所述安装支架安装在所述收集安装主体的上端面,所述风扇安装在所述安装支架上,所述风扇与所述控制部电性连接,所述风扇的输出端斜切于所述筛分滚笼的周面。
优选的,所述振动采收机构还包括有微型振动电机、输出安装板、安装底座和可伸缩输出杆,所述微型振动电机通过所述安装底座安装在所述收集安装主体上,所述输出安装板安装在所述微型振动电机的输出端上,所述微型振动电机与所述控制部电性连接,所述输出安装板上转动设有若干根所述可伸缩输出杆,所述作用件安装在所述可伸缩输出杆的上伸出端。
优选的,所述作用件包括有安装杆、卡持钩、弹簧、拨动块和弹性抵块,所述安装杆转动设于所述可伸缩输出杆的端部,所述卡持钩安装在所述安装杆的端部,所述安装杆的端部上设有滑槽,所述安装杆上沿其径向设有安装槽,所述弹簧一端连接至所述安装槽的槽底,另一端与所述弹性抵块连接,所述弹性抵块滑动设于所述安装槽中,所述拨动块设于所述弹性抵块上,所述拨动块滑动设于所述滑槽中,通过所述卡持钩与所述弹性抵块的共同作用以夹持柱植株的主茎。
优选的,所述收种输料机构包括有安装转套、固土插杆、安装座板、第一半网筒、第二半网筒和柔性输送道,所述安装转套套设在所述安装杆上,所述安装转套的相对两端上均设有延伸块,所述延伸块上贯穿设有插孔,所述固土插杆穿过所述插孔插设于土壤中,所述安装座板安装在所述固土插杆的上端面,所述第一半网筒与所述第二半网筒转动安装在所述安装座板上,所述第一半网筒与所述第二半网筒的任一上设有插槽,另一上设有插块,通过所述插槽与所述插块的配合,以使所述第一半网筒与所述第二半网筒组成一个完整的网筒并环套于植株的主茎上,所述第一半网筒与所述第二半网筒的内周端面处均设有弹性半圆膜,当网筒环套于植株的主茎上时,所述弹性半圆膜抵接至植株的主茎以封闭主茎与网筒内周的间隙,防止种子从所述网筒中漏出,所述网筒上设有一衔接缺口,所述柔性输送道安装在所述衔接缺口上,所述柔性输送道的另一端拉至所述筛分除杂机构上方,并固定于所述收集安装主体上。
优选的,所述柔性输送道的输送道面为光面式。
有益效果
1.本发明提供了一种火麻种子收集器,该火麻种子收集器通过在全部种子的成熟期内设置在植株的前方对种子实施实时采收,能够对全部种子在成熟的过程中进行全面收集、以防鸟吃,同时还能在采收的过程中筛除掺杂在种子中的杂物以利于火麻科研工作的开展。
2.本发明中的振动采收机构上可以安装多根可伸缩输出杆,以实现对多株植株进行采收工作,所述可伸缩输出杆传递振动以驱使植株摇晃,该装置适用于小面积(小批量)的、专门针对农业科研采收工作的火麻植株种子采收操作。
3.本发明中的种子收集器上设有筛分除杂机构,该机构设置多层筛分层,可以将种子与干叶片、碎屑、枝梗、枝条等杂物分离,获取更干净的种子,减少后期筛分的工作,提高火麻种子的采收效率与质量。
4.本发明中的种子收集器上还设有收种输料机构,该机构可以环套在植株的主茎上并将种子套设在网筒内,可以有效的防止在种子的成熟期鸟类对其的啄食,同时还能避免部分先成熟的种子从植株上脱落掉落到地面上影响最后采收的产量和数据,不便于火麻种子的收集与统计。
附图说明
为了更清楚地说明本发明实施例的技术方案,以下将对实施例描述中所需要使用的附图作简单地介绍。在所有附图中,类似的元件或部分一般由类似的附图标记标识。附图中,各元件或部分并不一定按照实际的比例绘制。
图1为本发明的整体装置使用状态示意图;
图2为本发明的整体装置(未安装柔性输送道)俯视图;
图2
图3为本发明中的收集行车机构三维结构示意图;
图3
图4为本发明中的收集行车机构另一视角三维结构示意图;
图4
图5为本发明中的作用件爆炸图;
图5
图6为本发明中的收种输料机构结构示意图。
图6
100-收集行车机构,110-收集安装主体,111-种子收集盒,120-万向行进轮,130-推动把手,140-枯叶去除机构,141-安装支架,142-风扇,200-筛分除杂机构,210-驱动电机,220-转轴,230-筛分滚笼,240-接料敞口,250-二次筛分网板,300-振动采收机构,310-作用件,311-安装杆,312-卡持钩,313-拨动块,314-弹性抵块,320-微型振动电机,330-输出安装板,340-安装底座,350-可伸缩输出杆,400-收种输料机构,410-安装转套,420-固土插杆,430-安装座板,440-第一半网筒,450-第二半网筒,460-柔性输送道,470-弹性半圆膜。
具体实施方式
下面将结合本发明实施例中的附图,对本发明实施例中的技术方案进行清楚、完整地描述。显然,所描述的实施例仅仅是本发明一部分实施例,而不是全部的实施例。基于本发明中的实施例,本领域普通技术人员在没有作出创造性劳动前提下所获得的所有其他实施例,都属于本发明保护的范围。
在本发明的描述中,需要说明的是,术语“中心”、“上”、“下”、“左”、“右”、“竖直”、“水平”、“内”、“外”等指示的方位或位置关系为基于附图所示的方位或位置关系,仅是为了便于描述本发明和简化描述,而不是指示或暗示所指的装置或元件必须具有特定的方位、以特定的方位构造和操作,因此不能理解为对本发明的限制。
在本发明的描述中,若干的含义是一个或者多个,多个的含义是两个以上,大于、小于、超过等理解为不包括本数,以上、以下、以内等理解为包括本数。如果有描述到术语“第一”、“第二”、“第三”只是用于描述目的以及区分技术特征为目的,而不能理解为指示或暗示相对重要性或者隐含指明所指示的技术特征的数量或者隐含指明所指示的技术特征的先后关系。
在本发明的描述中,需要说明的是,除非另有明确的规定和限定,术语“安装”、“相连”、“连接”应做广义理解,例如,可以是固定连接,也可以是可拆卸连接,或一体地连接;可以是机械连接,也可以是电连接;可以是直接相连,也可以通过中间媒介间接相连,可以是两个元件内部的连通。对于本领域的普通技术人员而言,可以具体情况理解上述术语在本发明中的具体含义。此外,下面所描述的本发明不同实施方式中所涉及的技术特征只要彼此之间未构成冲突就可以相互结合。
实施例
如图1至图6所示,本发明提供一种火麻种子收集器,具体包括有架设安装在待采收植株的前方的收集行车机构100,以及安装在所述收集行车机构100上的筛分除杂机构200,所述收集行车机构100上还设有振动采收机构300,所述振动采收机构300通过作用件310作用在植株的主茎上,通过所述振动采收机构300输出的振动,在通过所述作用件310将振动传递至植株的主茎上,使得植株摇晃,从而驱使植株上成熟的种子脱落,进一步地,所述作用件310上设有用于接收并输送种子至所述筛分除杂机构200处的收种输料机构400,所述收种输料机构400环套在植株的主茎上,用以接收振落的种子并输送到所述筛分除杂机构200处。
优选的,所述收集行车机构100包括有收集安装主体110、万向行进轮120、推动把手130和控制部,所述万向行进轮120安装在所述收集安装主体110底部,所述推动把手130安装在所述收集安装主体110上,所述控制部安装在所述收集安装主体110上。通过配置所述收集行车机构100,更便于将该收集器运送到指定的采收位点进行种子的采收工作。
在一些优选的实施例中,所述收集安装主体110内形成收集腔体,所述筛分除杂机构200包括有驱动电机210、转轴220、筛分滚笼230、接料敞口240和二次筛分网板250,所述驱动电机210安装在所述收集安装主体110上,所述转轴220转动安装在所述收集腔体内,所述驱动电机210的输出端与所述转轴220连接,所述筛分滚笼230安装在所述转轴220上,所述接料敞口240安装在所述收集腔体的进料端口处,所述筛分滚笼230的局部高出所述收集腔体的进料端端面,所述收集腔体的底部贯穿,所述二次筛分网板250倾斜式安装在所述筛分滚笼230的下方。
经过所述振动采收机构300振动,再通过所述收种输送机构400输送到所述接料敞口240处的物料包括有种子、干叶片、枝条、碎屑等,进一步地,所述收集安装主体110的侧面上还设置有种子收集盒111,所述种子收集盒111位于所述二次筛分网板250倾斜端的最低位点处,且所述种子收集盒111与所述收集腔体连通。值得一说的是,所述二次筛分网板250的漏料通孔尺寸小于所述筛分滚笼230的漏料通孔尺寸,目的是为了通过所述筛分滚笼230将种子与较大的叶片分离,种子与其他碎屑(如枝梗等)从所述筛分滚笼230上的漏料通孔中进入所述收集腔体中,而较大的叶片枝条则留在所述接料敞口240处,然后通过所述二次筛分网板250再对种子做进一步的筛分,种子留在所述二次筛分网板250,而其他碎屑(如枝梗等)则从所述二次筛分网板250的漏料通孔处排出,同时种子通过所述二次筛分网板250的导向统一输送到所述种子收集盒111中收集。所述驱动电机210与所述控制部电性连接。
在一些优选的实施例中,所述收集安装主体110的上端面还设有枯叶去除机构140,所述枯叶去除机构140包括有安装支架141和风扇142,所述安装支架141安装在所述收集安装主体110的上端面,所述风扇142安装在所述安装支架141上,所述风扇142与所述控制部电性连接,所述风扇142的输出端斜切于所述筛分滚笼230的周面。通过所述风扇142将位于所述接料敞口240处的干叶片等从所述接料敞口240吹出,避免较大的杂物对所述筛分滚笼230的漏料通孔堵塞。
优选的,所述振动采收机构300还包括有微型振动电机320、输出安装板330、安装底座340和可伸缩输出杆350,所述微型振动电机320通过所述安装底座340安装在所述收集安装主体110上,所述输出安装板330安装在所述微型振动电机320的输出端上,所述微型振动电机320与所述控制部电性连接,所述输出安装板330上转动设有若干根所述可伸缩输出杆350,所述作用件310安装在所述可伸缩输出杆350的上伸出端。该装置可以通过设置多根所述可伸缩输出杆350以实现对多株植株进行采收工作,所述可伸缩输出杆350传递振动以驱使植株摇晃,该装置适用于小面积(小批量)的、专门针对农业科研采收工作的火麻植株种子采收操作。值得一说的是,为了确保能够对植株上的所有种子进行收集,并且收集的过程中所有种子均属于完全成熟的状态,因此该种子收集器放置在指定的收集位点20天左右,并且通过所述控制部控制所述微型振动电机320每隔三天振动一次,每次振动3-5min。
在一些优选的实施例中,所述作用件310包括有安装杆311、卡持钩312、弹簧、拨动块313和弹性抵块314,所述安装杆311转动设于所述可伸缩输出杆350的端部,所述卡持钩312安装在所述安装杆311的端部,所述安装杆311的端部上设有滑槽,所述安装杆311上沿其径向设有安装槽,所述弹簧一端连接至所述安装槽的槽底,另一端与所述弹性抵块314连接,所述弹性抵块314滑动设于所述安装槽中,所述拨动块313设于所述弹性抵块314上,所述拨动块313滑动设于所述滑槽中,通过所述卡持钩312与所述弹性抵块314的共同作用以夹持柱植株的主茎。由于每根植株的主茎直径大小都不相同(植株高1.5-1.8m,主茎1.5-3.5cm(2.5-3.5cm居多)),因此该作用件310设置成弹性件,以适配不同直径大小的植株的夹持,确保振动的稳定传递。
在一些优选的实施例中,所述收种输料机构400包括有安装转套410、固土插杆420、安装座板430、第一半网筒440、第二半网筒450和柔性输送道460,所述安装转套410套设在所述安装杆311上,所述安装转套410的相对两端上均设有延伸块,所述延伸块上贯穿设有插孔,所述固土插杆420穿过所述插孔插设于土壤中以实现对收种输料机构400的固定,确保在采收过程中的稳定性,所述安装座板430安装在所述固土插杆420的上端面,所述第一半网筒440与所述第二半网筒450转动安装在所述安装座板430上,所述第一半网筒440与所述第二半网筒450的任一上设有插槽,另一上设有插块,通过所述插槽与所述插块的配合,以使所述第一半网筒440与所述第二半网筒450组成一个完整的网筒并环套于植株的主茎上,并通过所述第一半网筒440与所述第二半网筒450罩住主茎以上的分支以防止植株种子显露在外被鸟类啄食,所述第一半网筒440与所述第二半网筒450的内周端面处均设有弹性半圆膜470,当网筒环套于植株的主茎上时,所述弹性半圆膜470抵接至植株的主茎以封闭主茎与网筒内周的间隙,防止种子从所述网筒中漏出,所述网筒上设有一衔接缺口,所述柔性输送道460安装在所述衔接缺口上,所述柔性输送道460的另一端拉至所述筛分除杂机构200上方,并固定于所述收集安装主体110上。所述第一半网筒440与所述第二半网筒450为顶部封闭结构式,通过两者组合而成的网筒可以将植株主茎以上的枝叶包括种子部分全部套设在网筒内,有效的防止在种子成熟的过程中鸟类的啄食,亦或是种子脱落掉落到地上影响采收后的统计数据。
值得一说的是,所述柔性输送道460的输送道面为光面式,目的是为了减少在输送过程中物料与输送道面间的摩擦,确保输送的顺利进行,避免堵塞的发生。
以上所述,仅为本发明的具体实施方式,但本发明的保护范围并不局限于此,任何熟悉本技术领域的技术人员在本发明揭露的技术范围内,可轻易想到的变化或替换,都应涵盖在本发明的保护范围之内。因此,本发明的保护范围应以所述权利要求的保护范围为准。
文章摘自国家发明专利,一种火麻种子收集器,发明人:侯文焕,廖小芳,赵艳红,唐兴富,申请号:202511063295.1,申请日期:2025.07.31。






