摘 要:本申请涉及农业灌溉设备技术领域,特别是涉及一种胡麻膜下滴灌水肥一体化播种装置及使用方法,包括播种底座,所述播种底座一端通过轮轴安装有移动轮,另一端转动安装有转动柱,且转动柱内部空心设置,所述转动柱下端安装有万向轮,所述播种底座面向移动轮一端安装有上料架,所述播种底座中部转动安装有转动筒,所述转动筒上安装有播种组件;本发明上料时,将胡麻种子放入上料框中,而后胡麻种子通过上料板聚集于上料口上方,进入上料盘上的上料槽中,控制转动盘的转动速度以确定胡麻种子的单次种植数量,不必多次补入胡麻种子,优化了上料过程。
权利要求书
1.一种胡麻膜下滴灌水肥一体化播种装置,包括播种底座(11),其特征在于:所述播种底座(11)一端通过轮轴(12)安装有移动轮(13),另一端转动安装有转动柱(14),且转动柱(14)内部空心设置,所述转动柱(14)下端安装有万向轮(15),所述播种底座(11)面向移动轮(13)一端安装有上料架(16),所述播种底座(11)中部转动安装有转动筒(17),所述转动筒(17)上安装有播种组件(2);所述播种组件(2)包括转动柱(14)上滑动连接的滑动柱(21),所述滑动柱(21)下端与转动柱(14)通过复位弹簧(22)连接,所述滑动柱(21)侧壁上端设置有播种臂(23),所述播种臂(23)背离滑动柱(21)的一端设置有播种筒(24),所述滑动柱(21)上端设置有下压把手(25)。
2.根据权利要求1所述的一种胡麻膜下滴灌水肥一体化播种装置,其特征在于:所述播种组件(2)还包括设置于播种筒(24)下端的破土元件(3),所述破土元件(3)包括安装于播种筒(24)下端的安装筒(31),所述安装筒(31)下端周向均匀铰接有破土锥(32),所述安装筒(31)外侧滑动连接有滑动盘(33),所述滑动盘(33)下端铰接有破土连杆(34),且破土连杆(34)另一端铰接于破土锥(32)上,所述播种底座(11)上端安装有播种板(35),所述播种板(35)上对称设置有限位孔(36),且限位孔(36)直径小于滑动盘(33)直径。
3.根据权利要求1所述的一种胡麻膜下滴灌水肥一体化播种装置,其特征在于:所述上料架(16)上设置有上料装置(4),所述上料装置(4)包括上料架(16)上端设置的上料框(41),且上料框(41)中设置有向下倾斜的上料板(42),所述上料板(42)下端开设有上料口(43),所述上料框(41)面向转动筒(17)一端安装有安装板(44),所述安装板(44)中部转动安装有上料转轴(45),所述上料转轴(45)上安装有上料盘(46),上料盘(46)设置安装板(44)内,且上料盘(46)位于上料口(43)正下方,所述上料盘(46)侧壁上周向均匀开设有若干上料槽(47)。
4.根据权利要求3所述的一种胡麻膜下滴灌水肥一体化播种装置,其特征在于:所述上料装置(4)还包括安装板(44)背离转动筒(17)的一端设置的安装架(48),所述安装架(48)上安装有上料电机(49),且上料电机(49)输出轴连接上料转轴(45),所述安装板(44)下端设置有上料块(410),所述上料块(410)内部开设有向转动筒(17)方向倾斜的上料滑槽(411),所述播种筒(24)侧壁上开设有上料孔(412),且上料孔(412)正对向上料滑槽(411)下端,所述安装板(44)中部面向转动筒(17)一端设置有检测播种筒(24)位置的红外探头(413)。
5.根据权利要求1所述的一种胡麻膜下滴灌水肥一体化播种装置,其特征在于:所述播种底座(11)面向移动轮(13)一端设置有传动装置(5),所述传动装置(5)包括播种底座(11)上开设的安装孔(51),所述播种底座(11)面向移动轮(13)一端底部安装有保护框(52),所述轮轴(12)中部安装有第一传动齿轮(53),且第一传动齿轮(53)位于安装孔(51)中,所述安装孔(51)相对的两侧壁上分别设置有连接板(54),所述连接板(54)上转动安装有传动轴(55),所述传动轴(55)上安装有与第一传动齿轮(53)啮合的第二传动齿轮(56)。
6.根据权利要求5所述的一种胡麻膜下滴灌水肥一体化播种装置,其特征在于:所述传动装置(5)还包括传动轴(55)上安装的第一带轮(57),所述安装孔(51)面向转动筒(17)一端设置有减速器(58),所述减速器(58)输入轴上安装有第二带轮(59),所述第一带轮(57)与第二带轮(59)之间通过传动带(510)连接。
7.根据权利要求1所述的一种胡麻膜下滴灌水肥一体化播种装置,其特征在于:所述播种底座(11)中部设置有换位装置(6),所述换位装置(6)包括播种底座(11)中部安装的换位框(61),所述换位框(61)相对的两侧壁上共同设置有连接条(62),且连接条(62)中部下端设置有卡位凸起(63),所述换位框(61)下端开设有滑动槽(64),所述换位框(61)中滑动设置有换位滑块(65),所述换位滑块(65)下端开设有连接孔(66),且连接条(62)贯穿连接孔(66),所述换位滑块(65)下端设置有伸缩柱(67),所述伸缩柱(67)下端设置有滑动块(68),且滑动块(68)位于滑动槽(64)中滑动,所述滑动块(68)与换位滑块(65)之间连接有卡位弹簧(69),且卡位弹簧(69)套设于伸缩柱(67)上。
8.根据权利要求6所述的一种胡麻膜下滴灌水肥一体化播种装置,其特征在于:所述换位装置(6)还包括换位滑块(65)上安装的连接元件(7),所述连接元件(7)包括滑动设置于换位滑块(65)上的连接轴(71),所述连接轴(71)外侧转动套设有连接转筒(72),所述连接转筒(72)上安装有第一锥齿轮(73)和驱动齿轮(74),且第一锥齿轮(73)位于驱动齿轮(74)上端,所述播种底座(11)上端设置有安装罩(75),所述安装罩(75)上对称安装有两转动轴(76),所述转动轴(76)上均安装有第二锥齿轮(77),且第二锥齿轮(77)分别与第一锥齿轮(73)啮合,所述转动轴(76)上还安装有第二连接齿轮(78),所述减速器(58)输出轴上安装有第一连接齿轮(79),且第二连接齿轮(78)共同与第一连接齿轮(79)啮合。
9.根据权利要求8所述的一种胡麻膜下滴灌水肥一体化播种装置,其特征在于:所述播种底座(11)上设置有摆动装置(8),所述摆动装置(8)包括安装于播种底座(11)上的安装框(81),所述安装框(81)中对称安装有两齿轮轴(82),所述齿轮轴(82)上安装有分别与驱动齿轮(74)啮合的第一摆动齿轮(83),且第一摆动齿轮(83)之间相互啮合,所述齿轮轴(82)上还安装有不完全齿轮(84),且不完全齿轮(84)位于第一摆动齿轮(83)上端,所述转动筒(17)下端安装有第二摆动齿轮(85),且第二摆动齿轮(85)与不完全齿轮(84)交替啮合。
10.一种胡麻膜下滴灌水肥一体化播种方法,包括权利要求19任一所述的一种胡麻膜下滴灌水肥一体化播种装置,其特征在于,其播种方法包括如下步骤:
S1:将胡麻种子放置于上料框(41)内,根据胡麻播种的位置按压滑动换位滑块(65),使第一锥齿轮(73)与其中一第二锥齿轮(77)啮合,驱动齿轮(74)与其中一第一摆动齿轮(83)啮合;
S2:红外探头(413)检测出上料孔(412)正对向上料滑槽(411)下端,使上料电机(49)驱动上料盘(46)转动,胡麻种子落入至播种筒(24)内;
S3:驱动轮轴(12)转动驱使本设备移动,转动筒(17)转动,使破土锥(32)正对于膜下需要播种的部位,下压破土锥(32)钻入土中,将胡麻种子埋入土中;
S4:破土锥(32)上移复位,转动筒(17)反向转动,转动至上料孔(412)正对向上料滑槽(411)下端,而后同理,上料电机(49)再次使胡麻种子进入播种筒(24)内,进行连续播种。
技术领域
本申请涉及农业灌溉设备技术领域,特别是涉及一种胡麻膜下滴灌水肥一体化播种装置及使用方法。
背景技术
胡麻是我国北方的主要油料和经济作物之一,胡麻浑身都是宝,具有良好的经济效益,用途非常广泛,胡麻种子当中含油量非常搞,可以用来制作成品质优良的食用油。膜下滴灌是将地膜栽培技术与滴灌技术有机结合,即在滴灌带或滴灌毛管上覆盖一层地膜,水流顺滴孔直达作物根部,使土壤始终保持疏松和最佳含水状态,加之地膜覆盖,水分蒸发大大减少。
为了在地膜土地上进行播种,通常会使用便于进行播种的机械,如公开号为CN105638036A的穿刺式膜下播种装置,包括一个机架,机架上设置固定杆,在固定杆上设置筒体,筒体前端尖锐,在筒体内设置播种组件,使用时筒体首先刺破薄膜,种子及肥料等通过筒体一次性植入土中;筒体前端设置遮盖板,穿刺进行时封闭;种子与肥料、药液等一般混合进行播送;设置提示装置,提示进程与注意事项;提示信息的方式为声音或LED灯光显示;可以便捷进行土壤播种,确保土壤拥有足够水分,提高种子的发芽率。
但是上述现有技术在针对胡麻膜下播种时依旧存在一些缺陷:1.上述现有技术在机架上设置固定杆,在固定杆上设置筒体,播种时将种子通过筒体一次性植入土中,但在实际使用过程中,需要不断向通体内添加种子,播种过程较为繁琐,仍有改进空间。
2.上述现有技术筒体前端尖锐,在筒体内设置播种组件,使用时筒体首先刺破薄膜,进而将种子植入土中,但在使用过程中种植间距还需人工经验确定,并不能保证种子与种子之间的间距相等,影响种子生长,并且在筒体刺破薄膜和土壤后,土仍然会在筒体内,此时放入种子会置于土壤表面,没有达成种植的目的。
基于此,在上述观点的陈述下,现有技术对胡麻膜下播种的方式依旧具有提升空间。
发明内容
为了解决上述技术问题,本申请提供了一种胡麻膜下滴灌水肥一体化播种装置及使用方法,采用如下的技术方案:
第一方面,本发明提供了一种胡麻膜下滴灌水肥一体化播种装置,包括播种底座,所述播种底座一端通过轮轴安装有移动轮,另一端转动安装有转动柱,且转动柱内部空心设置,所述转动柱下端安装有万向轮,所述播种底座面向移动轮一端安装有上料架,所述播种底座中部转动安装有转动筒,所述转动筒上安装有播种组件。
优选的,所述播种组件包括转动柱上滑动连接的滑动柱,所述滑动柱下端与转动柱通过复位弹簧连接,所述滑动柱侧壁上端设置有播种臂,所述播种臂背离滑动柱的一端设置有播种筒,所述滑动柱上端设置有下压把手。
优选的,所述播种组件还包括设置于播种筒下端的破土元件,所述破土元件包括安装于播种筒下端的安装筒,所述安装筒下端周向均匀铰接有破土锥,所述安装筒外侧滑动连接有滑动盘,所述滑动盘下端铰接有破土连杆,且破土连杆另一端铰接于破土锥上,所述播种底座上端安装有播种板,所述播种板上对称设置有限位孔,且限位孔直径小于滑动盘直径。
优选的,所述上料架上设置有上料装置,所述上料装置包括上料架上端设置的上料框,且上料框中设置有向下倾斜的上料板,所述上料板下端开设有上料口,所述上料框面向转动筒一端安装有安装板,所述安装板中部转动安装有上料转轴,所述上料转轴上安装有上料盘,上料盘设置安装板内,且上料盘位于上料口正下方,所述上料盘侧壁上周向均匀开设有若干上料槽。
优选的,所述上料装置还包括安装板背离转动筒的一端设置的安装架,所述安装架上安装有上料电机,且上料电机输出轴连接上料转轴,所述安装板下端设置有上料块,所述上料块内部开设有向转动筒方向倾斜的上料滑槽,所述播种筒侧壁上开设有上料孔,且上料孔正对向上料滑槽下端,所述安装板中部面向转动筒一端设置有检测播种筒位置的红外探头。
优选的,所述播种底座面向移动轮一端设置有传动装置,所述传动装置包括播种底座上开设的安装孔,所述播种底座面向移动轮一端底部安装有保护框,所述轮轴中部安装有第一传动齿轮,且第一传动齿轮位于安装孔中,所述安装孔相对的两侧壁上分别设置有连接板,所述连接板上转动安装有传动轴,所述传动轴上安装有与第一传动齿轮啮合的第二传动齿轮。
优选的,所述传动装置还包括传动轴上安装的第一带轮,所述安装孔面向转动筒一端设置有减速器,所述减速器输入轴上安装有第二带轮,所述第一带轮与第二带轮之间通过传动带连接。
优选的,所述播种底座中部设置有换位装置,所述换位装置包括播种底座中部安装的换位框,所述换位框相对的两侧壁上共同设置有连接条,且连接条中部下端设置有卡位凸起,所述换位框下端开设有滑动槽,所述换位框中滑动设置有换位滑块,所述换位滑块下端开设有连接孔,且连接条贯穿连接孔,所述换位滑块下端设置有伸缩柱,所述伸缩柱下端设置有滑动块,且滑动块位于滑动槽中滑动,所述滑动块与换位滑块之间连接有卡位弹簧,且卡位弹簧套设于伸缩柱上。
优选的,所述换位装置还包括换位滑块上安装的连接元件,所述连接元件包括滑动设置于换位滑块上的连接轴,所述连接轴外侧转动套设有连接转筒,所述连接转筒上安装有第一锥齿轮和驱动齿轮,且第一锥齿轮位于驱动齿轮上端,所述播种底座上端设置有安装罩,所述安装罩上对称安装有两转动轴,所述转动轴上均安装有第二锥齿轮,且第二锥齿轮分别与第一锥齿轮啮合,所述转动轴上还安装有第二连接齿轮,所述减速器输出轴上安装有第一连接齿轮,且第二连接齿轮共同与第一连接齿轮啮合。
优选的,所述播种底座上设置有摆动装置,所述摆动装置包括安装于播种底座上的安装框,所述安装框中对称安装有两齿轮轴,所述齿轮轴上安装有分别与驱动齿轮啮合的第一摆动齿轮,且第一摆动齿轮之间相互啮合,所述齿轮轴上还安装有不完全齿轮,且不完全齿轮位于第一摆动齿轮上端,所述转动筒下端安装有第二摆动齿轮,且第二摆动齿轮与不完全齿轮交替啮合。
第二方面,本发明还提供了一种胡麻膜下滴灌水肥一体化播种方法,其播种方法包括如下步骤:
S1:将胡麻种子放置于上料框内,根据胡麻播种的位置按压滑动换位滑块,使第一锥齿轮与其中一第二锥齿轮啮合,驱动齿轮与其中一第一摆动齿轮啮合;
S2:红外探头检测出上料孔正对向上料滑槽下端,使上料电机驱动上料盘转动,胡麻种子落入至播种筒内;
S3:驱动轮轴转动驱使本设备移动,转动筒转动,使破土锥正对于膜下需要播种的部位,下压破土锥钻入土中,将胡麻种子埋入土中;
S4:破土锥上移复位,转动筒反向转动,转动至上料孔正对向上料滑槽下端,而后同理,上料电机再次使胡麻种子进入播种筒内,进行连续播种。
综上所述,本申请包括以下至少一种有益技术效果:
1.本发明上料时,将胡麻种子放入上料框中,而后胡麻种子通过上料板聚集于上料口上方,进入上料盘上的上料槽中,控制转动盘的转动速度以确定胡麻种子的单次种植数量,不必多次补入胡麻种子,优化了上料过程。
2.本发明在种植胡麻种子时,使破土锥正对于膜下需要播种的部位,下压破土锥钻入土中,而后滑动盘在限位孔的限制下在安装筒上向上滑动,破土锥在破土连杆的带动下分开,能够将将胡麻种子放入土壤中,以完成胡麻种子的种植。
3.本发明通过调节减速器的输入端与输出端的输送速度比例,以在本设备行进时控制播种臂摆动一个循环的时间进而控制胡麻种子之间的种子间隔,避免了胡麻种子生长时相互影响,以提高胡麻种子的发芽率。
附图说明
图1是本发明的结构示意图。
图1
图2是本发明播种组件的结构示意图。
图2
图3是本发明破土元件的结构示意图。
图3
图4是本发明上料装置的结构示意图。
图4
图5是本发明上料转轴、上料盘、上料槽、安装架、上料电机、上料块、上料滑槽、上料孔和红外探头之间的结构示意图。
图5
图6是本发明传动装置的结构示意图。
图6
图7是本发明换位装置的结构示意图。
图7
图8是本发明连接元件的结构示意图。
图8
图9是本发明摆动装置的结构示意图。
图9
附图标记说明:11、播种底座;12、轮轴;13、移动轮;14、转动柱;15、万向轮;16、上料架;17、转动筒;2、播种组件;21、滑动柱;22、复位弹簧;23、播种臂;24、播种筒;25、下压把手;3、破土元件;31、安装筒;32、破土锥;33、滑动盘;34、破土连杆;35、播种板;36、限位孔;4、上料装置;41、上料框;42、上料板;43、上料口;44、安装板;45、上料转轴;46、上料盘;47、上料槽;48、安装架;49、上料电机;410、上料块;411、上料滑槽;412、上料孔;413、红外探头;5、传动装置;51、安装孔;52、保护框;53、第一传动齿轮;54、连接板;55、传动轴;56、第二传动齿轮;57、第一带轮;58、减速器;59、第二带轮;510、传动带;6、换位装置;61、换位框;62、连接条;63、卡位凸起;64、滑动槽;65、换位滑块;66、连接孔;67、伸缩柱;68、滑动块;69、卡位弹簧;7、连接元件;71、连接轴;72、连接转筒;73、第一锥齿轮;74、驱动齿轮;75、安装罩;76、转动轴;77、第二锥齿轮;78、第二连接齿轮;79、第一连接齿轮;8、摆动装置;81、安装框;82、齿轮轴;83、第一摆动齿轮;84、不完全齿轮;85、第二摆动齿轮。
具体实施方式
以下结合附图1至图9对本申请作进一步详细说明。
本申请实施例公开一种胡麻膜下滴灌水肥一体化播种装置及使用方法,可以调节胡麻之间的种植间距并且对进行胡麻种子的上料和种植。
实施例一:
参考图1,一种胡麻膜下滴灌水肥一体化播种装置,包括播种底座11,播种底座11一端通过轮轴12安装有移动轮13,另一端转动安装有转动柱14,且转动柱14内部空心设置,转动柱14下端安装有万向轮15,移动轮13和万向轮15的设置提高了灵活性,能够在胡麻田中灵活移动,播种底座11面向移动轮13一端安装有上料架16,播种底座11中部转动安装有转动筒17。
在进行胡麻播种时,通过自身的电驱动或其他方式将该设备移动至田埂间,而后将胡麻种子放入上料架16上的设备中,在移动该设备的同时,转动筒17间隙转动,便于进行播种。
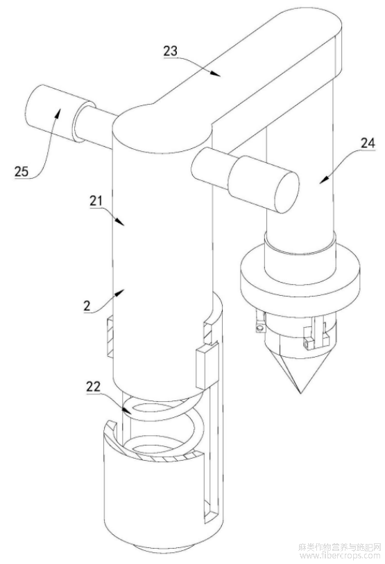
参考图2,为本发明播种组件2的结构示意图,为了便于将胡麻种子进行播种,转动筒17上安装有播种组件2,播种组件2包括转动柱14上滑动连接的滑动柱21,滑动柱21下端与转动柱14通过复位弹簧22连接,使滑动柱21复位至转动柱14上端,滑动柱21侧壁上端设置有播种臂23,播种臂23背离滑动柱21的一端设置有播种筒24,滑动柱21上端设置有下压把手25,胡麻种子在播种筒24中,将下压把手25下压进行胡麻种子的播种。
播种时,使转动筒17转动,转动至播种臂23面向需要播种的区域,而后通过下压把手25下压滑动筒,对胡麻种子进行播种,播种完成后,滑动柱21在复位弹簧22的作用下向上滑动复位,便于下一次播种。
参考图3,为本发明破土元件3的结构示意图,在滑动筒向下滑动时,为了使土破开将胡麻种子种植于土壤中,播种组件2还包括设置于播种筒24下端的破土元件3,破土元件3包括安装于播种筒24下端的安装筒31,安装筒31下端周向均匀铰接有破土锥32,便于刺向膜下土壤,将胡麻种子埋入,安装筒31外侧滑动连接有滑动盘33,滑动盘33下端铰接有破土连杆34,且破土连杆34另一端铰接于破土锥32上,滑动盘33在安装筒31上向上滑动时,带动破土锥32分开,播种底座11上端安装有播种板35,播种板35上对称设置有限位孔36,且限位孔36直径小于滑动盘33直径,在滑动柱21向下滑动时,滑动盘33在限位孔36的限制下在安装筒31外侧向上滑动。
转动转动筒17使破土锥32位于限位孔36正上方,下压滑动柱21时,破土锥32穿过限位孔36刺向膜下进入土壤中,而后滑动盘33在限位孔36的限制下在安装筒31上向上滑动,破土锥32在破土连杆34的带动下分开,将胡麻种子放入土壤中,而后向上移动滑动柱21时,破土锥32在重力的作用下重新闭合。
实施例二:
参考图4和图5,在实施例一的基础上,为了将胡麻种子定量放入播种筒24中,在本方案的具体实施例中,上料架16上设置有上料装置4,上料装置4包括上料架16上端设置的上料框41,将需要种植的胡麻种子同一放置于上料框41中,且上料框41中设置有向下倾斜的上料板42,上料板42下端开设有上料口43,胡麻种子通过上料板42聚集于上料口43上方,上料框41面向转动筒17一端安装有安装板44,安装板44中部转动安装有上料转轴45,上料转轴45上安装有上料盘46,上料盘46设置安装板44内,且上料盘46位于上料口43正下方,上料盘46侧壁上周向均匀开设有若干上料槽47,上料盘46转动时,上料口43上方的胡麻种子通过上料槽47向下输送。
上料时,将胡麻种子放入上料框41中,而后胡麻种子通过上料板42聚集于上料口43上方,进入上料盘46上的上料槽47中,控制上料盘46的转动速度以确定胡麻种子进入播种筒24中的数量。
上料装置4还包括安装板44背离转动筒17的一端设置的安装架48,安装架48上安装有上料电机49,且上料电机49输出轴连接上料转轴45,上料电机49通过上料转轴45驱动上料盘46转动,安装板44下端设置有上料块410,上料块410内部开设有向转动筒17方向倾斜的上料滑槽411,播种筒24侧壁上开设有上料孔412,上料滑槽411使胡麻种子通过上料孔412送入播种筒24中,安装板44中部面向转动筒17一端设置有检测播种筒24位置的红外探头413,确保上料孔412正对向上料滑槽411下端时驱动上料电机49。
红外探头413探测播种筒24的位置,确保上料孔412正对向上料滑槽411下端,而后驱动上料电机49,使上料盘46按照设定速度转动,以控制胡麻种子种植数量,通过上料槽47向下输送的胡麻种子进入上料滑槽411穿过上料孔412进入播种筒24中。
实施例三:
参考图6,在实施例一和实施例二的基础上,为了在胡麻种子送入播种筒24中后使转动筒17转动,进而将破土锥32位于限位孔36正上方,播种底座11面向移动轮13一端设置有传动装置5,传动装置5包括播种底座11上开设的安装孔51,播种底座11面向移动轮13一端底部安装有保护框52,防止在工作时泥土卡住传动装置5,轮轴12中部安装有第一传动齿轮53,且第一传动齿轮53位于安装孔51中,安装孔51相对的两侧壁上分别设置有连接板54,连接板54上转动安装有传动轴55,传动轴55上安装有与第一传动齿轮53啮合的第二传动齿轮56,轮轴12转动在第一传动齿轮53和第二传动齿轮56的啮合下传动轴55转动,传动装置5还包括传动轴55上安装的第一带轮57,安装孔51面向转动筒17一端设置有减速器58,工作前调节减速器58,以调节减速器58的输出转动速度,减速器58输入轴上安装有第二带轮59,第一带轮57与第二带轮59之间通过传动带510连接,使减速器58输入轴转动。
轮轴12转动,即本设备在行进间,第一传动齿轮53通过与第二传动齿轮56的啮合带动传动轴55转动,进而使第一带轮57转动,第二带轮59在传动带510的带动下转动,使减速器58输入轴转动,此时减速器58输出轴通过设定好的输出速度转动。
参考图7,为本发明换位装置6的结构示意图,为了在工作时,控制播种臂23转向需要种植胡麻种子的一侧,播种底座11中部设置有换位装置6,换位装置6包括播种底座11中部安装的换位框61,换位框61相对的两侧壁上共同设置有连接条62,且连接条62中部下端设置有卡位凸起63,换位框61下端开设有滑动槽64,换位框61中滑动设置有换位滑块65,换位滑块65下端开设有连接孔66,且连接条62贯穿连接孔66,下压换位滑块65使换位滑块65下端脱离卡位凸起63的限制,换位滑块65下端设置有伸缩柱67,伸缩柱67下端设置有滑动块68,且滑动块68位于滑动槽64中滑动,滑动块68与换位滑块65之间连接有卡位弹簧69,卡位弹簧69使卡位凸起63卡住换位滑块65下端,且卡位弹簧69套设于伸缩柱67上。
换位时,将换位滑块65下压并从换位框61一端滑动至换位框61另一端,而后在卡位弹簧69的作用下换位滑块65弹起,卡位凸起63卡住换位滑块65下端,使换位滑块65固定。
参考图8,为本发明连接元件7的结构示意图,换位装置6还包括换位滑块65上安装的连接元件7,连接元件7包括滑动设置于换位滑块65上的连接轴71,连接轴71外侧转动套设有连接转筒72,连接转筒72上安装有第一锥齿轮73和驱动齿轮74,且第一锥齿轮73位于驱动齿轮74上端,第一锥齿轮73和驱动齿轮74共同转动,播种底座11上端设置有安装罩75,保护内部的元件,安装罩75上对称安装有两转动轴76,转动轴76上均安装有第二锥齿轮77,滑动换位滑块65使第一锥齿轮73与其中一第二锥齿轮77啮合,转动轴76上还安装有第二连接齿轮78,减速器58输出轴上安装有第一连接齿轮79,且第二连接齿轮78共同与第一连接齿轮79啮合,减速器58输出轴通过第一连接齿轮79和第二连接齿轮78的啮合使转动轴76转动。
减速器58输出端在第一连接齿轮79和第二连接齿轮78的啮合下使两转动轴76转动,进而使两第二锥齿轮77同向转动,滑动换位滑块65使第一锥齿轮73与其中一第二锥齿轮77啮合,进而在连接转筒72的带动下使驱动齿轮74转动。
参考图9,为本发明摆动装置8的结构示意图,驱动齿轮74转动时,为了带动转动筒17间歇转动带动播种臂23摆动,播种底座11上设置有摆动装置8,摆动装置8包括安装于播种底座11上的安装框81,安装框81中对称安装有两齿轮轴82,齿轮轴82上安装有分别与驱动齿轮74啮合的第一摆动齿轮83,且第一摆动齿轮83之间相互啮合,使两第一摆动齿轮83转动方向相反,齿轮轴82上还安装有不完全齿轮84,且不完全齿轮84位于第一摆动齿轮83上端,转动筒17下端安装有第二摆动齿轮85,且第二摆动齿轮85与不完全齿轮84交替啮合,使转动筒17间歇反向转动。
滑动换位滑块65使驱动齿轮74与其中一第一摆动齿轮83啮合,第一摆动齿轮83之间相互啮合反向转动,使不完全齿轮84之间反向转动,间歇与第二摆动齿轮85啮合,进而使转动筒17间歇反向转动,进而在播种筒24上料后转向限位孔36上方,并在胡麻种子种植完成后转向上料框41以将胡麻种子送入播种筒24内。
此外,本发明还提供了一种胡麻膜下滴灌水肥一体化播种方法,其播种方法包括如下步骤:
S1:将胡麻种子放置于上料框41内,根据胡麻播种的位置按压滑动换位滑块65,使第一锥齿轮73与其中一第二锥齿轮77啮合,驱动齿轮74与其中一第一摆动齿轮83啮合,以使胡麻种子在播种时,播种臂23转向需要播种的一侧,并且调节减速器58的输入端与输出端的输送速度比例,以控制播种臂23摆动一个循环的时间,进而在本设备行进时控制胡麻种子之间的播种距离。
S2:红外探头413检测出上料孔412正对向上料滑槽411下端,使上料电机49驱动上料盘46以设定速度转动,以控制胡麻种子的单次种植数量,通过上料槽47向下输送的胡麻种子进入上料滑槽411穿过上料孔412进入播种筒24中。
S3:驱动轮轴12转动驱使本设备移动,驱动转动筒17转动,不完全齿轮84的传动下,使破土锥32正对于膜下需要播种的部位,下压破土锥32钻入土中,而后滑动盘33在限位孔36的限制下在安装筒31上向上滑动,破土锥32在破土连杆34的带动下分开,将胡麻种子放入土壤中,而后向上移动滑动柱21时,破土锥32在重力的作用下重新闭合。
S4:在复位弹簧22的作用下滑动柱21向上滑动,破土锥32上移复位,不完全齿轮84的传动下,转动筒17反向转动,使播种臂23转向上料架16,最终转动至上料孔412正对向上料滑槽411下端,而后同理,上料电机49再次使胡麻种子进入播种筒24内,进行连续播种。
本具体实施方式的实施例均为本发明的较佳实施例,并非依此限制本发明的保护范围,故:凡依本发明的结构、形状、原理所做的等效变化,均应涵盖于本发明的保护范围之内。
文章摘自国家发明专利,一种胡麻膜下滴灌水肥一体化播种装置及使用方法,发明人:叶春雷,陈军,王炜,孙夏玲,何娟,李进京,申请号:202411759840.6,申请日:2024.12.03









