摘 要: 本发明提供了苎麻种植用播种装置,包括移动座以及设置在移动座一侧的开沟机构;还包括:施肥机构,施肥机构安装至移动座上,且施肥机构位于开沟机构的后方;存料箱,存料箱安装至移动座上,且存料箱位于施肥机构的后方,存料箱内部固定安装有隔板,且存料箱通过隔板分隔成基质腔和种子腔,基质腔的底部和种子腔的底部分别设置第一料口和第二料口;存料箱的内部设置有可自转的间歇播种轮,且间歇播种轮的圆柱面上开设有槽体,第一料口和第二料口分别位于间歇播种轮的圆柱面顶部两侧。通过施肥机构的设置,在进行撒种之前,可在种植位置处施加肥料,保障了播种后,种子生长发育的效果。
权利要求书
1.苎麻种植用播种装置,包括移动座(1)以及设置在移动座(1)一侧的开沟机构(3);其特征在于,还包括:
施肥机构(4),所述施肥机构(4)安装至移动座(1)上,且施肥机构(4)位于开沟机构(3)的后方;
存料箱(5),所述存料箱(5)安装至移动座(1)上,且存料箱(5)位于施肥机构(4)的后方,所述存料箱(5)内部固定安装有隔板(501),且存料箱(5)通过隔板(501)分隔成基质腔(502)和种子腔(503),所述基质腔(502)的底部和种子腔(503)的底部分别设置第一料口(5021)和第二料口(5031);所述存料箱(5)的内部设置有可自转的间歇播种轮(6),且间歇播种轮(6)的圆柱面上开设有槽体(601),所述第一料口(5021)和第二料口(5031)分别位于间歇播种轮(6)的圆柱面顶部两侧;安装至槽体(601)内且可在槽体(601)内自动滑动调节位置的分隔机构(8),所述槽体(601)通过分隔机构(8)分隔成内槽室(6011)和存料槽室(6012),通过分隔机构(8)在槽体(601)内滑动,调节存料槽室(6012)深度。
2.如权利要求1所述的苎麻种植用播种装置,其特征在于:所述移动座(1)包括机架(101)、脚轮(102)以及台板(103);所述机架(101)的顶部固定安装有台板(103),所述机架(101)的底部四角处均安装有脚轮(102);所述台板(103)的一侧固定安装有连接架(2),所述连接架(2)一侧开设有多个连接孔(201)。
3.如权利要求2所述的苎麻种植用播种装置,其特征在于:所述开沟机构(3)包括固定架(301)、伸缩驱动件(302)以及开沟梨头(303);所述固定架(301)固定安装至台板(103)一侧的顶面上,所述固定架(301)的底端开设有凹孔,所述凹孔内固定安装有伸缩驱动件(302),且伸缩驱动件(302)的底端输出轴固接有开沟梨头(303)。
4.如权利要求2所述的苎麻种植用播种装置,其特征在于:所述施肥机构(4)包括固定安装至台板(103)上的肥料箱(401),所述肥料箱(401)的底部设置有位于台板(103)下方的下料管(402),所述下料管(402)的底端口安装有阀门(403),所述肥料箱(401)的顶部固定安装有架体(404),所述架体(404)的顶部固定安装有第一电机(405),所述第一电机(405)的输出轴端固接有轴体(406),所述轴体(406)上固定套接有螺旋叶片(407),且轴体(406)的底端以及螺旋叶片(407)的底端均延伸至下料管(402)内。
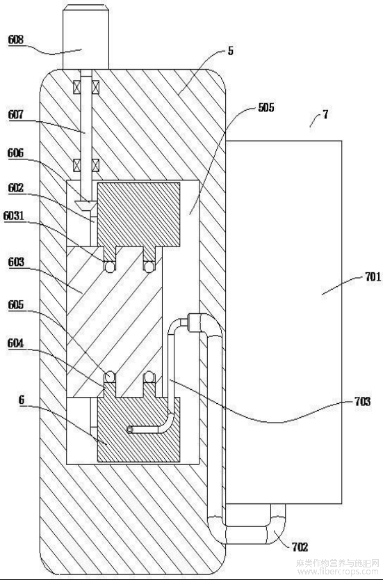
5.如权利要求2所述的苎麻种植用播种装置,其特征在于:所述存料箱(5)固定安装至台板(103)上,且存料箱(5)的底部设置有底开口(504),所述底开口(504)的上方设置有与第一料口(5021)和第二料口(5031)连通的安装腔(505),所述间歇播种轮(6)间隙配合至安装腔(505)内。
6.如权利要求5所述的苎麻种植用播种装置,其特征在于:所述间歇播种轮(6)的中部设置有圆孔,所述圆孔间隙配合连接有固定圆柱(603),且固定圆柱(603)固定安装至安装腔(505)内,所述固定圆柱(603)上开设有至少一个圆环槽(6031),所述圆环槽(6031)内间隙配合连接有嵌环(604),且嵌环(604)的外圈与间歇播种轮(6)的圆孔壁固接,所述嵌环(604)的内圈设置有若干个滚珠(605);所述间歇播种轮(6)的一侧固接有第一圆锥齿轮(602),且第一圆锥齿轮(602)与间歇播种轮(6)同轴设置,所述第一圆锥齿轮(602)啮合连接有第二圆锥齿轮(606),所述第二圆锥齿轮(606)的中部固接有转轴(607),且转轴(607)与存料箱(5)转动连接,所述存料箱(5)的一侧固接有第二电机(608),所述第二电机(608)的输出轴端与转轴(607)端部固接。
7.如权利要求6所述的苎麻种植用播种装置,其特征在于:所述分隔机构(8)包括固定安装至固定圆柱(603)上的永磁条(801)以及配合连接至槽体(601)内的分隔座(802),所述永磁条(801)的一端位于第一料口(5021)的下方,所述分隔座(802)面向固定圆柱(603)的板面上固接有可被永磁条(801)磁吸的铁块(803),所述分隔座(802)的两侧均固接有导块(804),所述导块(804)与开设在槽体(601)两侧壁上的导槽(610)滑动连接,所述导槽(610)内设置有第一弹簧(805),所述导块(804)通过第一弹簧(805)与导槽(610)的一端槽壁弹性连接。
8.如权利要求7所述的苎麻种植用播种装置,其特征在于:还包括加湿机构(7),所述加湿机构(7)包括固定安装至存料箱(5)外壁上的水箱(701)、第一管体(702)以及波纹水囊(704),所述第一管体(702)的一端与水箱(701)的底部连通,所述间歇播种轮(6)内部固定安装有第二管体(703),所述第二管体(703)的一端与波纹水囊(704)的底部连接,且第二管体(703)与波纹水囊(704)之间设置有第一单向阀(709),所述第二管体(703)的另一端延伸至间歇播种轮(6)的外部,且第二管体(703)位于间歇播种轮(6)外部的一端与间歇播种轮(6)同轴设置,所述第一管体(702)与存料箱(5)固接,且第一管体(702)远离水箱(701)的一端与第二管体(703)位于间歇播种轮(6)外部的一端旋转密封连接;所述间歇播种轮(6)的内部设置有内腔(609),且内腔(609)位于导槽(610)的一侧,所述波纹水囊(704)位于内腔(609)中,且波纹水囊(704)的底部与内腔(609)的腔壁固接,所述波纹水囊(704)的顶部固定有板体,且板体固接有连接杆(705),所述连接杆(705)固接有连接板(706),所述连接板(706)与导块(804)固接,所述波纹水囊(704)的顶部连接有软管(707),且软管(707)与波纹水囊(704)之间设置有第二单向阀(710),所述软管(707)远离波纹水囊(704)的一端连接有出水环管(708),所述出水环管(708)套设至存料槽室(6012)的顶端处,且出水环管(708)固定嵌合安装至存料槽室(6012)的槽壁处。
9.如权利要求8所述的苎麻种植用播种装置,其特征在于:所述出水环管(708)的内环面上均匀设置有若干个出水口(7081),且出水口(7081)一端面与存料槽室(6012)的槽壁平齐。
10.如权利要求7所述的苎麻种植用播种装置,其特征在于:还包括遮挡机构(9),所述遮挡机构(9)包括与分隔座(802)两侧顶面固接有遮挡皮带(901),所述间歇播种轮(6)内部开设有通道以及与通道连通的滑槽(904),所述滑槽(904)内滑动安装有滑块(902),且滑块(902)通过第二弹簧(903)与滑槽(904)的端面弹性连接,所述遮挡皮带(901)穿过通道,且遮挡皮带(901)延伸至滑槽(904)内,所述遮挡皮带(901)的一端与滑块(902)固接。
技术领域
本发明涉及农业种植领域,特别涉及苎麻种植用播种装置。
背景技术
苎麻在中国有悠久的栽培历史,至少可追溯到三千年以上。在中国云南、贵州、广西、广东、福建、江西、台湾、浙江、湖北、四川,以及甘肃、陕西、河南的南部等地广泛栽培,并在越南、老挝等地也有分布。苎麻的种植可通过播种进行。
如现有专利文献“CN214385054U一种苎麻种植用播种装置”中,其公开了一种苎麻种植用播种装置,包括移动机构、下种机构,所述移动机构包括底板、移动轮、填土架,所述底板下端面安装有所述移动轮,所述移动轮内侧安装有所述填土架,所述填土架一侧设置有弹簧架,所述弹簧架下方设置有转架,所述转架内侧安装有压辊;所述下种机构包括装料组件、电磁阀门、下料管,所述装料组件下方安装有所述电磁阀门,所述电磁阀门下方安装有所述下料管,所述下料管下方设置有翻土管,所述翻土管外侧安装有固定架。该实用新型结构简单,设计合理,生产成本低,不仅方便控制下种的量,同时可以很好的对下种后的沟槽进行填土,不需要人工再次操作,节省人力,实用性高。上述现有技术虽可实现苎麻播种作业,但在进行沟内撒种前,缺少施肥设计,无法在沟底处形成一层肥料,从而导致种子生长发育效果不佳的技术问题。
发明内容
本发明为了解决沟底缺少施肥设计,无法促进种子生长发育效果的技术问题,而提供苎麻种植用播种装置。
本发明通过以下技术方案解决上述技术问题:
本发明提供了苎麻种植用播种装置,包括移动座以及设置在移动座一侧的开沟机构;还包括:施肥机构,所述施肥机构安装至移动座上,且施肥机构位于开沟机构的后方;存料箱,所述存料箱安装至移动座上,且存料箱位于施肥机构的后方,所述存料箱内部固定安装有隔板,且存料箱通过隔板分隔成基质腔和种子腔,所述基质腔的底部和种子腔的底部分别设置第一料口和第二料口;所述存料箱的内部设置有可自转的间歇播种轮,且间歇播种轮的圆柱面上开设有槽体,所述第一料口和第二料口分别位于间歇播种轮的圆柱面顶部两侧;安装至槽体内且可在槽体内自动滑动调节位置的分隔机构,所述槽体通过分隔机构分隔成内槽室和存料槽室,通过分隔机构在槽体内滑动,调节存料槽室深度。
在本技术方案中,通过施肥机构的设置,在进行撒种之前,可在种植位置处施加肥料,保障了播种后,种子生长发育的效果;进一步通过存料箱内基质腔和种子腔的设置、可自转的间歇播种轮的设置、开设在间歇播种轮上槽体的设置,间歇播种轮进行自转时,槽体依次从种子腔下方的第二料口、基质腔第一料口经过,使种子和基质土依次进入到槽体内的存料槽室中,从而种子位于存料槽室深处,在间歇播种轮转动,使槽体移动到下方,存料槽室内的种子和基质土进行倒出,且倒出过程中,基质土先落下覆盖至肥料上,种子位于基质土上,避免种子直接与肥料接触,防止出现烧种的现象;更进一步通过安装至槽体内且可在槽体内自动滑动调节位置的分隔机构,通过分隔机构在槽体内滑动,调节存料槽室深度,在移动至第一料口处,通过增大其深度,保障了种子进入后,基质土可继续进入。
优选地,所述移动座包括机架、脚轮以及台板;所述机架的顶部固定安装有台板,所述机架的底部四角处均安装有脚轮;所述台板的一侧固定安装有连接架,所述连接架一侧开设有多个连接孔。
在本技术方案中,通过连接架与外部车辆进行连接,具体通过连接孔提供安装的孔位,通过外部车辆进行拖拽,使移动座底部的脚轮在地面上均滚动,实现整个装置的移动。
优选地,所述开沟机构包括固定架、伸缩驱动件以及开沟梨头;所述固定架固定安装至台板一侧的顶面上,所述固定架的底端开设有凹孔,所述凹孔内固定安装有伸缩驱动件,且伸缩驱动件的底端输出轴固接有开沟梨头。
在本技术方案中,整个装置在进行移动时,通过开沟机构进行田地的开沟,伸缩驱动件通过伸出,使开沟梨头进入到土层中,通过伸缩驱动件的伸缩调节,改变开沟梨头嵌入到土层的深度,从而实现开沟深度的调节。
优选地,所述施肥机构包括固定安装至台板上的肥料箱,所述肥料箱的底部设置有位于台板下方的下料管,所述下料管的底端口安装有阀门,所述肥料箱的顶部固定安装有架体,所述架体的顶部固定安装有第一电机,所述第一电机的输出轴端固接有轴体,所述轴体上固定套接有螺旋叶片,且轴体的底端以及螺旋叶片的底端均延伸至下料管内。
在本技术方案中,施肥机构位于开沟机构后方,在进行开沟后,通过施肥机构在沟底处撒入肥料,使沟底形成一层肥料层,用于提高种子生长发育效果。
优选地,所述存料箱固定安装至台板上,且存料箱的底部设置有底开口,所述底开口的上方设置有与第一料口和第二料口连通的安装腔,所述间歇播种轮间隙配合至安装腔内。
在本技术方案中,安装腔为间歇播种轮提供安装位置,间歇播种轮位于第一料口和第二料口下方,且间歇播种轮位于底开口的下方,在间隙播种轮持续转动时,使其上的槽体位于间歇播种轮顶部,与第一料口和第二料口对齐,用于进入基质土和种子;使槽体位于间歇播种轮下方,与底开口对齐,通过重力,可将基质土和种子从底开口倒出。
优选地,所述间歇播种轮的中部设置有圆孔,所述圆孔间隙配合连接有固定圆柱,且固定圆柱固定安装至安装腔内,所述固定圆柱上开设有至少一个圆环槽,所述圆环槽内间隙配合连接有嵌环,且嵌环的外圈与间歇播种轮的圆孔壁固接,所述嵌环的内圈设置有若干个滚珠;所述间歇播种轮的一侧固接有第一圆锥齿轮,且第一圆锥齿轮与间歇播种轮同轴设置,所述第一圆锥齿轮啮合连接有第二圆锥齿轮,所述第二圆锥齿轮的中部固接有转轴,且转轴与存料箱转动连接,所述存料箱的一侧固接有第二电机,所述第二电机的输出轴端与转轴端部固接。
在本技术方案中,通过上述结构,实现了间歇播种轮的转动安装以及自转驱动,改变槽体的位置,用于播种,其中每次播种,需使间歇播种轮转动一圈,实现间歇式播种,使苎麻间隔种植在沟内。
优选地,所述分隔机构包括固定安装至固定圆柱上的永磁条以及配合连接至槽体内的分隔座,所述永磁条的一端位于第一料口的下方,所述分隔座面向固定圆柱的板面上固接有可被永磁条磁吸的铁块,所述分隔座的两侧均固接有导块,所述导块与开设在槽体两侧壁上的导槽滑动连接,所述导槽内设置有第一弹簧,所述导块通过第一弹簧与导槽的一端槽壁弹性连接。
在本技术方案中,通过分隔机构中的分隔座进行槽体的分隔,同时分隔座可在槽体内进行移动,实现存料槽室深度的调节,同时分隔座的调节移动,通过永磁条的磁吸力配合第一弹簧的弹力实现,无需设置额外动力源。
优选地,还包括加湿机构,所述加湿机构包括固定安装至存料箱外壁上的水箱、第一管体以及波纹水囊,所述第一管体的一端与水箱的底部连通,所述间歇播种轮内部固定安装有第二管体,所述第二管体的一端与波纹水囊的底部连接,且第二管体与波纹水囊之间设置有第一单向阀,所述第二管体的另一端延伸至间歇播种轮的外部,且第二管体位于间歇播种轮外部的一端与间歇播种轮同轴设置,所述第一管体与存料箱固接,且第一管体远离水箱的一端与第二管体位于间歇播种轮外部的一端旋转密封连接;所述间歇播种轮的内部设置有内腔,且内腔位于导槽的一侧,所述波纹水囊位于内腔中,且波纹水囊的底部与内腔的腔壁固接,所述波纹水囊的顶部固定有板体,且板体固接有连接杆,所述连接杆固接有连接板,所述连接板与导块固接,所述波纹水囊的顶部连接有软管,且软管与波纹水囊之间设置有第二单向阀,所述软管远离波纹水囊的一端连接有出水环管,所述出水环管套设至存料槽室的顶端处,且出水环管固定嵌合安装至存料槽室的槽壁处。
在本技术方案中,加湿机构用于基质土进入到存料槽室过程中的加湿,使基质土具有一定的水份,为种子发育提供水,起到一定的促进种子发育的作用。
优选地,所述出水环管的内环面上均匀设置有若干个出水口,且出水口一端面与存料槽室的槽壁平齐。
在本技术方案中,通过出水环管,实现存料槽室周面上的均匀出水,实现均匀加湿通过的基质土。
优选地,还包括遮挡机构,所述遮挡机构包括与分隔座两侧顶面固接有遮挡皮带,所述间歇播种轮内部开设有通道以及与通道连通的滑槽,所述滑槽内滑动安装有滑块,且滑块通过第二弹簧与滑槽的端面弹性连接,所述遮挡皮带穿过通道,且遮挡皮带延伸至滑槽内,所述遮挡皮带的一端与滑块固接。
在本技术方案中,遮挡机构的设置,用于遮挡槽体两侧的导槽,放置种子和基质土进入。
在符合本领域常识的基础上,上述各优选条件,可任意组合,即得本发明各较佳实例。
本发明的积极进步效果在于:
上述提出的苎麻种植用播种装置,通过施肥机构的设置,在进行撒种之前,可在种植位置处施加肥料,保障了播种后,种子生长发育的效果;进一步通过存料箱内基质腔和种子腔的设置、可自转的间歇播种轮的设置、开设在间歇播种轮上槽体的设置,间歇播种轮进行自转时,槽体依次从种子腔下方的第二料口、基质腔第一料口经过,使种子和基质土依次进入到槽体内的存料槽室中,从而种子位于存料槽室深处,在间歇播种轮转动,使槽体移动到下方,存料槽室内的种子和基质土进行倒出,且倒出过程中,基质土先落下覆盖至肥料上,种子位于基质土上,避免种子直接与肥料接触,防止出现烧种的现象;更进一步通过安装至槽体内且可在槽体内自动滑动调节位置的分隔机构,通过分隔机构在槽体内滑动,调节存料槽室深度,在移动至第一料口处,通过增大其深度,保障了种子进入后,基质土可继续进入。
附图说明
图1为本发明整体的结构示意图。
图2为本发明开沟机构的结构示意图。
图3为本发明施肥机构的结构示意图。
图4为本发明存料箱内部的结构示意图。
图5为本发明间歇播种轮安装以及加湿机构的结构示意图。
图6为本发明存料箱内部截面结构示意图。
图7为本发明图6中A部放大的结构示意图。
图8为本发明波纹水囊两端处的结构示意图。
图9为本发明遮挡机构与分隔机构的结构示意图。
图10为本发明出水环管以及遮挡皮带在出水环管处的结构示意图。
图11为本发明间歇播种轮的立体结构示意图。
附图标记说明
1、移动座;101、机架;102、脚轮;103、台板;
2、连接架;201、连接孔;
3、开沟机构;301、固定架;302、伸缩驱动件;303、开沟梨头;
4、施肥机构;401、肥料箱;402、下料管;403、阀门;404、架体;405、第一电机;406、轴体;407、螺旋叶片;
5、存料箱;501、隔板;502、基质腔;5021、第一料口;503、种子腔;5031、第二料口;504、底开口;505、安装腔;
6、间歇播种轮;601、槽体;6011、内槽室;6012、存料槽室;602、第一圆锥齿轮;603、固定圆柱;6031、圆环槽;604、嵌环;605、滚珠;606、第二圆锥齿轮;607、转轴;608、第二电机;609、内腔;610、导槽;
7、加湿机构;701、水箱;702、第一管体;703、第二管体;704、波纹水囊;705、连接杆;706、连接板;707、软管;708、出水环管;7081、出水口;709、第一单向阀;710、第二单向阀;
8、分隔机构;801、永磁条;802、分隔座;803、铁块;804、导块;805、第一弹簧;
9、遮挡机构;901、遮挡皮带;902、滑块;903、第二弹簧;904、滑槽。
具体实施方式
下面通过实施例的方式进一步说明本发明,但并不因此将本发明限制在所述的实施例范围之中。
如图1?11所示,苎麻种植用播种装置,包括移动座1以及设置在移动座1一侧的开沟机构3;还包括:施肥机构4,所述施肥机构4安装至移动座1上,且施肥机构4位于开沟机构3的后方;存料箱5,所述存料箱5安装至移动座1上,存料箱5位于施肥机构4的后方,所述存料箱5内部固定安装有隔板501,存料箱5通过隔板501分隔成基质腔502和种子腔503,所述基质腔502的底部和种子腔503的底部分别设置第一料口5021和第二料口5031;所述存料箱5的内部设置有可自转的间歇播种轮6,间歇播种轮6的圆柱面上开设有槽体601,所述第一料口5021和第二料口5031分别位于间歇播种轮6的圆柱面顶部两侧;安装至槽体601内
可在槽体601内自动滑动调节位置的分隔机构8,所述槽体601通过分隔机构8分隔成内槽室6011和存料槽室6012,通过分隔机构8在槽体601内滑动,调节存料槽室6012深度。
在具体实施时,通过施肥机构4的设置,在进行撒种之前,可在种植位置处施加肥料,保障了播种后,种子生长发育的效果;进一步通过存料箱5内基质腔502和种子腔503的设置、可自转的间歇播种轮6的设置、开设在间歇播种轮6上槽体601的设置,间歇播种轮6进行自转时,槽体601依次从种子腔503下方的第二料口5031、基质腔502第一料口5021经过,使种子和基质土依次进入到槽体601内的存料槽室6012中,从而种子位于存料槽室6012深处,在间歇播种轮6转动,使槽体601移动到下方,存料槽室6012内的种子和基质土进行倒出,倒出过程中,基质土先落下覆盖至肥料上,种子位于基质土上,避免种子直接与肥料接触,防止出现烧种的现象;更进一步通过安装至槽体601内
可在槽体601内自动滑动调节位置的分隔机构8,通过分隔机构8在槽体601内滑动,调节存料槽室6012深度,在移动至第一料口5021处,通过增大其深度,保障了种子进入后,基质土可继续进入。
如图1所示,作为具体的技术方案,所述移动座1包括机架101、脚轮102以及台板103;所述机架101的顶部固定安装有台板103,所述机架101的底部四角处均安装有脚轮102;所述台板103的一侧固定安装有连接架2,所述连接架2一侧开设有多个连接孔201。
通过连接架2与外部车辆进行连接,具体通过连接孔201提供安装的孔位,通过外部车辆进行拖拽,使移动座1底部的脚轮102在地面上均滚动,实现整个装置的移动。
如图2所示,作为具体的技术方案,所述开沟机构3包括固定架301、伸缩驱动件302以及开沟梨头303;所述固定架301固定安装至台板103一侧的顶面上,所述固定架301的底端开设有凹孔,所述凹孔内固定安装有伸缩驱动件302,且伸缩驱动件302的底端输出轴固接有开沟梨头303。
整个装置在进行移动时,通过开沟机构3进行田地的开沟,伸缩驱动件302通过伸出,使开沟梨头303进入到土层中,通过伸缩驱动件302的伸缩调节,改变开沟梨头303嵌入到土层的深度,从而实现开沟深度的调节,进一步通过外部车辆拖拽力,使开沟梨头303移动,实现开沟作业。
其中伸缩驱动件302优选气缸、或液压缸。
如图1和图3所示,作为具体的技术方案,所述施肥机构4包括固定安装至台板103上的肥料箱401,所述肥料箱401的底部设置有位于台板103下方的下料管402,所述下料管402的底端口安装有阀门403,所述肥料箱401的顶部固定安装有架体404,所述架体404的顶部固定安装有第一电机405,所述第一电机405的输出轴端固接有轴体406,所述轴体406上固定套接有螺旋叶片407,轴体406的底端以及螺旋叶片407的底端均延伸至下料管402内。
施肥机构4位于开沟机构3后方,在进行开沟后,通过施肥机构4在沟底处撒入肥料,使沟底形成一层肥料层,用于提高种子生长发育效果;具体运行如下,在施肥时,打开阀门403,第一电机405带动轴体406和螺旋叶片407一起进行转动,进行肥料箱401内肥料的螺旋输送,使肥料通过下料管402和阀门403后,落入到沟内,实现施肥,在施肥结束后,关闭第一电机405以及阀门403。
如图4?5所示,作为具体的技术方案,所述存料箱5固定安装至台板103上,存料箱5的底部设置有底开口504,所述底开口504的上方设置有与第一料口5021和第二料口5031连通的安装腔505,所述间歇播种轮6间隙配合至安装腔505内。
安装腔505为间歇播种轮6提供安装位置,间歇播种轮6位于第一料口5021和第二料口5031下方,间歇播种轮6位于底开口504的下方,在间隙播种轮持续转动时,使其上的槽体601位于间歇播种轮6顶部,与第一料口5021和第二料口5031对齐,用于进入基质土和种子;使槽体601位于间歇播种轮6下方,与底开口504对齐,通过重力,可将基质土和种子从底开口504倒出。
如图5所示,作为具体的技术方案,所述间歇播种轮6的中部设置有圆孔,所述圆孔间隙配合连接有固定圆柱603,固定圆柱603固定安装至安装腔505内,所述固定圆柱603上开设有至少一个圆环槽6031,所述圆环槽6031内间隙配合连接有嵌环604,嵌环604的外圈与间歇播种轮6的圆孔壁固接,所述嵌环604的内圈设置有若干个滚珠605;所述间歇播种轮6的一侧固接有第一圆锥齿轮602,第一圆锥齿轮602与间歇播种轮6同轴设置,所述第一圆锥齿轮602啮合连接有第二圆锥齿轮606,所述第二圆锥齿轮606的中部固接有转轴607,转轴607与存料箱5转动连接,所述存料箱5的一侧固接有第二电机608,所述第二电机608的输出轴端与转轴607端部固接。
通过上述结构,实现了间歇播种轮6的转动安装以及自转驱动,改变槽体601的位置,用于播种,其中每次播种,需使间歇播种轮6转动一圈,实现间歇式播种,使苎麻间隔种植在沟内;具体运行如下,通过第二电机608带动转轴607进行转动,通过第一圆锥齿轮602和第二圆锥齿轮606的啮合传动,使间歇播种轮6进行转动。
如图6?7所示,作为具体的技术方案,所述分隔机构8包括固定安装至固定圆柱603上的永磁条801以及配合连接至槽体601内的分隔座802,所述永磁条801的一端位于第一料口5021的下方,所述分隔座802面向固定圆柱603的板面上固接有可被永磁条801磁吸的铁块803,所述分隔座802的两侧均固接有导块804,所述导块804与开设在槽体601两侧壁上的导槽610滑动连接,所述导槽610内设置有第一弹簧805,所述导块804通过第一弹簧805与导槽610的一端槽壁弹性连接。
通过分隔机构8中的分隔座802进行槽体601的分隔,同时分隔座802可在槽体601内进行移动,实现存料槽室6012深度的调节,同时分隔座802的调节移动,通过永磁条801的磁吸力配合第一弹簧805的弹力实现,无需设置额外动力源。
具体运行如下,在槽体601与第二料口5031对齐时,铁块803未与永磁条801对齐,铁块803不受磁吸力,分隔座802位于高位,存料槽室6012较小,种子腔503内的种子通过重力进入到此时的存料槽内,填满,然后间歇播种轮6进行转动,槽体601与第一料口5021对齐,此时铁块803与永磁条801对齐,通过磁吸力,驱动铁块803带动分隔板501进行移动,同时分隔板501两侧的导块804在导槽610中滑动,压缩第一弹簧805,分隔板501移动后,使存料槽室6012增大,从而基质腔502中的基质土可从第一料口5021进入到存料槽室6012中,继续进行填满,在填满后,间歇播种轮6继续进行转动,直至槽体601移动到底开口504处,该位置未设置永磁条801,铁块803不受磁吸,通过第一弹簧805的弹力,驱动导块804带动分隔座802移动,使复位,同时基质土和种子通过重力,可向下落入沟内,实现种植。
如图5、图7?8所示,作为具体的技术方案,还包括加湿机构7,所述加湿机构7包括固定安装至存料箱5外壁上的水箱701、第一管体702以及波纹水囊704,所述第一管体702的一端与水箱701的底部连通,所述间歇播种轮6内部固定安装有第二管体703,所述第二管体703的一端与波纹水囊704的底部连接,第二管体703与波纹水囊704之间设置有第一单向阀709,所述第二管体703的另一端延伸至间歇播种轮6的外部,第二管体703位于间歇播种轮6外部的一端与间歇播种轮6同轴设置,所述第一管体702与存料箱5固接,第一管体702远离水箱701的一端与第二管体703位于间歇播种轮6外部的一端旋转密封连接;所述间歇播种轮6的内部设置有内腔609,内腔609位于导槽610的一侧,所述波纹水囊704位于内腔609中,波纹水囊704的底部与内腔609的腔壁固接,所述波纹水囊704的顶部固定有板体,板体固接有连接杆705,所述连接杆705固接有连接板706,所述连接板706与导块804固接,所述波纹水囊704的顶部连接有软管707,软管707与波纹水囊704之间设置有第二单向阀710,所述软管707远离波纹水囊704的一端连接有出水环管708,所述出水环管708套设至存料槽室6012的顶端处,出水环管708固定嵌合安装至存料槽室6012的槽壁处。
加湿机构7用于基质土进入到存料槽室6012过程中的加湿,使基质土具有一定的水份,为种子发育提供水,起到一定的促进种子发育的作用。
其具体运行如下,在分隔座802进行移动,增大存料槽室6012的深度过程中,导块804带动连接板706、连接杆705一起下行移动,进行下压波纹水囊704,使波纹水囊704压缩,内部体积减小,从而将波纹水囊704内的水进行挤出,水通过第二单向阀710、软管707后,进入到出水环管708,出水环管708进行出水,为从出水环管708处通过的基质土提供加湿作业;在槽体601移动到底开口504处,分隔座802复位移动时,导块804带动连接板706、连接杆705一起移动,进行拉伸波纹水囊704,使波纹水囊704复位,波纹水囊704进行抽吸,使水箱701中的水,依次通过第一管体702、第二管体703以及第一单向阀709后,进入到波纹水囊704中,用于补充水,为下次加湿做准备。
其中波纹水囊704采用橡胶材质,四周为波纹型,与波纹伸缩管类似,与波纹伸缩管的区别在于两端处于封闭,使内部形成一个囊腔。
其中第一管体702和第二管体703采用旋转密封连接,保障第二管体703可随间歇播种轮6一起进行转动,同时第一管体702和第二管体703保持密封连接,保障了水的舒输送。
其中旋转密封连接在现有技术中已经具有多种完备的技术手段,如现有专利文献“CN103216622B一种旋转动密封结构”,此处不再赘述。
如图10所示,作为具体的技术方案,所述出水环管708的内环面上均匀设置有若干个出水口7081,出水口7081一端面与存料槽室6012的槽壁平齐。
通过出水环管708,实现存料槽室6012周面上的均匀出水,实现均匀加湿通过的基质土。
具体的,水通过软管707进入出水环管708后,从均匀分布的若干个出水口7081离开,可实现存料槽室6012周面上的均匀出水。
如图9所示,作为具体的技术方案,还包括遮挡机构9,所述遮挡机构9包括与分隔座802两侧顶面固接有遮挡皮带901,所述间歇播种轮6内部开设有通道以及与通道连通的滑槽904,所述滑槽904内滑动安装有滑块902,且滑块902通过第二弹簧903与滑槽904的端面弹性连接,所述遮挡皮带901穿过通道,且遮挡皮带901延伸至滑槽904内,所述遮挡皮带901的一端与滑块902固接。
遮挡机构9的设置,用于遮挡槽体601两侧的导槽610,放置种子和基质土进入。具体通过遮挡皮带901进行遮挡,遮挡皮带901与分隔座802固接,分隔座802进行移动时,拉动遮挡皮带901端部,使遮挡皮带901抽拉出保障了存料槽室6012处导槽610的遮挡,遮挡皮带901移动时,带动滑块902在滑槽904中滑动,同时拉伸第二弹簧903,在分隔座802复位时,通过第二弹簧903的弹力,驱动滑块902移动,进而带动遮挡皮带901进行复位;保障了存料槽室6012深度可调状态下的两侧导槽610遮挡。
如图10所示,其中遮挡皮带901与出水环管708状态如下,遮挡皮带901不会对出水口7081造成遮挡。
其中,整个装置使用时,与外部车辆相连,整个装置的供电系统以及控制系统可外设在车辆中,用于整个装置的供电以及电控制。
其中,整个装置的后侧设置填土架,将地面上的土刮进沟槽内,将沟槽填满;在现有技术中已经具有多种完备的技术手段,如现有专利文献“CN214385054U一种苎麻种植用播种装置”中的填土架,此处不再赘述。
本发明不局限于上述实施方式,不论在其形状或结构上作任何变化,均落在本发明的保护范围之内。本发明的保护范围是由所附权利要求书限定的,本领域的技术人员在不背离本发明的原理和实质的前提下,可以对这些实施方式做出多种变更或修改,但这些变更和修改均落入本发明的保护范围。
文章摘自国家发明专利,苎麻种植用播种装置;发明人:王维,阚画春,徐道青,李淑英,刘小玲,郑曙峰,陈敏,陈超,李静芳;申请号:202410692016 .7;申请日:2024 .05 .31。












