摘 要:本发明涉及冷榨亚麻籽技术领域,具体为一种亚麻籽油低温压榨装置及其生产工艺,包括安装座,所述安装座的顶端一侧通过支架固定有低温冷榨箱。本发明在使用时当一个圆盘滤膜片使用一定时间后,通过气缸的伸缩工作,使得转轴带动安装架和圆环以及侧边锥形罩进行自动旋转切换,从而自动对电磁阀门管底端对应的圆盘滤膜片进行切换使用,无需人工拆装更换,大大减少了装置停止运行等待时间,提高整体工作效率,同时转轴在带动锥形罩和圆盘滤膜片进行旋转切换时,需要清理的锥形罩和圆盘滤膜片在旋转切换至收集桶顶端时会自动进行上下端翻转,使得圆盘滤膜片顶端过滤面堵塞拦截的一些杂质物会自动滴落到收集桶的内部进行清理收集。
权利要求书
1.一种亚麻籽油低温压榨装置,包括安装座(1),其特征在于:所述安装座(1)的顶端一侧通过支架固定有低温冷榨箱(2),所述低温冷榨箱(2)的底端输出端导通安装有电磁阀门管(3);
除渣机构(4),所述除渣机构(4)设于所述电磁阀门管(3)的内部;
滤膜切换机构(5),所述滤膜切换机构(5)设于所述安装座(1)的顶端一侧外部;
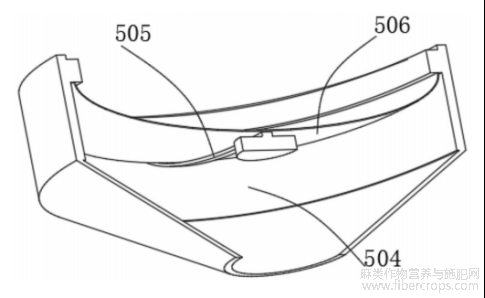
所述滤膜切换机构(5)包括转轴(501)、锥形罩(504)和圆盘滤膜片(506),所述转轴(501)纵向转动安装在安装座(1)的顶端一侧外部,所述转轴(501)的外部等角度环绕设置有若干个锥形罩(504),所述锥形罩(504)的内部均设有圆盘滤膜片(506);
刷除机构(6),所述刷除机构(6)设于所述安装座(1)靠近所述转轴(501)的顶端一侧。
2.根据权利要求1所述的一种亚麻籽油低温压榨装置,其特征在于:所述滤膜切换机构(5)还包括安装架(502)、圆环(503)、限位架(505)、齿轮杆(507)和固定架(5010),所述转轴(501)靠近锥形罩(504)的一侧外部均横向固定有安装架(502),且安装架(502)远离转轴(501)的一端外部之间套设固定有圆环(503),所述圆环(503)靠近锥形罩(504)的顶端一侧均通过转动座贯穿转动安装有齿轮杆(507),所述齿轮杆(507)的一端与对应侧锥形罩(504)的一侧外部安装固定,所述电磁阀门管(3)靠近转轴(501)的一侧外部横向固定有固定架(5010),所述锥形罩(504)的内部均固定有限位架(505),且圆盘滤膜片(506)贴合固定在限位架(505)的一侧外部。
3.根据权利要求2所述的一种亚麻籽油低温压榨装置,其特征在于:所述滤膜切换机构(5)还包括弧形齿条一(508)、弧形齿条二(509)、气缸(5011)、限位齿条(5012)、棘轮(5013)和收集桶(5014),所述安装座(1)的顶端一侧放置有收集桶(5014),所述圆环(503)靠近收集桶(5014)的顶端外部对称设置有弧形齿条一(508)和弧形齿条二(509),所述弧形齿条一(508)和弧形齿条二(509)均通过支架固定在固定架(5010)的底端一侧外部,所述转轴(501)的顶端转动贯穿安装在固定架(5010)的顶端一侧外部,且转轴(501)的顶端贯穿端安装有棘轮(5013),所述固定架(5010)的顶端一侧安装有气缸(5011),且气缸(5011)的输出端固定有限位齿条(5012),并且限位齿条(5012)的一侧与棘轮(5013)的一侧啮合连接。
4.根据权利要求2所述的一种亚麻籽油低温压榨装置,其特征在于:所述滤膜切换机构(5)还包括抵触杆(5015)、抵触孔(5016)和压缩弹簧(5017),所述齿轮杆(507)的一侧中间位置均贯穿导通设置有抵触孔(5016),所述安装架(502)靠近抵触孔(5016)的一侧内部纵向贯穿滑动卡合安装有抵触杆(5015),且抵触杆(5015)的一端抵触在抵触孔(5016)的一侧内部边缘处,所述抵触杆(5015)的底端与安装架(502)的底端一侧之间均套设连接有压缩弹簧(5017)。
5.根据权利要求3所述的一种亚麻籽油低温压榨装置,其特征在于:所述除渣机构(4)包括过滤盘(401)、环形收集槽(402)和排出通道(403),所述过滤盘(401)固定在电磁阀门管(3)的内部,且过滤盘(401)为圆锥状设置,所述电磁阀门管(3)位于所述过滤盘(401)底端边缘处的内部嵌入式设置有环形收集槽(402),且环形收集槽(402)与电磁阀门管(3)的底端内部之间均等角度环绕贯穿设置有过滤孔,所述环形收集槽(402)靠近收集桶(5014)的底端一侧内部纵向导通贯穿设置有排出通道(403)。
6.根据权利要求5所述的一种亚麻籽油低温压榨装置,其特征在于:所述除渣机构(4)还包括密封板(404)、驱动电机(405)、驱动齿轮(406)、齿环(407)、刮扫板(408),所述环形收集槽(402)靠近排出通道(403)顶端开口端的一侧内部贴合设置有弧形密封板(404),所述电磁阀门管(3)靠近弧形密封板(404)的一侧内部贯穿转动安装有齿环(407),所述齿环(407)的一侧与弧形密封板(404)的一侧安装固定,所述电磁阀门管(3)的一侧外部固定有驱动电机(405),且驱动电机(405)的输出端同轴固定有驱动齿轮(406),并且驱动齿轮(406)的一侧与齿环(407)的一侧啮合连接,所述弧形密封板(404)的一侧设置有圆弧状的刮扫板(408),且刮扫板(408)的一侧与过滤盘(401)底端边缘处一侧贴合。
7.根据权利要求3所述的一种亚麻籽油低温压榨装置,其特征在于:所述刷除机构(6)包括集气筒(601)、活塞杆(602)、单向进气阀门管(603)、限位铁杆(604)和复位弹簧(605),所述集气筒(601)为圆弧状设置,且集气筒(601)通过支架固定在安装座(1)靠近圆环(503)的顶端一侧外部,所述集气筒(601)的内部贯穿滑动安装有弧形状活塞杆(602),所述活塞杆(602)的一侧贯穿端纵向贯穿滑动卡合安装有限位铁杆(604),所述限位铁杆(604)的顶端一侧与其中一个安装架(502)的一侧外部贴合,所述集气筒(601)远离限位铁杆(604)的一侧外部导通安装有单向进气阀门管(603),所述限位铁杆(604)的一侧外部套设安装有复位弹簧(605)。
8.根据权利要求7所述的一种亚麻籽油低温压榨装置,其特征在于:所述刷除机构(6)还包括磁铁块(606)、挤压弹簧(607)和单向排气阀门管(608),所述活塞杆(602)位于集气筒(601)内部的外表面套设连接有挤压弹簧(607),所述收集桶(5014)靠近弧形齿条一(508)的顶端一侧通过支架固定有磁铁块(606),且磁铁块(606)设置在所述限位铁杆(604)的旋转移动轨迹上,以使得所述限位铁杆(604)移动旋转至所述磁铁块(606)顶端后限位铁杆(604)被磁铁块(606)吸引下降移动,所述集气筒(601)远离限位铁杆(604)的一侧外部贯穿安装有单向排气阀门管(608)。
9.根据权利要求8所述的一种亚麻籽油低温压榨装置,其特征在于:所述刷除机构(6)还包括空腔盘(609)、叶轮(6010)和喷液清扫杆(6011),所述收集桶(5014)的顶端一侧通过支架转动安装有弧形状的喷液清扫杆(6011),所述喷液清扫杆(6011)的一端外部设置有空腔盘(609),且空腔盘(609)通过支架固定在收集桶(5014)的顶端一侧,所述空腔盘(609)的内部转动安装有叶轮(6010),且叶轮(6010)的一侧与喷液清扫杆(6011)的一侧转动端同轴固定,所述空腔盘(609)的两侧内部对称贯穿交错设置有进气口和排气口,且进气口的输入端与单向排气阀门管(608)的输出端导通安装。
10.一种亚麻籽油低温压榨装置及其生产工艺,根据权利要求1-9任意一项所述的一种亚麻籽油低温压榨装置,其特征在于,包括如下步骤:
步骤S1、首先将破碎脱皮处理后的亚麻籽均匀导入到低温冷榨箱(2)的内部进行低温榨取;
步骤S2、低温榨取后的亚麻籽油排入低温冷榨箱(2)底端的电磁阀门管(3)内部,通过电磁阀门管(3)内部的除渣机构(4)将榨取后的亚麻籽油进行初步的大杂质过滤;
步骤S3、经过除渣机构(4)初步过滤后的亚麻籽油通过电磁阀门管(3)进入到底端其中一个锥形罩(504)内部,通过锥形罩(504)内部的圆盘滤膜片(506)对亚麻籽油进行二次细腻过滤;
步骤S4、当其中一个圆盘滤膜片(506)对亚麻籽油细腻过滤一段时间后,可通过滤膜切换机构(5)启动,以此自动对电磁阀门管(3)底端的锥形罩(504)和圆盘滤膜片(506)进行旋转切换倾倒处理;
步骤S5、同时滤膜切换机构(5)启动对锥形罩(504)和圆盘滤膜片(506)进行旋转切换时会触发刷除机构(6)同步运行,以此对脱离电磁阀门管(3)底端堵塞的圆盘滤膜片(506)表面进行杂质刮除清堵处理。
技术领域
本发明涉及冷榨亚麻籽技术领域,具体为一种亚麻籽油低温压榨装置及其生产工艺。
背景技术
冷榨是一种生产油的制作工艺,冷榨法要求高,一般冷榨法要求在低于60℃的环境下进行加工,营养成分保留最为完整,由于冷榨法出油率只有热榨法的一半,因此大部分冷榨油的价格要高出热榨油50%左右,所冷榨出来的油因为没有受到破坏,一般也不需要加添加剂,就可以长时间的保存,市值价值相对高端,冷榨油颜色清澈,味道比较清淡。
申请号为CN2018203494134,展示了一种亚麻籽油冷榨生产装置,通过设置有红外线照明灯,能够对亚麻籽的表面水分进行烘干蒸发,同时利用红外线照明灯控制亚麻籽原料保持在恒定的温度,从而提高了出油率,通过设置有过滤装置,从而在对亚麻籽榨取过程中产生的废渣进行过滤,从而降低了油品中的沉淀物,通过设置有研磨装置,进一步对沉淀物进行研磨,从而进一步降低了沉淀物含量。
现有的亚麻籽油冷榨装置在冷榨后为了保证整体过滤效果,通常会利用滤膜对亚麻籽油进行过滤,但是现有的滤膜在过滤使用一定时间后其表面会粘附形成杂质层,此时需要人工将滤膜取下进行清理之后在进行装配使用,整体清理效率较低,影响整体的冷榨加工时间。
发明内容
本发明的目的在于提供一种亚麻籽油低温压榨装置及其生产工艺,以解决上述背景技术中提出的现有的亚麻籽油冷榨装置在冷榨后为了保证整体过滤效果,通常会利用滤膜对亚麻籽油进行过滤,但是现有的滤膜在过滤使用一定时间后其表面会粘附形成杂质层,此时需要人工将滤膜取下进行清理之后在进行装配使用,整体清理效率较低,影响整体的冷榨加工时间的问题。
为实现上述目的,本发明提供如下技术方案:一种亚麻籽油低温压榨装置,包括安装座,所述安装座的顶端一侧通过支架固定有低温冷榨箱,所述低温冷榨箱的底端输出端导通安装有电磁阀门管;除渣机构,所述除渣机构设于所述电磁阀门管的内部;滤膜切换机构,所述滤膜切换机构设于所述安装座的顶端一侧外部;所述滤膜切换机构包括转轴、锥形罩和圆盘滤膜片,所述转轴纵向转动安装在安装座的顶端一侧外部,所述转轴的外部等角度环绕设置有若干个锥形罩,所述锥形罩的内部均设有圆盘滤膜片;刷除机构,所述刷除机构设于所述安装座靠近所述转轴的顶端一侧。
进一步地,所述滤膜切换机构还包括安装架、圆环、限位架、齿轮杆和固定架,所述转轴靠近锥形罩的一侧外部均横向固定有安装架,且安装架远离转轴的一端外部之间套设固定有圆环,所述圆环靠近锥形罩的顶端一侧均通过转动座贯穿转动安装有齿轮杆,所述齿轮杆的一端与对应侧锥形罩的一侧外部安装固定,所述电磁阀门管靠近转轴的一侧外部机构还包括密封板、驱动电机、驱动齿轮、齿环、刮扫板,所述环形收集槽靠近排出通道顶端开口端的一侧内部贴合设置有弧形密封板,所述电磁阀门管靠近弧形密封板的一侧内部贯穿转动安装有齿环,所述齿环的一侧与弧形密封板的一侧安装固定,所述电磁阀门管的一侧外部固定有驱动电机,且驱动电机的输出端同轴固定有驱动齿轮,并且驱动齿轮的一侧与齿环的一侧啮合连接,所述弧形密封板的一侧设置有圆弧状的刮扫板,且刮扫板的一侧与过滤盘底端边缘处一侧贴合。
进一步地,所述刷除机构包括集气筒、活塞杆、单向进气阀门管、限位铁杆和复位弹簧,所述集气筒为圆弧状设置,且集气筒通过支架固定在安装座靠近圆环的顶端一侧外部,所述集气筒的内部贯穿滑动安装有弧形状活塞杆,所述活塞杆的一侧贯穿端纵向贯穿滑动卡合安装有限位铁杆,所述限位铁杆的顶端一侧与其中一个安装架的一侧外部贴合,所述集气筒远离限位铁杆的一侧外部导通安装有单向进气阀门管,所述限位铁杆的一侧外部套设安装有复位弹簧。
进一步地,所述刷除机构还包括磁铁块、挤压弹簧和单向排气阀门管,所述活塞杆位于集气筒内部的外表面套设连接有挤压弹簧,所述收集桶靠近弧形齿条一的顶端一侧通过支架固定有磁铁块,且磁铁块设置在所述限位铁杆的旋转移动轨迹上,以使得所述限位铁杆移动旋转至所述磁铁块顶端后限位铁杆被磁铁块吸引下降移动,所述集气筒远离限位铁杆的一侧外部贯穿安装有单向排气阀门管。
进一步地,所述刷除机构还包括空腔盘、叶轮和喷液清扫杆,所述收集桶的顶端一侧通过支架转动安装有弧形状的喷液清扫杆,所述喷液清扫杆的一端外部设置有空腔盘,且空腔盘通过支架固定在收集桶的顶端一侧,所述空腔盘的内部转动安装有叶轮,且叶轮的一侧与喷液清扫杆的一侧转动端同轴固定,所述空腔盘的两侧内部对称贯穿交错设置有进气口和排气口,且进气口的输入端与单向排气阀门管的输出端导通安装。
本发明还提供一种亚麻籽油低温压榨装置及其生产工艺,包括如下步骤:
步骤S1、首先将破碎脱皮处理后的亚麻籽均匀导入到低温冷榨箱的内部进行低温榨取;
步骤S2、低温榨取后的亚麻籽油排入低温冷榨箱底端的电磁阀门管内部,通过电磁阀门管内部的除渣机构将榨取后的亚麻籽油进行初步的大杂质过滤;
步骤S3、经过除渣机构初步过滤后的亚麻籽油通过电磁阀门管进入到底端其中一个锥形罩内部,通过锥形罩内部的圆盘滤膜片对亚麻籽油进行二次细腻过滤;
步骤S4、当其中一个圆盘滤膜片对亚麻籽油细腻过滤一段时间后,可通过滤膜切换机构启动,以此自动对电磁阀门管底端的锥形罩和圆盘滤膜片进行旋转切换倾倒处理;
步骤S5、同时滤膜切换机构启动对锥形罩和圆盘滤膜片进行旋转切换时会触发刷除机构同步运行,以此对脱离电磁阀门管底端堵塞的圆盘滤膜片表面进行杂质刮除清堵处理。
与现有技术相比,本发明的有益效果是:
1.当一个圆盘滤膜片使用一定时间后,通过气缸的伸缩工作,使得转轴带动安装架和圆环以及侧边锥形罩进行自动旋转切换,从而自动对电磁阀门管底端对应的圆盘滤膜片进行切换使用,无需人工拆装更换,大大减少了装置停止运行等待时间,提高整体工作效率,同时转轴在带动锥形罩和圆盘滤膜片进行旋转切换时,配合齿轮杆和弧形齿条一的设置,使得需要清理的锥形罩和圆盘滤膜片在旋转切换至收集桶顶端时会自动进行上下端翻转,使得圆盘滤膜片顶端过滤面朝向收集桶顶端,使得圆盘滤膜片顶端过滤面堵塞拦截的一些杂质物会自动滴落到收集桶的内部进行清理收集,也便于后期喷液清扫杆旋转对圆盘滤膜片顶端过滤面进行刷洗,同时杂质会随着自身重力掉落进收集桶内部,整体使用效果好;
2.当转轴带动安装架和锥形罩旋转切换时,其中一个安装架会带动一侧抵触的限位铁杆同步移动,使得限位铁杆拉动活塞杆在集气筒内部进行移动,配合单向进气阀门管的导通,以此将外界气体抽入集气筒内部,当转轴带动锥形罩和圆盘滤膜片切换完成后,此时限位铁杆会与磁铁块对应,磁铁块吸引限位铁杆下降,限位铁杆不再对限位铁杆抵触,此时挤压弹簧带动活塞杆快速回弹将集气筒内部原先抽入的气体挤压进空腔盘内部,使得叶轮带动喷液清扫杆旋转,以此对堵塞的圆盘滤膜片顶端过滤面进行自动旋转刷洗,无需人工拆装清洗,整体使用效果好,便捷性高;
3.通过低温冷榨箱冷榨后的亚麻籽油进入到电磁阀门管内部时,此时会被过滤盘进行初步的大杂质过滤,保证整体过滤效果,降低底端圆盘滤膜片的切换清洗频率,通过过滤盘的锥形状设置,使得过滤盘上过滤的杂质不易粘附在过滤盘的过滤面上,会自动滑落至底端侧边的环形收集槽内部,当装置使用结束后,可通过齿环带动和刮扫板旋转,以此将环形收集槽内部堆积的杂质一并刮入排出通道的内部,之后集中收集在收集桶内部,整体使用效果好,清理便捷。
附图说明
图1为本发明低温压榨装置结构示意图;
图1
图2为本发明除渣机构与低温冷榨箱安装局部剖视立体结构示意图;
图2
图3为本发明排出通道与环形收集槽安装局部剖视立体结构示意图;
图3
图4为本发明滤膜切换机构与安装座安装立体结构示意图;
图4
图5为本发明图4中A处放大结构示意图;
图5
图6为本发明锥形罩与圆盘滤膜片安装局部剖视立体结构示意图;
图6
图7为本发明转轴带动安装架旋转演示俯视示意图;
图7
图8为本发明抵触杆与齿轮杆抵触配合安装立体结构示意图;
图8
图9为本发明刷除机构与安装座安装立体结构示意图;
图9
图10为本发明集气筒与活塞杆安装局部剖视立体结构示意图;
图10
图11为本发明图10中B处放大结构示意图;
图11
图12为本发明收集桶与喷液清扫杆安装俯视结构示意图;
图12
图13为本发明空腔盘与叶轮安装局部剖视立体结构示意图。
图13
图中:1、安装座;2、低温冷榨箱;3、电磁阀门管;4、除渣机构;401、过滤盘;402、环形收集槽;403、排出通道;404、密封板;405、驱动电机;406、驱动齿轮;407、齿环;408、刮扫板;5、滤膜切换机构;501、转轴;502、安装架;503、圆环;504、锥形罩;505、限位架;506、圆盘滤膜片;507、齿轮杆;508、弧形齿条一;509、弧形齿条二;5010、固定架;5011、气缸;5012、限位齿条;5013、棘轮;5014、收集桶;5015、抵触杆;5016、抵触孔;5017、压缩弹簧;6、刷除机构;601、集气筒;602、活塞杆;603、单向进气阀门管;604、限位铁杆;605、复位弹簧;606、磁铁块;607、挤压弹簧;608、单向排气阀门管;609、空腔盘;6010、叶轮;6011、喷液清扫杆。
具体实施方式
下面将结合本发明实施例中的附图,对本发明实施例中的技术方案进行清楚、完整地描述,显然,所描述的实施例仅仅是本发明一部分实施例,而不是全部的实施例。基于本发明中的实施例,本领域普通技术人员在没有做出创造性劳动前提下所获得的所有其他实施例,都属于本发明保护的范围。
请参阅图1-13,本发明提供一种技术方案:一种亚麻籽油低温压榨装置,包括安装座1,安装座1的顶端一侧通过支架固定有低温冷榨箱2,低温冷榨箱2的底端输出端导通安装有电磁阀门管3;除渣机构4,除渣机构4设于电磁阀门管3的内部;滤膜切换机构5,滤膜切换机构5设于安装座1的顶端一侧外部;滤膜切换机构5包括转轴501、锥形罩504和圆盘滤膜片506,转轴501纵向转动安装在安装座1的顶端一侧外部,转轴501的外部等角度环绕设置有若干个锥形罩504,锥形罩504的内部均设有圆盘滤膜片506;刷除机构6,刷除机构6设于安装座1靠近转轴501的顶端一侧。
在本实施例中亚麻籽油低温压榨装置主要包括低温冷榨箱2、电磁阀门管3、除渣机构4、滤膜切换机构5和刷除机构6,其中本方案提供的亚麻籽油低温压榨装置在实际使用时,首先将破碎脱皮处理后的亚麻籽均匀导入到现有技术构成的低温冷榨箱2的内部进行低温榨取,当低温榨取后的亚麻籽油排入低温冷榨箱2底端的电磁阀门管3内部时,通过电磁阀门管3内部的除渣机构4将榨取后的亚麻籽油进行初步的大杂质过滤,经过除渣机构4初步过滤后的亚麻籽油通过电磁阀门管3进入到底端其中一个锥形罩504内部,通过锥形罩504内部的圆盘滤膜片506对亚麻籽油进行二次细腻过滤,当其中一个圆盘滤膜片506对亚麻籽油细腻过滤一段时间后,可通过滤膜切换机构5启动,以此自动对电磁阀门管3底端的锥形罩504和圆盘滤膜片506进行旋转切换倾倒处理,无需人工拆装更换,大大减少了装置停止运行等待时间,提高整体工作效率,同时滤膜切换机构5启动对锥形罩504和圆盘滤膜片506进行旋转切换时会触发刷除机构6同步运行,以此对脱离电磁阀门管3底端堵塞的圆盘滤膜片506表面进行杂质刮除清堵处理,无需人工对圆盘滤膜片506进行拆装清洗,整体使用效果好,便捷性高。
在一些实施例中,滤膜切换机构5还包括安装架502、圆环503、限位架505、齿轮杆507和固定架5010,转轴501靠近锥形罩504的一侧外部均横向固定有安装架502,且安装架502远离转轴501的一端外部之间套设固定有圆环503,圆环503靠近锥形罩504的顶端一侧均通过转动座贯穿转动安装有齿轮杆507,齿轮杆507的一端与对应侧锥形罩504的一侧外部安装固定,电磁阀门管3靠近转轴501的一侧外部横向固定有固定架5010,锥形罩504的内部均固定有限位架505,且圆盘滤膜片506贴合固定在限位架505的一侧外部;滤膜切换机构5还包括弧形齿条一508、弧形齿条二509、气缸5011、限位齿条5012、棘轮5013和收集桶5014,安装座1的顶端一侧放置有收集桶5014,圆环503靠近收集桶5014的顶端外部对称设置有弧形齿条一508和弧形齿条二509,弧形齿条一508和弧形齿条二509均通过支架固定在固定架5010的底端一侧外部,转轴501的顶端转动贯穿安装在固定架5010的顶端一侧外部,且转轴501的顶端贯穿端安装有棘轮5013,固定架5010的顶端一侧安装有气缸5011,且气缸5011的输出端固定有限位齿条5012,并且限位齿条5012的一侧与棘轮5013的一侧啮合连接。
结合图4、图5、图6和图7所示,当电磁阀门管3底端输出端的一个圆盘滤膜片506使用一定时间后,其顶端的过滤面会被杂质堆积堵塞,影响后续过滤效果,此时通过启动气缸5011带动限位齿条5012伸出,限位齿条5012在伸出时会带动一侧啮合的棘轮5013旋转,以此带动底端的转轴501整体旋转一定角度,同时电磁阀门管3短时间自动控制关闭,同时通过棘轮5013的设置,使得气缸5011带动限位齿条5012伸出后回收时不会带动转轴501旋转,保证转轴501单向旋转切换。
当转轴501转动时会带动安装架502和圆环503以及侧边锥形罩504进行自动旋转切换,从而自动对电磁阀门管3底端对应的锥形罩504和圆盘滤膜片506进行切换使用,将堵塞的圆盘滤膜片506切换远离电磁阀门管3底端,将新的圆盘滤膜片506切换靠近电磁阀门管3底端,切换完成后电磁阀门管3自动打开,使得无需人工拆装更换,大大减少了装置停止运行等待时间,提高整体工作效率。
同时转轴501在带动锥形罩504和圆盘滤膜片506进行旋转切换时,配合齿轮杆507的设置,使得堵塞的圆盘滤膜片506以及其外部的锥形罩504在旋转脱离电磁阀门管3底端后,该锥形罩504一侧的齿轮杆507会与弧形齿条一508啮合,随着锥形罩504和圆盘滤膜片506的继续旋转,使得齿轮杆507带动堵塞的圆盘滤膜片506以及其外侧的锥形罩504整体旋转180度,此时圆盘滤膜片506顶端堵塞过滤面朝向收集桶5014顶端,使得圆盘滤膜片506顶端过滤面堵塞拦截的一些杂质物会自动滴落到收集桶5014的内部进行清理收集,也便于后期喷液清扫杆6011旋转对圆盘滤膜片506顶端过滤面进行刷洗,同时杂质会随着自身重力掉落进收集桶5014内部,整体使用效果好。
当堵塞的圆盘滤膜片506清堵结束旋转脱离收集桶5014顶端后,此时该圆盘滤膜片506外侧锥形罩504一侧的齿轮杆507会与弧形齿条二509啮合,使得齿轮杆507带动清理好的圆盘滤膜片506整体再次旋转180度进行复位,便于后期圆盘滤膜片506的过滤面能够再次旋转对位至电磁阀门管3的输出端底端,整体使用效果好。
在一些实施例中,滤膜切换机构5还包括抵触杆5015、抵触孔5016和压缩弹簧5017,齿轮杆507的一侧中间位置均贯穿导通设置有抵触孔5016,安装架502靠近抵触孔5016的一侧内部纵向贯穿滑动卡合安装有抵触杆5015,且抵触杆5015的一端抵触在抵触孔5016的一侧内部边缘处,抵触杆5015的底端与安装架502的底端一侧之间均套设连接有压缩弹簧5017。
结合图7和图8所示,当锥形罩504一侧的齿轮杆507与弧形齿条一508和弧形齿条二509啮合带动锥形罩504旋转时,此时齿轮杆507会挤压底端的抵触杆5015,使得抵触杆5015受力下降脱离抵触孔5016一侧内部,当旋转到位后,此时抵触杆5015会随着压缩弹簧5017的回弹抵触进抵触孔5016的另一侧内部,以此对齿轮杆507和侧边锥形罩504的旋转位置进行辅助定位,确保锥形罩504旋转后的稳定性,防止锥形罩504摆动旋转,保证装置运行稳定。
在一些实施例中,除渣机构4包括过滤盘401、环形收集槽402和排出通道403,过滤盘401固定在电磁阀门管3的内部,且过滤盘401为圆锥状设置,电磁阀门管3位于过滤盘401底端边缘处的内部嵌入式设置有环形收集槽402,且环形收集槽402与电磁阀门管3的底端内部之间均等角度环绕贯穿设置有过滤孔,环形收集槽402靠近收集桶5014的底端一侧内部纵向导通贯穿设置有排出通道403;除渣机构4还包括密封板404、驱动电机405、驱动齿轮406、齿环407、刮扫板408,环形收集槽402靠近排出通道403顶端开口端的一侧内部贴合设置有弧形密封板404,电磁阀门管3靠近弧形密封板404的一侧内部贯穿转动安装有齿环407,齿环407的一侧与弧形密封板404的一侧安装固定,电磁阀门管3的一侧外部固定有驱动电机405,且驱动电机405的输出端同轴固定有驱动齿轮406,并且驱动齿轮406的一侧与齿环407的一侧啮合连接,弧形密封板404的一侧设置有圆弧状的刮扫板408,且刮扫板408的一侧与过滤盘401底端边缘处一侧贴合。
结合图1、图2和图3所示,当低温榨取后的亚麻籽油排入低温冷榨箱2底端的电磁阀门管3内部时,此时通过电磁阀门管3内部的过滤盘401对榨取后的亚麻籽油进行初步的大杂质过滤,保证整体过滤效果,降低底端圆盘滤膜片506的切换清洗频率。
同时通过过滤盘401的锥形状设置,使得过滤盘401上过滤的杂质不易粘附在过滤盘401的过滤面上,会自动滑落至底端侧边的环形收集槽402内部。
当装置使用结束后,此时可通过启动一侧驱动电机405,通过驱动电机405输出轴转动带动顶端驱动齿轮406旋转,以此带动一侧啮合的齿环407进行旋转,齿环407旋转时带动一侧固定的密封板404和刮扫板408在环形收集槽402内部进行旋转,当密封板404旋转一定角度后,此时密封板404会将排出通道403与环形收集槽402内部之间的开口打开,之后密封板404和刮扫板408继续旋转,以此将环形收集槽402内部堆积的杂质通过打开的开口刮入排出通道403的内部,之后掉落至收集桶5014内部进行集中收集,整体清理使用效果好,操作便捷。
同时通过刮扫板408的弧形设置以及刮扫板408一侧与过滤盘401外壁的贴合设置,从而能够将过滤盘401外壁残留的少量杂质一并携带刮落至排出通道403的内部。
在一些实施例中,刷除机构6包括集气筒601、活塞杆602、单向进气阀门管603、限位铁杆604和复位弹簧605,集气筒601为圆弧状设置,且集气筒601通过支架固定在安装座1靠近圆环503的顶端一侧外部,集气筒601的内部贯穿滑动安装有弧形状活塞杆602,活塞杆602的一侧贯穿端纵向贯穿滑动卡合安装有限位铁杆604,限位铁杆604的顶端一侧与其中一个安装架502的一侧外部贴合,集气筒601远离限位铁杆604的一侧外部导通安装有单向进气阀门管603,限位铁杆604的一侧外部套设安装有复位弹簧605;刷除机构6还包括磁铁块606、挤压弹簧607和单向排气阀门管608,活塞杆602位于集气筒601内部的外表面套设连接有挤压弹簧607,收集桶5014靠近弧形齿条一508的顶端一侧通过支架固定有磁铁块606,且磁铁块606设置在限位铁杆604的旋转移动轨迹上,以使得限位铁杆604移动旋转至磁铁块606顶端后限位铁杆604被磁铁块606吸引下降移动,集气筒601远离限位铁杆604的一侧外部贯穿安装有单向排气阀门管608;刷除机构6还包括空腔盘609、叶轮6010和喷液清扫杆6011,收集桶5014的顶端一侧通过支架转动安装有弧形状的喷液清扫杆6011,喷液清扫杆6011的一端外部设置有空腔盘609,且空腔盘609通过支架固定在收集桶5014的顶端一侧,空腔盘609的内部转动安装有叶轮6010,且叶轮6010的一侧与喷液清扫杆6011的一侧转动端同轴固定,空腔盘609的两侧内部对称贯穿交错设置有进气口和排气口,且进气口的输入端与单向排气阀门管608的输出端导通安装。
结合图9、图10、图11、图12和图13所示,当转轴501带动安装架502和锥形罩504旋转切换时,此时其中一个安装架502会带动一侧抵触的限位铁杆604同步移动,使得限位铁杆604拉动活塞杆602在集气筒601内部进行移动,配合单向进气阀门管603的导通,以此将外界气体自动抽入集气筒601内部,当转轴501带动锥形罩504和圆盘滤膜片506切换完成且堵塞的圆盘滤膜片506过滤面旋转切换至收集桶5014顶端后,此时限位铁杆604会与磁铁块606对应,磁铁块606吸引限位铁杆604下降,限位铁杆604不再对限位铁杆604抵触,此时挤压弹簧607带动活塞杆602快速回弹将集气筒601内部原先抽入的气体挤压进空腔盘609内部,使得叶轮6010带动喷液清扫杆6011旋转,同时将喷液清扫杆6011另一端现有的转动密封接头与外接清洗液管接通,使得喷液清扫杆6011能够边旋转边通过现有控制箱进行喷液,以此对堵塞的圆盘滤膜片506顶端过滤面进行自动旋转刷洗,无需人工拆装清洗,整体使清洗效果好,便捷性高,同时该处的喷液清扫杆6011为现有常规结构,就是在现有的清扫杆的内部开设通道以及侧壁上导通开设排水孔,便于对清洗液进行导流和排出。
当挤压弹簧607带动活塞杆602以及限位铁杆604快速回弹复位移动一定距离后,此时限位铁杆604与磁铁块606脱离,此时配合复位弹簧605的回弹,从而使得限位铁杆604再次伸出,使得活塞杆602回弹复位后,此时限位铁杆604的顶端会抵触在另一个安装架502的一侧外部,保证后续安装架502再次旋转切换时能够再次带动限位铁杆604同步旋转移动,保证整体运行连贯稳定性,保证使用效果。
本发明还提供一种亚麻籽油低温压榨装置及其生产工艺,包括如下步骤:
步骤S1、首先将破碎脱皮处理后的亚麻籽均匀导入到低温冷榨箱2的内部进行低温榨取;
步骤S2、低温榨取后的亚麻籽油排入低温冷榨箱2底端的电磁阀门管3内部,通过电磁阀门管3内部的除渣机构4将榨取后的亚麻籽油进行初步的大杂质过滤;
步骤S3、经过除渣机构4初步过滤后的亚麻籽油通过电磁阀门管3进入到底端其中一个锥形罩504内部,通过锥形罩504内部的圆盘滤膜片506对亚麻籽油进行二次细腻过滤;
步骤S4、当其中一个圆盘滤膜片506对亚麻籽油细腻过滤一段时间后,可通过滤膜切换机构5启动,以此自动对电磁阀门管3底端的锥形罩504和圆盘滤膜片506进行旋转切换倾倒处理;
步骤S5、同时滤膜切换机构5启动对锥形罩504和圆盘滤膜片506进行旋转切换时会触发刷除机构6同步运行,以此对脱离电磁阀门管3底端堵塞的圆盘滤膜片506表面进行杂质刮除清堵处理。
本发明使用到的标准零件均可以从市场上购买,异形件根据说明书的和附图的记载均可以进行订制,各个零件的具体连接方式均采用现有技术中成熟的螺栓、铆钉、焊接等常规手段,机械、零件和设备均采用现有技术中,常规的型号,加上电路连接采用现有技术中常规的连接方式,在此不再详述,本说明书中未作详细描述的内容属于本领域专业技术人员公知的现有技术。
尽管已经示出和描述了本发明的实施例,对于本领域的普通技术人员而言,可以理解在不脱离本发明的原理和精神的情况下可以对这些实施例进行多种变化、修改、替换和变型,本发明的范围由所附权利要求及其等同物限定。
文章摘自国家发明专利,一种亚麻籽油低温压榨装置及其生产工艺;发明人:潘明华,刘文,梁文罕,李凤英;申请号:202410617713.6;申请日:2024.05.17













