摘 要:本发明公开了一种工业大麻覆膜镇压一体机,它包含常规设置的机架(1),该机架(1)上常规布置有旋耕设备(2)和施肥箱(3)以及位于机架(1)两侧的起垄铧(4),所述的机架(1)尾部安装有镇压覆膜总成和打孔总成;所述的打孔总成包含一个打孔箱(5),该打孔箱(5)整体为一侧设置有开口的箱形结构,所述打孔箱(5)的开口侧设置有与其盖扣配合的盖板(6),该盖板(6)的外侧面处安装有驱动电机。本发明结构简单,能够实现栽培种植过程中旋耕、施肥、起垄、覆膜和镇压以及膜上打孔的一系列的配套作业,大大的提高了整体的自动化程度,降低了工业大麻种植的劳动强度。
技术要点
1.一种工业大麻覆膜镇压一体机,它包含常规设置的机架(1),该机架(1)上常规布置有旋耕设备(2)和施肥箱(3)以及位于机架(1)两侧的起垄铧(4),其特征在于所述的机架(1)尾部安装有镇压覆膜总成和打孔总成;所述的打孔总成包含一个打孔箱(5),该打孔箱(5)整体为一侧设置有开口的箱形结构,所述打孔箱(5)的开口侧设置有与其盖扣配合的盖板(6),该盖板(6)的外侧面处安装有驱动电机,所述驱动电机的输出轴端延伸至打孔箱(5)内与第一定位圈(7)固定连接,该第一定位圈(7)的外圆面处安装有可以与其转动连接配合的第二定位圈(8),所述第二定位圈(8)的外圆面处设置有可以与其转动连接配合的第三定位圈(9),该第三定位圈(9)的端部垂直焊接固定在盖板(6)的内侧面处,所述第一定位圈(7)的端面上径向固定安装有拨杆,所述第二定位圈(8)的外圆面处径向固定安装有驱动杆(11),该驱动杆(11)的中部垂直焊接固定有可以与拨杆(10)接触的驱动轴杆(12),所述驱动杆(11)的端部固定安装有与其转动连接配合的驱动连杆(13),该驱动连杆(13)的端部安装有与其转动连接配合的打孔轴杆(14),该打孔轴杆(14)的下端延伸至弹簧盒(15)内与定位板(16)的上顶面处固定连接成一体,该定位板(16)下底面处的中部焊接固定有数根等距排列的打孔杆(17),所述弹簧盒(15)的顶部固定安装有连接板(18),该连接板(18)的端部固定安装在盖板(6)的内侧面处,所述弹簧盒(15)内设置有套设在打孔轴杆(14)上的弹簧(19),该弹簧(19)的上下两端分别顶在连接板(18)与定位板(16)之间;
所述镇压覆膜总成包含一根通过联轴器与驱动电机输出轴端对接的第一传动轴(20),该第一传动轴(20)上安装有主动齿轮(21),所述第一传动轴(20)通过轴承座与打孔箱(5)的内壁转动连接配合,所述主动齿轮(21)的一侧设置有与其啮合配合的从动齿轮(22),该从动齿轮(22)上固定安装有驱动轴(23),该驱动轴(23)的端部穿过与其转动连接配合的打孔箱(5)延伸至驱动箱(24)内并通过轴承座与驱动箱(24)的内壁转动连接配合,所述的驱动箱(24)安装在打孔箱(5)的一侧;
所述的驱动箱(24)整体为与打孔箱(5)相对一侧的侧面处设置有开口的箱体结构,该打孔箱(5)的开口侧设置有与其开合配合的门板(25),所述驱动箱(24)的底部设置有振动台(26),该振动台(26)上顶面处的中部安装有震动电机(27),所述振动台(26)的四角处分别安装有连接弹簧(28),该连接弹簧(28)的上端固定安装在底板(29)上,所述底板(29)的上顶面处焊接固定有定位连杆(30),该定位连杆(30)的上端延伸至驱动箱(24)内与驱动装置对接,所述驱动箱(24)的下底面处开设有一条与定位连杆(30)间隙滑动配合的导向滑槽。
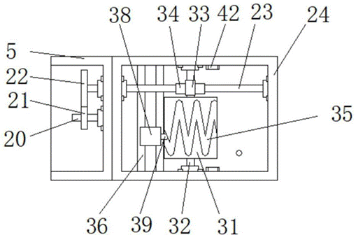
2.根据权利要求1所述的一种工业大麻覆膜镇压一体机,其特征在于所述的驱动装置包含一个位于驱动箱(24)顶部的驱动辊(31),该驱动辊(31)的两端分别向外轴向延伸出与其同心的从动轴(32),所述从动轴(32)的端部通过轴承座与驱动箱(24)的内壁处转动连接配合,其中一个从动轴(32)上固定安装有从动蜗杆(33),该从动蜗杆(33)的下方是与其啮合配合的主动蜗杆(34),所述主动蜗杆(34)固定安装在驱动轴(23)上;
所述驱动辊(31)的外圆面上开设有闭合的导向定位槽(35),该导向定位槽(35)整体为之字形布置,所述驱动辊(31)的一侧设置有联动装置,该联动装置包含一个联动滑槽(36),所述联动滑槽(36)的两端分别垂直固定在驱动箱(24)的内壁上,该联动滑槽(36)内设置有可以沿其长度方向间隙滑动配合的联动滑轨(37),该联动滑轨(37)的上方穿过联动滑槽(36)与联动滑块(38)固定连接成一个整体,所述联动滑块(38)的上方贯通开设有一个圆柱形腔体,该圆柱形腔体内设置有一根可以与其间隙滑动配合的联动轴柱(39),所述联动轴柱(39)的端部延伸出圆柱形腔体可以与导向定位槽(35)间隙滑动配合,所述圆柱形腔体与联动轴柱(39)相对一端的端部设置有与其旋接配合的端盖(40),所述圆柱形腔体内设置有一根弹簧(41),该弹簧(41)的两端分别顶在端盖(40)与联动轴柱(39)上,所述定位连杆(30)的端部固定安装在联动滑块(38)的侧面上。
3.根据权利要求1所述的一种工业大麻覆膜镇压一体机,其特征在于所述驱动箱(24)中部的两侧内壁上分别焊接固定有用于放置薄膜辊的U型卡槽(42),所述驱动箱(24)的底部贯通开设有供薄膜通过的槽口(43),槽口(43)的上方安装有可以与驱动箱(24)的内壁处转动连接配合的薄膜导向辊(44)。
4.根据权利要求1所述的一种工业大麻覆膜镇压一体机,其特征在于所述打孔箱(5)的下方安装有用于覆土压住薄膜边的覆土盘(45)。
5.根据权利要求1所述的一种工业大麻覆膜镇压一体机,其特征在于所述驱动箱24底部的两侧垂直焊接固定有成垄板241。
技术领域
本发明涉及的是种植设备相关的技术领域,具体涉及的是一种工业大麻覆膜镇压一体机。
背景技术
工业大麻是指四氢大麻酚含量低于0.3%的大麻,中国将工业大麻称为汉麻,是大麻科大麻属的一年生草本植物,分为工业大麻和毒品大麻,目前工业大麻在我国开放种植的区域主要为云南和黑龙江地区,在种植工业大麻的步骤为旋耕施肥,起垄和覆膜以及最后的直接薄膜开孔并膜下播种作业,在整个栽培种植过程中旋耕施肥,起垄和覆膜是工业大麻后期生长和长势的关键。
发明内容
本发明目的是提供一种工业大麻覆膜镇压一体机,它能有效地解决背景技术中所存在的问题。
为了解决背景技术中所存在的问题,它包含常规设置的机架1,该机架1上常规布置有旋耕设备2和施肥箱3以及位于机架1两侧的起垄铧4,所述的机架1尾部安装有镇压覆膜总成和打孔总成;
所述的打孔总成包含一个打孔箱5,该打孔箱5整体为一侧设置有开口的箱形结构,所述打孔箱5的开口侧设置有与其盖扣配合的盖板6,该盖板6的外侧面处安装有驱动电机,所述驱动电机的输出轴端延伸至打孔箱5内与第一定位圈7固定连接,该第一定位圈7的外圆面处安装有可以与其转动连接配合的第二定位圈8,所述第二定位圈8的外圆面处设置有可以与其转动连接配合的第三定位圈9,该第三定位圈9的端部垂直焊接固定在盖板6的内侧面处,所述第一定位圈7的端面上径向固定安装有拨杆10,所述第二定位圈8的外圆面处径向固定安装有驱动杆11,该驱动杆11的中部垂直焊接固定有可以与拨杆10接触的驱动轴杆12,所述驱动杆11的端部固定安装有与其转动连接配合的驱动连杆13,该驱动连杆13的端部安装有与其转动连接配合的打孔轴杆14,该打孔轴杆14的下端延伸至弹簧盒15内与定位板16的上顶面处固定连接成一体,该定位板16下底面处的中部焊接固定有数根等距排列的打孔杆17,所述弹簧盒15的顶部固定安装有连接板18,该连接板18的端部固定安装在盖板6的内侧面处,所述弹簧盒15内设置有套设在打孔轴杆14上的弹簧19,该弹簧19的上下两端分别顶在连接板18与定位板16之间;
所述镇压覆膜总成包含一根通过联轴器与驱动电机输出轴端对接的第一传动轴20,该第一传动轴20上安装有主动齿轮21,所述第一传动轴20通过轴承座与打孔箱5的内壁转动连接配合,所述主动齿轮21的一侧设置有与其啮合配合的从动齿轮22,该从动齿轮22上固定安装有驱动轴23,该驱动轴23的端部穿过与其转动连接配合的打孔箱5延伸至驱动箱24内并通过轴承座与驱动箱24的内壁转动连接配合,所述的驱动箱24安装在打孔箱5的一侧;
所述的驱动箱24整体为与打孔箱5相对一侧的侧面处设置有开口的箱体结构,该打孔箱5的开口侧设置有与其开合配合的门板25,所述驱动箱24的底部设置有振动台26,该振动台26上顶面处的中部安装有震动电机27,所述振动台26的四角处分别安装有连接弹簧28,该连接弹簧28的上端固定安装在底板29上,所述底板29的上顶面处焊接固定有定位连杆30,该定位连杆30的上端延伸至驱动箱24内与驱动装置对接,所述驱动箱24的下底面处开设有一条与定位连杆30间隙滑动配合的导向滑槽。
所述的驱动装置包含一个位于驱动箱24顶部的驱动辊31,该驱动辊31的两端分别向外轴向延伸出与其同心的从动轴32,所述从动轴32的端部通过轴承座与驱动箱24的内壁处转动连接配合,其中一个从动轴32上固定安装有从动蜗杆33,该从动蜗杆33的下方是与其啮合配合的主动蜗杆34,所述主动蜗杆34固定安装在驱动轴23上;
所述驱动辊31的外圆面上开设有闭合的导向定位槽35,该导向定位槽35整体为之字形布置,所述驱动辊31的一侧设置有联动装置,该联动装置包含一个联动滑槽36,所述联动滑槽36的两端分别垂直固定在驱动箱24的内壁上,该联动滑槽36内设置有可以沿其长度方向间隙滑动配合的联动滑轨37,该联动滑轨37的上方穿过联动滑槽36与联动滑块38固定连接成一个整体,所述联动滑块38的上方贯通开设有一个圆柱形腔体,该圆柱形腔体内设置有一根可以与其间隙滑动配合的联动轴柱39,所述联动轴柱39的端部延伸出圆柱形腔体可以与导向定位槽35间隙滑动配合,所述圆柱形腔体与联动轴柱39相对一端的端部设置有与其旋接配合的端盖40,所述圆柱形腔体内设置有一根弹簧41,该弹簧41的两端分别顶在端盖40与联动轴柱39上,所述定位连杆30的端部固定安装在联动滑块38的侧面上。
所述驱动箱24中部的两侧内壁上分别焊接固定有用于放置薄膜辊的U型卡槽42,所述驱动箱24的底部贯通开设有供薄膜通过的槽口43,槽口43的上方安装有可以与驱动箱24的内壁处转动连接配合的薄膜导向辊44。所述打孔箱5的下方安装有用于覆土压住薄膜边的覆土盘45。所述驱动箱24底部的两侧垂直焊接固定有成垄板241。
由于采用了以上技术方案,本发明具有以下有益效果:结构简单,能够实现栽培种植过程中旋耕、施肥、起垄、覆膜和镇压以及膜上打孔的一系列的配套作业,大大的提高了整体的自动化程度,降低了工业大麻种植的劳动强度。
附图说明
为了更清楚地说明本发明实施例或现有技术中的技术方案,下面将对实施例或现有技术描述中所需要使用的附图作简单地介绍,显而易见地,下面描述中的附图仅仅是本发明的一些实施例,对于本领域普通技术人员来讲,在不付出创造性劳动性的前提下,还可以根据这些附图获得其他的附图。
图1是本发明的结构示意图;
图2是打孔箱与驱动箱部分的俯视图;
图3是盖板的结构示意图;
图4是打孔箱与驱动箱部分的结构示意图。
具体实施方式
为了使本发明实现的技术手段、创作特征、达成目的与功效易于明白了解,下面将结合本发明实施例中的附图,对本发明实施例中的技术方案进行清楚、完整地描述。
参看图1-4,本具体实施方式是采用以下技术方案予以实现,它包含常规设置的机架1,该机架1上常规布置有旋耕设备2和施肥箱3以及位于机架1两侧的起垄铧4,所述的机架1尾部安装有镇压覆膜总成和打孔总成;
所述的打孔总成包含一个打孔箱5,该打孔箱5整体为一侧设置有开口的箱形结构,所述打孔箱5的开口侧设置有与其盖扣配合的盖板6,该盖板6的外侧面处安装有驱动电机,所述驱动电机的输出轴端延伸至打孔箱5内与第一定位圈7固定连接,该第一定位圈7的外圆面处安装有可以与其转动连接配合的第二定位圈8,所述第二定位圈8的外圆面处设置有可以与其转动连接配合的第三定位圈9,该第三定位圈9的端部垂直焊接固定在盖板6的内侧面处,所述第一定位圈7的端面上径向固定安装有拨杆10,所述第二定位圈8的外圆面处径向固定安装有驱动杆11,该驱动杆11的中部垂直焊接固定有可以与拨杆10接触的驱动轴杆12,所述驱动杆11的端部固定安装有与其转动连接配合的驱动连杆13,该驱动连杆13的端部安装有与其转动连接配合的打孔轴杆14,该打孔轴杆14的下端延伸至弹簧盒15内与定位板16的上顶面处固定连接成一体,该定位板16下底面处的中部焊接固定有数根等距排列的打孔杆17,所述弹簧盒15的顶部固定安装有连接板18,该连接板18的端部固定安装在盖板6的内侧面处,所述弹簧盒15内设置有套设在打孔轴杆14上的弹簧19,该弹簧19的上下两端分别顶在连接板18与定位板16之间;
所述镇压覆膜总成包含一根通过联轴器与驱动电机输出轴端对接的第一传动轴
20,该第一传动轴20上安装有主动齿轮21,所述第一传动轴20通过轴承座与打孔箱5的内壁转动连接配合,所述主动齿轮21的一侧设置有与其啮合配合的从动齿轮22,该从动齿轮22上固定安装有驱动轴23,该驱动轴23的端部穿过与其转动连接配合的打孔箱5延伸至驱动箱24内并通过轴承座与驱动箱24的内壁转动连接配合,所述的驱动箱24安装在打孔箱5的一侧;所述的驱动箱24整体为与打孔箱5相对一侧的侧面处设置有开口的箱体结构,该打孔箱5的开口侧设置有与其开合配合的门板25,所述驱动箱24的底部设置有振动台26,该振动台26上顶面处的中部安装有震动电机27,所述振动台26的四角处分别安装有连接弹簧28,该连接弹簧28的上端固定安装在底板29上,所述底板29的上顶面处焊接固定有定位连杆30,该定位连杆30的上端延伸至驱动箱24内与驱动装置对接,所述驱动箱24的下底面处开设有一条与定位连杆30间隙滑动配合的导向滑槽。
所述的驱动装置包含一个位于驱动箱24顶部的驱动辊31,该驱动辊31的两端分别向外轴向延伸出与其同心的从动轴32,所述从动轴32的端部通过轴承座与驱动箱24的内壁处转动连接配合,其中一个从动轴32上固定安装有从动蜗杆33,该从动蜗杆33的下方是与其啮合配合的主动蜗杆34,所述主动蜗杆34固定安装在驱动轴23上;
所述驱动辊31的外圆面上开设有闭合的导向定位槽35,该导向定位槽35整体为之字形布置,所述驱动辊31的一侧设置有联动装置,该联动装置包含一个联动滑槽36,所述联动滑槽36的两端分别垂直固定在驱动箱24的内壁上,该联动滑槽36内设置有可以沿其长度方向间隙滑动配合的联动滑轨37,该联动滑轨37的上方穿过联动滑槽36与联动滑块38固定连接成一个整体,所述联动滑块38的上方贯通开设有一个圆柱形腔体,该圆柱形腔体内设置有一根可以与其间隙滑动配合的联动轴柱39,所述联动轴柱39的端部延伸出圆柱形腔体可以与导向定位槽35间隙滑动配合,所述圆柱形腔体与联动轴柱39相对一端的端部设置有与其旋接配合的端盖40,所述圆柱形腔体内设置有一根弹簧41,该弹簧41的两端分别顶在端盖40与联动轴柱39上,所述定位连杆30的端部固定安装在联动滑块38的侧面上。
所述驱动箱24中部的两侧内壁上分别焊接固定有用于放置薄膜辊的U型卡槽42,所述驱动箱24的底部贯通开设有供薄膜通过的槽口43,槽口43的上方安装有可以与驱动箱24的内壁处转动连接配合的薄膜导向辊44。
所述打孔箱5的下方安装有用于覆土压住薄膜边的覆土盘45。
所述驱动箱24底部的两侧垂直焊接固定有成垄板241。
下面结合附图对本具体实施方式中技术方案部分的使用方法及其原理作进一步的阐述:
首先将机架1与拖拉机对接,然后将拖拉机的输出轴与旋耕设备2的动力输入轴通过联轴器对接,最后启动驱动电机并打开施肥箱3并将薄膜辊的两端分别放置在对应的U型卡槽42内;
拖拉机在拖动机架1的过程中旋耕设备2首先会将土壤打碎,在打碎土壤的过程中施肥箱3中释放的肥料会被混合在破碎的土壤中,起垄铧4则将破碎的土壤聚拢成型,再经过成垄板241和镇压覆膜总成最终镇压覆垄成型;启动驱动电机后,驱动电机的动力输出轴端在带动第一定位圈7和第一传动轴20转动;
第一定位圈7在转动的过程中通过拨杆10拨动驱动轴杆12,利用驱动杆11带动第二定位圈8转动,第二定位圈8在转动的过程中通过驱动杆11利用驱动连杆13带动打孔轴杆14作上下往复移动,打孔轴杆14在上升的过程中通过定位板16压缩弹簧19,当拨杆10的端部移动至最顶端后,驱动轴杆12便脱离与拨杆10的接触,此时在弹簧19的复位作用下通过打孔杆17即可实现打出种孔的目的;
第一传动轴20在转动的过程中通过主动齿轮21和从动齿轮22带动驱动轴23转动,驱动轴23在转动的过程中通过主动蜗杆34和从动蜗杆33带动从动轴32转动,从动轴32在转动的过程中带动驱动辊31转动,驱动辊31在转动的过程中联动轴柱39始终沿着导向定位槽35的方向移动,并通过联动轴柱39带动联动滑块38沿着联动滑槽36的长度方向来回往复移动,联动滑块38在来回往复移动的过程中通过定位连杆30带动底板29与震动电机27共同来回往复移动,从而实现镇压的目的;
拖拉机在拖动机架1的过程中,薄膜辊上的薄膜经过薄膜导向辊44和槽口43利用振动台26直接贴合在土垄上,最后经过覆土盘45将外侧边的土壤划至薄膜的侧边处,即可实现覆膜并固定的目的;最终在薄膜上打好的种孔内投入经过筛选的大麻种子,并在种孔上覆盖一层浮土即可实现整个的播种目的。
最后应说明的是:以上实施例仅用以说明本发明的技术方案,而非对其限制;尽管参照前述实施例对本发明进行了详细的说明,本领域的普通技术人员应当理解,其依然可以对前述各实施例所记载的技术方案进行修改,或者对其中部分技术特征进行等同替换;
而这些修改或者替换,并不使相应技术方案的本质脱离本发明各实施例技术方案的精神和范围。
图1
图2
图3
图4
摘自国家发明专利,发明人:王晓慧,吴兴宏,胡楠,赵世坤,杨桐珲,申请号202010319176.9,申请日2020.04.21




